Прогресс техники и науки в строительстве в XXI веке
Начало XXI века ознаменовано интенсивным развитием строительно-технологических систем и внедрением эффективных инновационных технологий при строительстве и реконструкции зданий и сооружений. Под строительной технологической системой следует понимать совокупность взаимосвязанных элементов инженерной системы, объединенных единым конструктивно-технологическим решением, направленным на повышение качества, надежности, долговечности и эффективности строительства.
В современных условиях технология (techno – искусство, мастерство, logos – мысль, слово) есть способ взаимодействия функционирующих систем, образующих простые и комплексные процессы, определяющим фактором которых является степень потенциала инженерного интеллекта, интеллектуального уровня развития строительной отрасли, наличие инновационных технологий и элементов нанотехнологий.
Концепция развития и самосовершествования технологии строительного производства состоит в комплексном единстве составляющих элементов системы: строительные материалы, строительные конструкции, методы и способы производства работ, организация, планирование и управление производством, контроль качества СМР, которые тесным образом взаимосвязаны между собой. При возведении здания или сооружения реализуются наиболее оптимальные технологии, образуя саморегулируемые (эргатические) системы, которые непрерывно развиваются.
Таким образом, функциональные системы состоят из элементов (структурных блоков, n), таких как: строительные материалы, конструкции, машины и оборудования, методы организации работ. Строительно-технологическая система может иметь несколько уровней развития. Переход на более высокий уровень технологии может происходить при инновационном прорыве в одном или нескольких факторах технологической цепочки, когда количество переходит в новое качество. Тогда появляется новая, более развитая система нового уровня. Динамичное развитие и появление новых инженерных идей, модернизация строительства, внедрение инноваций и нанотехнологий способствует прогрессу в области строительства и совершенствованию качества во всех элементах и звеньях технологической цепи.
Схематическое изображение «концептуального моста» между системным уровнем технологии строительного производства и элементами строительно-технологических систем по методике академика Анохина А. П. изображено на рис. 1.1.

Рис. 1.1. Структура системного изображения различных уровней технологии строительного производства и элементов строительно-технологических систем
Из рис. 1.1 видно, что при динамическом развитии строительного производства оно из одного состояния качества переходит на новый более высокий интеллектуально развитый уровень качества.
Логистическое развитие функциональной системы предполагает соответствующую систему качества на каждом этапе жизненного цикла и дифференциальный критерий оценки качества строительно-монтажных работ.
О качестве технологии можно судить по критериям и значениям различных групп показателей: экологических, экономических, социальных, конструктивнотехнологических.
При этом строительная система постоянно изменяется, она может деградировать при определенных условиях и стремительно развиваться высокими темпами. При этом необходима диагностика качества технологии. Оценка «ЦЕНА = КАЧЕСТВО» помогает выявить уровень интеллектуального потенциала и прогнозировать необходимые и достаточные условия дальнейшего развития строительной системы.
Ввод в 1986 году в Японии строительного завода-автомата доказал, что не интенсивный труд рабочих, а потенциал интеллекта специалистов, реализованный в инновационные технологии, является главным источником научно-технического прогресса. Именно с этого этапа начинается в мире технологический бум, а практические науки востребованы сейчас, как никогда. Особенное внимание привлекают инновационные технологии будущего.
Новые технологические идеи, воплощенные в прогрессивные строительные системы, уже качественно отличаются от прежних тем, что они ориентированы, наконец, на человека, на создание комфортных условий работы и проживания в новостройках. Технолог-строитель активно участвует в создании нанотехнологий и нововведений нового поколения строительной продукции. Появились признаки оздоровления строительной отрасли после введения системы саморегулирования.
Приоритетными направлениями в строительстве остаются: снижение тяжелых трудоемких операций, механизация, комплексная механизация и автоматизация строительного производства, контроль качества СМР, жизнеобеспечение, экологические вопросы.
Ресурсосбережение есть основополагающая идея формирования новых технологий. Но эта экономия ресурсов не должна идти в ущерб надежности, качеству, долговечности конструкций.
Анализ современных технологических задач позволил сформулировать два принципа функционирования строительных технологических систем.
? Любая технология строительного производства есть материализованный потенциал интеллектуального развития отрасли и для каждой технологии строительства характерен свой способ перехода в новое качественное состояние.
? Каждая технология имеет свой жизненный цикл функционирования, определяемый величиной интеллектуального развития строительной отрасли.
При общей постановке вопроса все строительные процессы можно классифицировать по 4 классам строительных технологий (табл. 1.1).
Таблица 1.1. Классы строительных технологий


Технология является процессом и протекает во времени. Она содержит большое множество элементарных технологических процессов, из которых складываются сложные процессы и комбинированные технологические системы, включающие новые инновационные преобразования (механические, физические, химические, биологические, плазменные, лазерные и др.).
Рассмотрим на различных примерах инновационные преобразования технологий строительного производства.
Пример 1. Влияние +магнитной обработки воды на свойства цементных растворов и бетонов.
Вода является активным участником большинства технологических процессов, в том числе при изготовлении различных искусственных камневидных материалов.
Известно, что электромагнитная обработка воды ускоряет процесс твердения бетонной смеси и повышает прочность бетона и других строительных материалов. Изменение структуры и свойств воды достигается с помощью механических воздействий, электрическим током, нагревом в автоклаве, высокочастотным полем, ультразвуком и т. д. В процессе многочисленных исследований обнаружено, что наиболее эффективные и структурные изменения воды происходят под воздействием электромагнитного поля. Магнитная обработка воды предусматривает протекание ее через одно или несколько магнитных полей. На неподвижную воду магнитные поля действуют гораздо слабее, поскольку обрабатываемая вода всегда обладает некоторой электропроводностью, при ее перемещении в магнитных полях возбуждается небольшой электрический ток. То есть имеет место не магнитная, а электромагнитная обработка водной системы. Это очень важный момент с точки зрения направленного регулирования свойств воды, в том числе повышения активных (реакционных) ее свойств и стабилизации этого эффекта.
Положительного эффекта можно добиться путем введения некоторых поверхностно активных добавок в воду до ее омагничивания. Магнитная обработка воды затворения цементных смесей приводит к положительным результатам по многим свойствам: увеличивает прочность, плотность, морозостойкость, снижает пористость, водопоглощение, повышает удобоукладываемость бетонной смеси и т. д.
Магнитную обработку воды можно проводить магнитами постоянного поля и электромагнитами. Напряженность поля в различных условиях может изменяться от 40103 до 70103 А/м, при этом определяющим фактором является химический состав воды и цемента.
Твердение цементных смесей различного состава значительно ускоряется в первые 7 дней и продолжает интенсивно нарастать в дальнейшие сроки при нормальных условиях и при пропаривании смеси с введением добавок-стабилизаторов эффекта (ЗШ (зольный шлам) и СДБ (сульфитно-дрожже-бражка)) до ее магнитной обработки, в результате чего наблюдалось постоянное увеличение прочности, повышение плотности, водонепроницаемости и морозостойкости бетона. Данные лаборатории говорят о том, что введение в воду до ее омагничивания добавок СДБ и ЗШ приводит к повышению прочности бетона при естественном твердении на 17–29 % и имеется возможность получения бетона марки 500 с расходом цемента до 500 кг/м3 бетона.
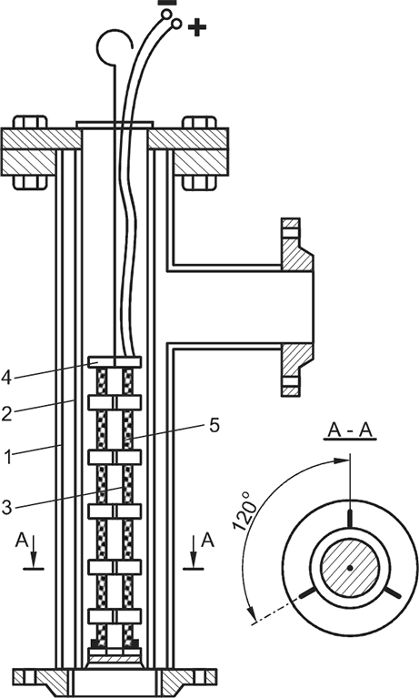
Схема аппарата омагничивания воды для лабораторных и производственных условий представлена на рис. 1.2. Он состоит из наружного стального магнитопровода, изготовленного из трубы толщиной 2–2,5 мм, и снабжен тремя фланцами. Два фланца служат для присоединения корпуса к питательному трубопроводу, а третий фланец – для крепления с фланцем кожуха, изготовленного из немагнитного материала. Кожухом 2 является медная труба, закрытая приваренным донышком. Три небольших скошенных ребра служат для центрирования внутреннего кожуха в стальном магнитопроводе 1. Внутрь кожуха 2 вставляется железный сердечник 3 с намотанными катушками 5 на впадинах сердечника. Соединение катушек производится через шлицы в полюсных наконечниках 4.
Схема технологического процесса омагничивания воды с добавкой-стабилизатором эффекта с подключенным магнитным аппаратом представлена на рис. 1.3. Рассмотренный способ позволяет не только улучшить свойства бетона для железобетонных труб (прочность, водонепроницаемость, структура и др.), но и экономить цемент, как минимум, 50 кг на куб. метр бетона.

Рис. 1.2. Схема 6-катушечного электромагнитного аппарата: 1 – стальной магнитопровод; 2 – кожух; 3 – железный сердечник; 4 – полюсный наконечник; 5 – катушка

Рис. 1.3. Технологическая схема приготовления бетонной смеси на омагниченной воде с добавкой-стабилизатором: 1 – расходная емкость воды; 2 – расходная емкость добавки; 3 – дозатор воды; 4 – дозатор добавки; 5 – магнитный аппарат; 6 – бетоносмеситель
Пример 2. Приготовление бетонной смеси на воде затворения, предварительно обработанной электрическим полем.
Технология приготовления строительных смесей (цементной, растворной и бетонной) с использованием воды затворения, предварительно обработанной электрическим полем, позволяет повысить интенсивность технологического процесса приготовления смесей и получения бетонов и растворов с улучшенными свойствами (повышение качества и прочности, подвижности смеси, морозостойкости, снижения сроков распалубки конструкций и др.).
Активация воды затворения электрическим полем растворимых электродов позволяет автоматизировать весь процесс приготовления бетонной смеси.
Включенная в технологическую схему приготовления бетонной смеси (рис. 1.4) установка по электрообработке воды затворения 8 снабжена микропроцессором, который регулирует параметры напряженности электрического поля и продолжительность обработки воды в зависимости от параметров бетонной смеси на выходе бетонно-смесительного узла, позволяет получать бетонную смесь улучшенных качеств. Установка по обработке воды является компактной (что важно в построечных условиях монолитного строительства, где отсутствуют свободные строительные объемы), отличается высокой эксплуатационной пригодностью, в том числе ремонтопригодностью, удобна в управлении и обслуживании. Процесс обработки воды легко автоматизируется, а сама установка является экологически безопасной, т. к. не требует применения реагентов.

Рис. 1.4. Технологическая схема приготовления бетонной смеси на электрообработанной воде затворения: (автор А. Ф. Юдина, профессор СПбГАСУ): 1, 2, 3 – заполнители и цемент; 4, 5, 6 и 7 – дозаторы цемента, заполнителей и воды; 8 – установка для обработки воды; 9, 10 – задвижки; 11 – насос; 12 – накопитель воды; 13 – сборная воронка; 14 – бетоносмеситель; 15 – раздаточный бункер; М.п. – микропроцессор
Производственные испытания подтвердили эффективность использования обработки воды затворения электрическим полем растворимых электродов с последующим приготовлением на ней строительных смесей.
Пример 3. Электродный прогрев бетона.
Электродный прогрев бетона бывает нескольких видов. Для прохождения тока используют пластинчатые полосовые или стержневые электроды.
Чаще всего бетон подогревают металлическими стержневыми электродами, которые закладывают в него параллельными рядами. Соседние или противостоящие электроды соединяют с проводами разных фаз переменного электротока пониженного или повышенного (120–220 В) напряжения. При этом между электродами образуется электрическое поле, где электрическая энергия превращается в тепловую, прогревающую бетон.
Электроток включают через 1,5–2 ч после укладки бетона, имеющего температуру не ниже 5 °С. Повышение или понижение температуры прогреваемого бетона регулируют изменением напряжения тока или отключением части электродов. Предварительный электроразогрев готовой бетонной смеси проводят в бункерах или в специальных устройствах при значительных затратах электроэнергии (40–60 кВт • ч/м) до требуемой температуры 60–80 °С за 5—20 мин. Горячую бетонную смесь быстро укладывают, а затем выдерживают термосным способом. Без дальнейшего дополнительного обогрева бетон приобретает прочность около 50 % марочной.
Бетонирование горячими смесями сокращает продолжительность тепловой обработки конструкций или изделий за счет предварительной гидратации и повышенного тепловыделения цемента после его электрообработки.
Один из серьезных недостатков применения горячих смесей в технологии бетона – это образование мелких пузырьков воздуха и водяных паров в бетоне, уменьшения которых можно добиться, уплотняя укладываемую горячую смесь вибраторами, которые способствуют удалению из нее расширяющихся пузырьков воздуха и пара. Ликвидировать появление трещин в бетоне при укладке горячей смеси очень трудно, вследствие различных коэффициентов линейного теплового расширения отдельных неоднородных компонентов смеси (цемента, песка, щебня, гравия, воды, воздуха и добавок).
Термоэлектрические маты (ТЭМ) используют на стройплощадках и полигонах для прогрева бетона, каменной кладки, мерзлого грунта, укрытия, а также обогрева на открытых площадках материалов, механизмов, грузовых контейнеров и другого оборудования в зимних условиях. Кроме того, с помощью ТЭМ можно предварительно отогревать опалубку, арматуру, промерзший грунт и другие места перед укладкой строительных растворов и бетонов. Подлежащие обогреву конструкции и изделия или оборудование укрывают ТЭМ и в изолированном таким образом от внешней среды пространстве поддерживают заданный температурный режим.
Термоэлектрический мат – гибкое обогревательное устройство в виде греющего одеяла, состоящее из внешней оболочки, теплоизоляционного слоя и нагревательного элемента. Внешнюю оболочку ТЭМ выполняют из синтетических пленок (полиамидной, фторопластовой), резины или спецтканей (ткань-500, авиационный повинол на стеклоткани, ткань АХКР и др.). В большей степени основным требованиям отвечает прорезиненная ткань АХКР с двусторонней пропиткой (0,5 кг/м2), температуростойкостью от –70 до 120 °С.
Теплоизоляционный слой выполняют из трех чередующихся слоев капронированного волокна ВТ-4С-25 и двух слоев алюминиевой фольги. В качестве тепловой изоляции в ТЭМ могут быть использованы маты типа АСИМ, АТИМС, минеральный утеплитель ATM 1-20, хлопчатобумажный ватин, пропитанный огнезащитным составом, и др.
Нагревательный элемент изготовляют из асбестовой ткани, пронизанной нихромовой проволокой (10 нагревателей из проволоки диаметром 0,8 мм длиной 11 м каждая).
Более 800 000 книг и аудиокниг! 📚
Получи 2 месяца Литрес Подписки в подарок и наслаждайся неограниченным чтением
ПОЛУЧИТЬ ПОДАРОКДанный текст является ознакомительным фрагментом.