2.2. Технология выполнения монтажных заготовок
Технология производства на заготовительных предприятиях основана на операционном, поточно-операционном, агрегатном и конвейерном методах.
При операционном методе изделия или их отдельные части (узлы, детали) обрабатывают на станках, механизмах и другом оборудовании раздельно по операциям (перерезка и изгибание труб, нарезка резьбы, сварка и т. п.). Рабочий, как правило, выполняет не одну, а несколько операций, переходя обрабатываемой деталью от одного станка или механизма к другому.
При поточно-операционном методе операции по обработке деталей выполняются в определенной последовательности.
Рабочий выполняет одну или две-три последовательные операции, не меняя рабочего места, а затем изделие или деталь (в тележке, контейнере) передается им самим или вспомогательными рабочими для выполнения следующей операции.
Агрегатный метод целесообразно применять при изготовлении типовых монтажных узлов и деталей санитарно-технических систем из стальных труб, главным образом для жилищного строительства, где эти узлы и детали многократно повторяются. Агрегат (или короткая поточная линия) оборудуется и настраивается только для одного вида изделия – этажестояка, нижнего спуска стояка отопления и т. п. Такой агрегат обслуживают один-два рабочих, часть выполняемых на агрегате операций может быть автоматизирована.
При конвейерном методе обрабатываемое изделие движется на конвейере от одной операции к другой; рабочие места постоянны и строго фиксированы. Движение конвейера может быть непрерывным с заданной скоростью (до 0,3 м/мин) или пульсирующим, когда движение чередуется с паузами, во время которых на станках и механизмах, установленных у конвейера, рабочие выполняют операции по обработке изделия или его деталей. При непрерывном движении конвейера через каждые 2 ч его останавливают для отдыха рабочих.
При изготовлении трубных заготовок из труб диаметром до 50 мм принимают следующую последовательность производственных операций: разметка труб по монтажным чертежам или эскизам с натуры; перерезка труб; раззенковка; нарезание или накатывание короткой и длинной резьбы; гибка труб; комплектование заготовительных трубных деталей соединительными частями и арматурой; сборка трубных узлов на резьбе или на сварке; испытание на плотность и упаковка в транспортабельные пакеты или в контейнеры.
Для выполнения этих операций трубозаготовительный цех оборудован необходимыми станками, приспособлениями и инвентарем: отрезными, нарезными и гибочными станками, разметочными и сборочными верстаками, стеллажами для труб, стендами для испытания заготовленных узлов, сварочными аппаратами, механизированным горизонтальным и вертикальным транспортом, конвейерами для перемещения трубных заготовок.
Начинается операция по заготовке труб с разметки. Применяют два способа разметки труб. При первом способе рабочий размечает детали разных диаметров по каждому эскизу в отдельности. При втором способе слесарь одновременно размечает по нескольким эскизам детали одинакового диаметра труб, затем следующего диаметра и т. д. Это уменьшает количество отходов и ускоряет работу, так как освобождает рабочего от необходимости брать со стеллажа для каждого отдельного эскиза трубы разных диаметров. От выбранного способа разметки зависит дальнейший технологический процесс заготовки трубопровода.
Заготовку трубопровода для санитарно-технических систем ведут по поточно-операционному методу с применением конвейеров. Обрабатываемая деталь передается конвейером от операции к операции, начиная с перерезки труб и заканчивая сборкой в узел.
Процесс изготовления узлов осуществляется следующим образом. Трубы со склада подаются в цех и укладываются на стеллаж-бункер суточного запаса. Трубы из бункера в соответствии с замерным эскизом поступают на разметочный стол трубоотрезного станка, где рабочий отмечает место перерезания трубы. После этого слесарь включает трубоотрезный станок и перерезает трубы на весь комплект заготовок по данному эскизу. На конце труб он наносит условный знак – требуемый вид обработки – и сбрасывает их в желоб трубоотрезного станка. Затем комплект труб вместе с эскизом сбрасывают в ячейку конвейера, который все время движется и доставляет детали к трубонарезным станкам. После нарезки трубы конвейером подаются к трубогибочным станкам. На одном из них изгибают трубы диаметром до 25 мм, а на другом – диаметром до 50 мм. Далее заготовки собирают в монтажные узлы согласно эскизам, навертывают на трубы фасонные части, а также арматуру.
Собранные узлы трубопроводов конвейером доставляются к месту опрессовки их сжатым воздухом на герметичность в ванне с водой. После опрессовки узлы поступают на верстак для комплектования, при котором проверяют соответствие эскизу деталей узла, добавляют необходимые стандартные детали (например, сгоны) и комплектуют этажестояк. Проверенные и скомплектованные детали связывают проволокой в пакет, привязывают к нему металлическую бирку с шифром этажестояка, а затем электрической талью по монорельсу направляют на склад готовой продукции.
При изготовлении сварных узлов детали трубопровода снимают с конвейера и помещают на секционный стеллаж, откуда подают к сверлильному станку, где сверлят отверстия для приварки муфт. От сверлильного станка детали подают в кабину сварщика для приварки муфт. После сварки детали передают для навертывания арматуры, а затем на конвейеры для опрессовки.
В отделение комплектации радиаторы доставляют в контейнерах на тележке для перегруппировки их на механизме ВМС-111М, затем их спрессовывают и укладывают в контейнер готовой продукции.
Трубы и фасонные части завозят в цехи по обработке чугунных канализационных труб и укладывают в стеллажи. Отсюда трубы поступают на разметочные верстаки для разметки по эскизу, а затем к станкам для перерезки и перерубки. После этого заготовленные детали труб и фасонные части на сборочных верстаках по эскизам собирают в узлы и заделывают раструбы.
После необходимой выдержки узлы укладывают на стеллажи, откуда направляют на склад готовой продукции. Такой же технологический процесс заготовки трубопровода применяют в случае отсутствия конвейера, но при этом детали передают от операции к операции специальными тележками, передвигаемыми вручную, или посредством подвесных корзин, перемещаемых электрической талью по монорельсу.
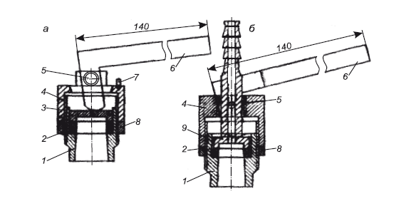
Чтобы определить неплотность в соединениях, собранные детали и узлы или линии трубопровода испытывают воздухом в ванне, наполненной водой. Для этой цели концы заготовки закрывают заглушками, из которых одна глухая (рис. 2.1, а), а вторая сквозная (рис. 2.1, б) с отверстием для подачи воздуха от компрессора. Заглушенную деталь опускают в ванну с водой, после чего открывают кран на воздушном шланге, соединенном с компрессором. Появившиеся воздушные пузырьки указывают места неплотного соединения деталей. Закрытие концов деталей заглушками с резьбой отнимает много времени. Более удобными являются быстросменные эксцентриковые заглушки. Их свободно надевают на конец трубы и закрывают, просто нажимая на эксцентриковую ручку.

Рис. 2.1. Эксцентриковые заглушки: а – глухая; сквозная; 1 – корпус; 2 – резиновое кольцо; 3 – упорный поршень; 4 – крышка; 5 – ось; 6 – эксцентриковая ручка; 7 – упор; 8 – контргайка; 9 – штуцер
Детали и узлы санитарно-технических систем должны быть испытаны на месте их изготовления:
? детали и узлы трубопроводов систем отопления – гидравлическим давлением 0,8 МПа или пневматическим давлением 0,15 МПа;
? детали и узлы трубопроводов систем холодного и горячего водоснабжения – гидравлическим давлением 1МПа или пневматическим давлением 0,15 МПа, смывные и переливные трубы – гидравлическим давлением 0,2 МПа или пневматическим 0,15 МПа;
? детали и узлы стальных трубопроводов, предназначенные для заделки в отопительные панели, – гидравлическим давлением 1 МПа.
Продолжительность гидравлического или пневматического испытания деталей и узлов трубопроводов – 1–2 мин. Обнаруженные при испытаниях неплотности трубопроводов должны быть устранены. В трубозаготовительном цехе чугунных трубопроводов собирают монтажные узлы систем хозяйственнофекальной и ливневой канализации.
Технологический процесс в цехе организуется по поточнооперационному методу в такой последовательности: размечают трубы и фасонные части на верстаке: перерубают трубы и фасонные части на специальном механизме; собирают узлы на стенде-карусели; заделывают раструбные стыки, кроме монтажных. Монтажные узлы укомплектовывают средствами крепления и задвижками, если они предусмотрены по проекту. В этом же цехе (обособленном помещении) заготовляют пластмассовые трубопроводы для систем канализации и водостоков.
Приступая впервые к выполнению работы на монтажном заводе, молодой рабочий должен получить от мастера подробные указания о правилах и приемах безопасного ее выполнения. Работать можно только на исправных станках и механизмах. Все вращающиеся части станка и механизма – зубчатые колеса, шкивы, ременные передачи – должны иметь прочно укрепленное ограждение. Нельзя надевать и переводить на ходу приводные ремни и касаться вращающихся частей, так как при этом можно получить ранение. Рабочий инструмент и обрабатываемые детали нужно максимально прочно закреплять на станке до его пуска. Менять рабочий инструмент, устанавливать и укреплять обрабатываемые детали, чистить и смазывать станок, убирать стружку и опилки можно только после остановки станка. Нельзя передавать или принимать инструмент или заготовку через станок во время его работы. Станки и электрооборудование должны иметь защитное заземление. У рубильников для пуска электродвигателей станков и механизмов не должно быть оголенных проводов, они должны быть защищены кожухами и заземлены. При прекращении работы станок следует остановить, рубильник выключить, а рабочий инструмент отвести от обрабатываемой детали.
Более 800 000 книг и аудиокниг! 📚
Получи 2 месяца Литрес Подписки в подарок и наслаждайся неограниченным чтением
ПОЛУЧИТЬ ПОДАРОКДанный текст является ознакомительным фрагментом.