3.3. Способы склеивания стальных труб
Применение новых клеевых соединений при монтаже стальных трубопроводов позволяет по сравнению со сварными, фланцевыми и резьбовыми обеспечивать не только требуемую прочность и плотность, но и противокоррозионную защиту стыков соединяемых труб, в том числе имеющих коррозионно-стойкие покрытия – оцинкованные, эмалированные, алюминированные и т. п. Такие соединения получили в последнее время применение при монтаже трубопроводов наружным диаметром до 133 мм, работающих при давлении до 1 МПа, рабочей температуре 60–90 °C и предназначенных для транспортирования различных сред, к которым при указанных рабочих параметрах химически стойки эпоксидные клеи или стеклопластик на эпоксидной основе.
Клеевые соединения подразделяются на три типа: бандажные, раструбные (муфтовые) и клеемеханические.
Соединения бандажного типа устраивают методом многослойной намотки на концы стыкуемых труб ленты из конструкционной стеклоткани с нанесенным на нее слоем эпоксидного клея. После холодного или горячего отверждения клея на месте стыка образуется монолитный стеклотекстолитовый бандаж с высокими упругомеханическими и прочностными характеристиками, имеющий прочную адгезионную связь с поверхностями труб, что обеспечивает надежное и герметичное их соединение.
Раструбные (муфтовые) соединения устраивают методом нанесения клея на наружную поверхность конца трубы и внутреннюю поверхность раструба (муфты), последующих ввода конца трубы в раструб или надвижки муфты на концы стыкуемых труб и отверждения клея.
Клеемеханические соединения идентичны раструбным (муфтовым). Отличие их состоит в фиксации клеевого соединения трехточечным обжатием по периметру раструба или муфты, за счет чего обеспечивается механический контакт сопрягаемых поверхностей.
Исходя из условий монтажа и эксплуатации трубопроводов, клеи должны быть технологичными, обеспечивать достаточную жизнеспособность при нормальных температурах, высокую адгезию и когезию, длительную работоспособность при воздействии рабочих параметров транспортируемых веществ, климатических факторов, отверждаться при нормальной температуре и небольших удельных давлениях.
Подготовительные работы при склеивании трубопроводов включают разрезку конструкционной стеклоткани на ленты требуемых размеров (при отсутствии тканых лент); приготовление и расфасовку компаундов и отвердителя; изготовление навивных каркасов для бандажных соединений (при необходимости); изготовление муфт и раструбов. Работы осуществляют в отдельных, оборудованных для этих целей помещениях.
Ширина ленты из стеклоткани, равная 2L (L – величина нахлестки), для бандажных соединений определяется наружным диаметром склеиваемых труб: 2L = (1,2… 1,3) DH; для клеевых соединений бандажного типа с навивным каркасом ширина ленты принимается 30–40 мм. Минимальную длину ленты для одного стыка принимают в зависимости от наружного диаметра склеиваемых труб из расчета не менее шести слоев в намотке: / = (6,2…6,3)?DH. Для удобства хранения и последующего использования лент их сматывают в рулончики или на бобины и хранят в закрытых полиэтиленовых пакетах.
Клеевые составы поставляют на монтажную площадку в виде двухкомпонентной системы – компаунда и отвердителя (полиамидная смола или полиэтиленполиамин). При приготовлении компаундов необходимо тщательное перемешивание (ручным способом или в клеемешалках с электроприводом) компонентов в такой последовательности: для состава I – эпоксидная смола ЭД-20, дибутилфталат, алюминиевая пудра; для состава II – смола ЭД-20, алюминиевая пудра; для состава III – смола ЭД-20, дибутилфталат, портландцемент; для состава IV – смола ЭД-20, асбест, кварц молотый (или двуокись титана, или окись хрома).
Емкость должна быть рассчитана на предстоящий объем работ, соответствующий количеству готовых клеевых составов, жизнеспособность которых при температуре 15–20 °C – 45–60 мин. Срок хранения компаундов устанавливается исходя из наименьшего гарантийного срока хранения входящих в них компонентов.
Навивной каркас (вставку) в виде проволочной спирали (пружины) для клеевых соединений бандажного типа изготовляют из стальной проволоки диаметром 1–1,5 мм. Внутренний диаметр пружины должен соответствовать наружному диаметру соединяемых труб. Для труб, имеющих защитные покрытия, рекомендуется использовать оцинкованную или алюминиевую проволоку.
Клеевые соединения бандажного типа (рис. 3.6). Перед склеиванием необходимо обеспечить правильное фиксированное взаимное расположение стыкуемых труб на весь период работ, включая время на отверждение клея; свободный доступ к стыкам труб для осуществления технологического процесса склеивания. Величины допускаемых зазоров и смещений кромок принимают в соответствии с требованиями нормативной документации на сборку под сварку.
Фиксацию стыков обеспечивают сварной прихваткой в двух точках по окружности трубы; применением различных центрирующих устройств и приспособлений в виде струбцин с призмами; традиционными средствами с помощью опор и подвесок.

Рис. 3.6. Клеевое соединение труб бандажного типа:1 – концы склеиваемых труб; 2 – клей; 3 – стеклоткань
Склеивание стыков труб производят при температуре окружающего воздуха не ниже 5 °C. При низких температурах окружающего воздуха склеивание осуществляют в утепленных укрытиях или с обогревом стыков. При работе на открытом воздухе место склеивания необходимо защищать от атмосферных осадков.
После фиксации концов труб их наружные поверхности зачищают на ширину нахлестки, т. е. наружным диаметром не менее 0,7 мм (степень очистки вторая по ГОСТу), и обезжиривают ацетоном или бензином-растворителем. Клеевые составы приготовляют непосредственно на монтажной площадке, смешивая компаунд и отвердитель, при этом смешивание осуществляют в емкости, в которой находится компаунд.
Готовый клеевой состав должен быть израсходован до потери им жизнеспособности, т. е. за 45–60 мин.
Нанесение клея на стеклоленты осуществляют на ровной плоскости, покрытой полиэтиленовой пленкой, на которую предварительно наносят шпателем полосу клея шириной, равной ширине ленты. По нанесенной полосе клея раскатывают ленту из рулона, затем клей наносят на поверхность ленты тонким (не более 0,15 мм) слоем, прилагая к шпателю небольшое усилие, обеспечивающее внедрение клея в структуру стеклоткани. Клеевую полосу на полиэтиленовой пленке периодически восстанавливают. Расход клея должен составлять не более 300 г на 1 м2 стеклоткани.
Намотку на концы стыкуемых труб подготовленной ленты производят вручную в радиальном направлении с натягом и без перекосов. Середина ленты при этом располагается над местом стыка концов труб.
При холодном отверждении клеевых соединений их выдерживают в неподвижном положении до полного отверждения клея и набора им требуемой прочности в течение следующего времени: при температуре окружающего воздуха от 5 до 17 °C – 4 сут.; при температуре от 17 до 25 °C – 2 сут. Для осуществления процесса склеивания при невысоких положительных или отрицательных температурах, а также для ускорения отверждения клея и повышения прочностных свойств клеевых соединений их выдерживают при температуре 80 °C в течение 3 ч или при температуре 120 °C в течение 1–1,5 ч.
Горячее (с обогревом) отверждение осуществляют с помощью любых нагревателей: инфракрасных устройств, ламп накаливания, трубчатых электронагревателей, гибких ленточных нагревателей типа ЭНГЛ-180 (рис. 3.7) или с помощью специальных устройств, позволяющих поддерживать в клеевом соединении указанную выше температуру.

Рис. 3.7. Горячее отверждение клеевого соединения труб бандажного типа с помощью гибкого ленточного нагревателя типа ЭНГЛ-180:1 – концы труб; 2 – гибкий ленточный нагреватель; 3 – клеевое соединение; 4 – стеклолента для фиксации витков нагревателя на поверхности трубы; 5 – выводы электронагревателя
Бандажное клеевое соединение с навивным каркасом применяют для соединения монтажных стыков трубопроводов, имеющих зазор с превышением предельных отклонений, а также линейное или пространственное смещение осей труб (рис. 3.8). Оно может быть выполнено в виде линейной вставки, отвода, перехода и их сочетаний. Соединение указанного вида получают путем прикрепления к концам труб вставки в виде проволочной спирали, последующей намотки на концы труб и спираль ленты с нанесенным на нее слоем эпоксидного клея и его отверждения. Проволочную спираль размещают между торцами труб, затем концевые витки (по 2–3 витка с обеих сторон) надвигают на концы труб с обеспечением плотного контакта с их поверхностями. Для обеспечения электропроводности стыка концы крайних витков зачеканивают в тело труб. Расстояние между витками спирали в рабочем положении не должно превышать 1/5 ширины ленты. Намотку стеклолент производят вначале радиально по поверхности трубы в зоне до первого витка спирали, затем винтообразно по спирали и вновь радиально за последним витком спирали. Винтовую намотку производят с нахлестом. Величину перекрытия последующим витком ленты предыдущего принимают равной не менее 1/5 ширины ленты. Число проходов по всей длине соединения не менее 5.

Рис. 3.8. Клеевые соединения труб бандажного типа с навивным каркасом: а – в виде линейной вставки; б – при параллельном смещении осей соединяемых труб; в – в виде отвода; 1 – концы склеиваемых труб; 2 – бандаж; 3 – навивной каркас; 4 – зачеканка витка навивного каркаса в трубу
При транспортировании, погрузке и разгрузке склеенных трубных заготовок необходимо принимать меры, исключающие возможность их механического повреждения, появление недопустимых деформаций. Недопустимо сбрасывание склеенных трубных заготовок с транспортных средств и перемещение их волоком.
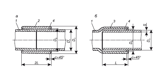
Раструбные (муфтовые) и клеемеханические соединения. Конструктивно-технологические параметры раструбных (муфтовых) клеевых соединений труб приведены на рис. 3.9. Детали соединений изготовляют из труб по ГОСТ 8732-78 и ГОСТ 8734-75. Раструбы получают с помощью станков «ПГ-100», «Восток Д45-325» или другого специализированного оборудования.

Рис. 3.9. Клеевые соединения труб муфтового (а) и раструбного (б) типов: 1 – концы склеиваемых труб; 2 – муфта; 3 – раструб; 4 – зазор для клея

Рис. 3.10. Клеемеханическое соединение труб: а – раструбное; б – муфтовое; 1 – концы склеиваемых труб; 2 – раструб (муфта); 3 – клей
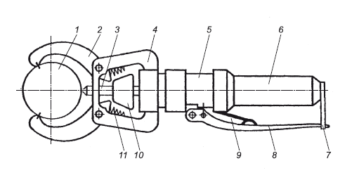
Получение требуемых размеров муфт достигается проточкой соответствующих патрубков на токарных станках. Длину нахлестки клеемеханических соединений (рис. 3.10) принимают из расчета L = (1,1–1,2)DH. Расход клея – 300–350 г/м2 склеиваемой поверхности. Соединение труб фиксируется в трех точках равномерно по периметру на расстоянии 10–15 мм от торца раструба (муфты) с помощью обжимного устройства (рис. 3.11). Зазор между наружной поверхностью трубы и внутренней поверхностью раструба (муфты) должен быть минимальным и не превышать 1 мм. В отдельных случаях для предотвращения вытекания клея следует производить подбивку торца раструба (муфты) льно- или стекловолокном или добавлять в состав клея 3 мае. ч. тиксотропной добавки «Аэросил А-380».

Рис. 3.11. Устройство для точечного обжима клеемеханических соединений труб: 1 – труба; 2 – рычаг; 3 – пуансон; 4 – кронштейн; 5 – насос; 6 – масляный бак;7 – петля; 8 – рукоятка; 9, 11 – пружина; 10- поршень
Клей наносят движением в одну сторону шпателем или жесткой плоской кистью равномерным тонким слоем для раструбных (муфтовых) соединений толщиной 0,1–0,2 мм, для клеемеханических – не более 0,5 мм. Подготовка склеиваемых поверхностей, клеевых составов, режимы и средства отверждения клеев, продолжительность выдержки раструбных (муфтовых) и клеемеханических соединений в неподвижном положении такие же, как и для бандажных соединений.
Более 800 000 книг и аудиокниг! 📚
Получи 2 месяца Литрес Подписки в подарок и наслаждайся неограниченным чтением
ПОЛУЧИТЬ ПОДАРОКДанный текст является ознакомительным фрагментом.
Галина Владимировна Колб
Просмотр ограничен
Смотрите доступные для ознакомления главы 👉