4.1. Арматура
Арматуру на санитарно-технических системах устанавливают для управления потоком транспортируемой среды (воды, пара): изменения его расхода, давления, перекрытия потока, раздачи жидкости потребителю.
Арматура разделяется на водоразборную и трубопроводную.
Трубопроводная арматура, регулирующая поток транспортируемой среды в трубопроводах, разделяется на запорную, предохранительную и регулирующую.
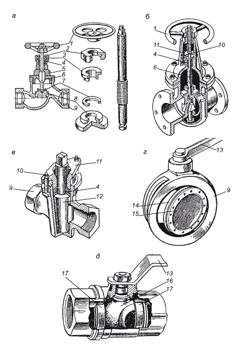
Запорная арматура. Для включения или отключения отдельных участков трубопроводов служит запорная арматура: вентили, задвижки, краны, заслонки затворные. В санитарно-технических системах в основном используется запорная арматура из серого и ковкого чугуна, реже из стали и латуни.
Вентили (рис. 4.1, а) перекрывают поток клапаном 8, который перемещается перпендикулярно оси потока.
Задвижки (рис. 4.1 б) перекрывают поток при движении диска перпендикулярно направлению потока. По конструкции затвора задвижки бывают параллельные и клиновые, с выдвижным или невыдвижным шпинделем.
Пробковые краны (рис. 4.1, в) перекрывают поток пробкой 12 с отверстием, плотно притертой к стенкам корпуса 9. При повороте пробки на 90° продольная ось отверстия устанавливается перпендикулярно потоку, и подача воды прекращается.
Затворы (рис. 4.1, г) перекрывают поток при повороте диска вокруг вертикальной оси с помощью рукоятки.
Шаровые краны (рис. 4.1, <3) состоят из запорного шара с отверстием, к которому прижимаются уплотнительные манжеты. Шар соединен штоком с рукояткой, поворотом которой открывается и закрывается кран.
Предохранительная арматура защищает систему от повреждения при превышении предельно допустимых параметров транспортируемой среды. К такой арматуре относятся предохранительные и обратные клапаны, воздухоотводчики, гасители гидравлических ударов.

Рис. 4.1. Трубопроводная арматура: а – вентиль; б – задвижка; в – пробковый кран; г – затвор; д – шаровой кран; 1 – маховичок; 2 – накидная гайка; 3 – уплотнительная втулка; 4 – сальниковая набивка; 5 – крышка; 6 – шпиндель; 7 – фиксирующее кольцо; 8 – клапан; 9 – корпус; 10 – болт; 11 – крышка сальника; 12 – пробка; 13 – рукоятка; 14 – уплотнение; 15 – рабочий орган; 16 – шар; 17 – манжеты
Предохранительные клапаны автоматически выпускают воду из трубопроводов, резервуаров при повышении давления сверх допустимого. При понижении давления они закрываются.

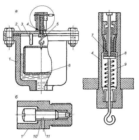
Рис. 4.2. Автоматический воздухоотводчик (а) и воздушный кран (б):1 – корпус; 2 – крышка; 3 – упор; 4 – клапан-затвор; 5 – тяга; 6 – поплавок; 7 – седло;8 – клапан; 9 – пружина; 10 – шпиндель; 11 – отверстие
Обратные клапаны предотвращают движение воды в обратном направлении.
Воздухоотводчики (рис. 4.2, а) удаляют воздух из трубопроводов. В автоматическом воздухоотводчике помещен поплавок 6. При отсутствии воды в корпусе под действием собственного веса поплавок опущен вниз, и седло, через которое выходит воздух, открыто. При наполнении корпуса водой поплавок и тяга поднимаются, седло перекрывается клапаном, прижимаемым пружиной, и вода не может вытечь из системы.
Воздушный кран (рис. 4.2, б) удаляет воздух из трубопроводов при повороте шпинделя, который открывает седло, и воздух через отверстие выходит в атмосферу. После удаления воздуха шпиндель заворачивают и перекрывают седло.
Регулирующая арматура служит для поддержания расхода или давления на уровне, обеспечивающем работу системы в оптимальном режиме. Это регуляторы давления, стабилизаторы давления, краны двойной регулировки, трехходовые краны, диафрагмы. Запорные вентили, устанавливаемые перед водоразборной арматурой, на разводках, у основания стояков и на магистралях, часто используются как регулирующая арматура. Регуляторы давления поддерживают постоянное давление в системе независимо от расхода. Регулятор давления прямого действия работает следующим образом. При некотором расходе воды в регулируемой сети перемещением грузов задается требуемое давление и клапан устанавливается в определенном положении. При увеличении расхода воды возрастают потери давления в регуляторе, что приводит к снижению давления в сети после регулятора и в камере. В результате этого давление на мембрану уменьшается, и она вместе со штоком и клапаном поднимается вверх, что увеличивает проходное сечение между седлами, клапаном и снижает потери давления в регуляторе. Это происходит до тех пор, пока давление в регулируемой сети не окажется равным заданному. При уменьшении расхода воды и колебании давления на входе регулятор работает аналогичным образом.

Рис. 4.3. Трехходовой кран:
а – общий вид и разрез; б – монтажное положение; в – потребительское положение; 1 – корпус; 2 – остов; 3 – пробка; 4 – крышка; 5 – гайка сальника

Рис. 4.4. Кран двойной регулировки типа КДР:1 – корпус; 2 – кольцо сборное; 3 – набивка сальника; 4 – ручка; 5 – регулятор;6 – указатель; 7 – пробка
Стабилизатор давления поддерживает постоянное давление перед водоразборной арматурой и уменьшает потери воды до 40 %. В отличие от регулятора давления стабилизатор обеспечивает герметичное закрытие при отсутствии расхода воды.
Для стабилизации напора перед водоразборной арматурой применяют квартирный регулятор давления. Принцип его действия следующий: при повышении давления в камере за загруженным золотником регулятора мембрана прогибается вверх, и связанный с нею золотник прикрывает проходное отверстие, в результате чего доступ воды в сеть за регулятором уменьшается. При снижении давления золотник опускается, и доступ воды в сеть увеличивается.

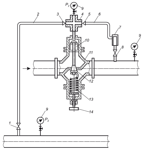
Рис. 4.5. Регулятор расхода:1,8 – вентили; 2 – импульсная линия от обратного трубопровода; 3 – дроссельная шайба d2; 4 – крестовина; 5 – дроссельная шайба d1; 6 – импульсная линия от подающего трубопровода; 7 – фильтр для очистки воды; 9 – монометры; 10 – сильфон; 11 – корпус клапана; 12 – золотник; 13 – пружина; 14 – маховик
Трехходовой кран (рис. 4.3) и кран двойной регулировка (рис. 4.4) служат для регулирования количества воды, поступающей в отопительный прибор. Регулятор расхода поддерживает постоянный перепад давлений между подающими и обратными трубопроводами сетевой воды (рис. 4.5).
Более 800 000 книг и аудиокниг! 📚
Получи 2 месяца Литрес Подписки в подарок и наслаждайся неограниченным чтением
ПОЛУЧИТЬ ПОДАРОКДанный текст является ознакомительным фрагментом.