Раздел 1. Классификация изобретений и потребностей
Изобретения бывают разные. Одни – маленький шаг в улучшении системы, другие – радикально меняют общество.
В 1981 году мне пришлось решать проблему на Верх-Исетском металлургическом заводе.
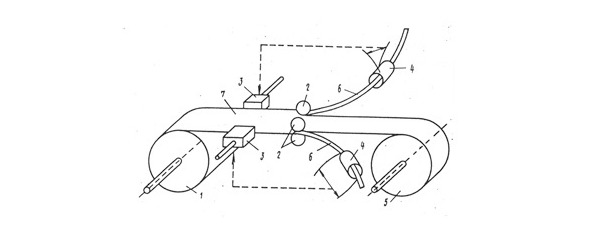
При обрезке кромок стальной полосы на агрегате продольной резки, необходимо центрировать полосу (7), чтобы обрезать дисковыми ножами (2) достаточно широкие кромки, удаляя все трещины. Но полоса постоянно движется в сторону, поэтому специальный рабочий постоянно регулирует ее положение на агрегате резки рулонов. Чтобы автоматизировать работу агрегата, предложено пропускать обрезаемую кромку (6) через кольцо двух электрических контуров (4). Через один пропускается переменный ток, который наводит ток во второй обмотке. При этом, чем больше ширина обрезаемой кромки, тем больше сигнал. Сигналы, получаемые с двух сторон полосы, сравниваются, и их разность направляется в управляющее устройство (3), которое эффективно заменяет рабочего.

Рисунок 1. Схема установки центрирования полосы
В этом примере, в системе выполнено небольшое изменение – введена управляющая система. Но это изобретение и на него выдано А. С. N 958 047. И таких изобретений каждый инженер может сделать много. Эти небольшие изобретения мало влияют на развитие общества в целом, хотя и решают нужные задачи в определенных условиях.
Наряду с этим, есть изобретения, которые радикально меняют общество. В 1938 году инженеры Эрик Фосет и Реджинальд Гипсон разработали промышленное производство полиэтилена. Первое назначение нового материала – покрытие телефонного кабеля. Теперь мы понимаем, что это было крайне узкое применение полиэтилена, но даже его было достаточно для организации экономически оправданного массового производства.
В годы Второй мировой войны англичане применяли полиэтилен для производства радаров. А в 1950-х годах началось массовое применение полиэтилена в самых разных областях:
– упаковка (тара, емкости и пакеты),
– трубы для строительства,
– различные детали оборудования и многое другое.
Вскоре, в середине 1950-х был разработан аналогичный материал – полипропилен. У него были еще больше возможностей – это детали автомобилей, оконные рамы, обшивка домов…
Фактически применение этих материалов радикально изменили многие технологии в строительстве, упаковке, химию, электротехники и других отраслях.
Чем же отличаются эти изобретения?
Г. С. Альтшуллер предложил ввести 5 уровней для оценки качества изобретений, в зависимости от того,
1. Разрешают ли они противоречия,
2. Насколько серьезные изменения происходят в системе, и как влияют они на общество.
И главным критерием является оценка того, сколько вариантов, по мнению экспертов, надо перебрать, чтобы найти решение.
Итак, классификация изобретений Г. С. Альтшуллера:
1-й уровень – Мельчайшие изобретения не связанные с устранением противоречий (до 10 вариантов).
2-й уровень – Мелкие изобретения, полученные в результате устранения противоречия способами, известными в данной отрасли (до 100 вариантов).
3-й уровень – Средние изобретения. Противоречие преодолевается способами, известными в пределах одной науки. Например, «механическая» задача решается «механически», «химическая» – «химически» и т.д. (до 1000 вариантов).
4-й уровень – Крупные изобретения. Создается новая техническая система. Поскольку она не содержит противоречий, иногда создается впечатление, что изобретение сделано без их преодоления. На самом же деле противоречия были, но они относились к прототипу – старой технической системе (до 10 000 вариантов).
5-й уровень – Крупнейшие изобретения – пионерные изобретения, порождающие новые отрасли техники. Создается принципиально новая техническая система. Противоречий нет, поскольку еще нет и самой системы; противоречия могут появиться лишь в процессе синтеза системы. Для создания изобретения пятого уровня нужно предварительно сделать новое открытие (более 10 000 вариантов).
В этой классификации все кажется простым и понятным, но остаются вопросы.
Любая классификация создается, чтобы затем ее использовать для работы. А что дает эта классификация? Деление изобретений на сложные и простые? Так это и так очевидно! И еще, в книге Г. С. Альтшуллер пишет, что изобретений 5-го уровня, создающих новые отрасли промышленности – 0,3% от общего числа изобретений7. Но если учесть, что сейчас ежегодно в мире создается около 3 миллионов изобретений, то это означает, что создается около 10 000 изобретений 5-го уровня. Это 10 000 новых отраслей промышленности! Явно нереально! Но почему Генрих Саулович не заметил этой нелепости? Не мог не заметить! Просто в то время ему важно было обосновать необходимость ТРИЗ для решения сложных задач. Для этого и была сделана такая 5-уровневая классификация.
Но для активной работы нужна другая классификация изобретений, которая будет направлять работу специалиста, определять те инструменты ТРИЗ, которые будут наиболее эффективны для решения каждой группы задач.
Более 800 000 книг и аудиокниг! 📚
Получи 2 месяца Литрес Подписки в подарок и наслаждайся неограниченным чтением
ПОЛУЧИТЬ ПОДАРОКДанный текст является ознакомительным фрагментом.