4.3.2 Комбинированные мосты
Комбинированный мост чаще всего является передним и устанавливается на автомобилях повышенной проходимости.
Передние колёса автомобилей высокой проходимости одновременно являются и ведущими, и управляемыми. Поэтому в устройство переднего ведущего входят дополнительные механизмы, позволяющие передавать усилие на управляемые колёса при изменении плоскости их вращения.
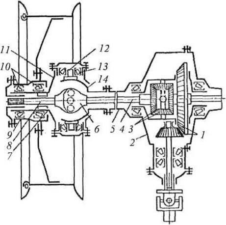
В устройство привода на передние ведущие колёса входят (рисунок 4.11): главная передача 1, дифференциал 3, полуоси 4, шарниры 6 равной угловой скорости, приводные валы 8 колёс. Все эти части заключены в картере 2 с полуосевыми рукавами 5, на наконечниках 14 у которых па шкворневых пальцах 12 с подшипниками 13 установлены поворотные кулаки, состоящие из корпуса 11 с цапфой 7, на которой на подшипниках 10 установлены ступицы 9 колёс.

Рисунок 4.11 – Схема переднего ведущего моста
1 – главная передача; 2 – картер; 3 – дифференциал; 4 – полуось; 5 – полуосевой рукав; 6 – шарнир; 7 – цапфа; 8 – приводной вал; 9 – ступица; 10, 13 – подшипники; 11 – корпус поворотного кулака; 12 – шкворневой палец; 14 – наконечник
Главная передача и дифференциал имеют такое же устройство, как и главная передача и дифференциал заднего ведущего моста.
Шарнир 6 равной угловой скорости передаёт равномерное вращение с полуоси 4 на приводной вал 8 колеса при значительных углах поворота между ними (до 40°) в различных положениях колеса во время поворота автомобиля.
В передних ведущих мостах применяют шарниры равных угловых скоростей двух типов: шарикового или кулачкового. Шарнир равной угловой скорости шарикового типа (рисунок 4.12, а) состоит из двух вилок, пяти шариков, пальца и стопорной шпильки. Вилка 2 соединена с полуосью 1, а вилка 3 – с приводным валом 4 колеса. Вилки центрируются шариком 6, установленным на пальце 8, который закреплён стопорной шпилькой 7 в отверстии одной из вилок. В канавках вилок установлены четыре шарика 5, через которые передаётся вращение от одной вилки на другую. При любом угле между валами боковые шарики в канавках вилок устанавливаются в плоскости, делящей этот угол пополам. Поэтому вращение от ведущего на ведомый вал передается равномерно. Применяют также шариковые шарниры без пальца, со стопорной шпилькой в центральном шарике.

Рисунок 4.12 – Шарнир равной угловой скорости
а – шарикового типа; б – кулачкового типа; 1 – полуось; 2, 3, 9, 13 – вилки; 4 – приводной вал; 5 – шарики; 6 – центрирующий шарик; 7 – шпилька; 8 – палец; 10, 12 – кулаки; 11 – диск
Конструкция шарнира равной угловой скорости кулачкового типа приведена в части 2 «Автопрактикум» «Трансмиссия большегрузных автомобилей». При такой конструкции полуоси и приводной вал могут качаться, каждые на своём кулаке, в вертикальной плоскости и вместе с кулаком вокруг диска в горизонтальной плоскости. Такой шарнир по своему действию аналогичен действию двух сочленённых обычных карданных шарниров, из которых первый шарнир создает неравномерность вращения, а второй (поставленный наоборот) устраняет эту неравномерность. В результате этого вращение на приводной вал от полуоси передаётся равномерно.
Приводной вал 8 колеса (рисунок 4.11) проходит внутри полой поворотной цапфы 7 и при помощи втулки с фланцем соединён со ступицей 9 колеса, установленной на цапфе на подшипниках 10. Цапфа соединена с разъёмным корпусом 11, установленным на подшипниках 13, на шкворневых пальцах 12, закреплённых на полусферическом наконечнике 14 полуосевого рукава 5, и может поворачиваться вместе с колесом вокруг этих пальцев. При любом повороте колеса с цапфой 7 вращение на колесо передается с полуоси 4 через шарнир 6 и приводной вал.
На рисунке 4.13 представлена конструкция переднего ведущего моста грузовых автомобилей ЗИЛ высокой проходимости. Главная передача моста – двойная центральная. Она состоит из двух пар шестерён – конической 11 со спиральными зубьями и цилиндрической 8 с косыми зубьями. Дифференциал 9 – конический, симметричный, малого трения, четырехсателлитный.

Рисунок 4.13 – Комбинированный мост автомобилей ЗИЛ
1 – поворотная цапфа; 2, 13 – наружная и внутренняя полуоси; 3 – фланец; 4,7 – конические подшипники; 5 – ступица ведущего управляемого колеса; 6 – шип; 8, 11 – цилиндрическая и коническая шестерни; 9 – дифференциал; 10 – картер; 12 – балка; 14 – карданный шарнир равных угловых скоростей; 15 – шаровая опора
Главная передача и дифференциал размещены в картере 10, который крепится к центральной части балки 12 моста. К концам балки моста прикреплены шаровые опоры 15 для поворотных цапф 7. Внутри каждой поворотной цапфы размещена наружная полуось 2, которая соединяется с внутренней полуосью 13 шариковым карданным шарниром 14 равных угловых скоростей. На шлицах наружной полуоси установлен фланец 3 для крепления к ступице 5 ведущего управляемого колеса. Шкворень для поворота колеса сделан разрезным и состоит из двух шипов 6, которые жёстко закреплены в шаровой опоре. На шкворне на роликовых конических подшипниках 7 установлена поворотная цапфа, на ней также на роликовых конических подшипниках 4 установлена ступица колеса, имеющего шину с регулируемым давлением.
Передний мост автомобиля Урал (рисунок 4.14) ведущий и управляемый.

Рисунок 4.14 – Привод к управляемым колёсам переднего моста
1 – ступица; 2 – шланг подвода воздуха; 3 – подшипник; 4 – цапфа поворотная; 5 – манжета системы накачки шин; 6 – полуось наружная; 7 – контргайка; 8 – штифт; 9 – шайба замков; 10 – гайка подшипников; 11 – цилиндр колёсный тормозной; 12 – барабан тормозной; 13 – манжета ступицы; 14 – втулка конусная разрезная; 15 – маслёнка; 16 – рычаг; 17 – шкворень поворотного кулака; 18 – корпус поворотного кулака; 19 – диск шарнира; 20 – опора шаровая; 21, 29 – шайбы упорные; 22 – втулка бронзовая; 23 – полуось внутренняя; 24 – кулак шарнира; 25 – вилка шлицевая наружной полуоси; 26 – манжета шаровой опоры; 27 – прокладки регулировочные; 28 – крышка подшипника поворотного кулака; 30 – втулка поворотной цапфы;31 – шпилька; а– отверстие резьбовое; b – канал в цапфе для подвода воздуха
Балка моста состоит из литого картера и запрессованных в него кожухов полуосей. К фланцам кожухов шпильками крепятся шаровые опоры, для облегчения монтажа отверстие в кожухе полуоси под шаровую опору смазывается графитной смазкой. В шаровую опору запрессованы два шкворня 17, бронзовые втулки 22 и упорная шайба 21. Шкворни дополнительно приварены.
Поворотный кулак состоит из цапфы 4 и корпуса 18. На корпусе кулака шпильками, разрезными конусными втулками 14 и гайками с пружинными шайбами укреплён верхний рычаг.
Под рычагом и крышкой 28 установлены прокладки 27 для регулировки затяжки роликоподшипников.
Цапфа прикреплена к корпусу кулака шпильками 31. В цапфу запрессованы бронзовые втулки 30, упорная шайба 29. В цапфе выполнен канал b для подвода воздуха к шинам.
Внутренняя 23 и наружная 6 полуоси переднего моста связаны между собой шарниром равных угловых скоростей. Шарнир предназначен для передачи крутящего момента от дифференциала к колесу как при прямолинейном движении автомобиля, так и при его повороте. Внутренняя полуось 5 (рисунок 4.15), связанная шлицами с полуосевой шестерней дифференциала, заканчивается вилкой. Такая же вилка 2 устанавливается на шлицевый конец наружной полуоси 1. В вилки вставлены кулаки 3, в пазы которых входит диск 4, передающий крутящий момент через наружную полуось на ступицу колеса.
Смазка шарниров полуосей переднего ведущего моста и нижних подшипников шкворней обеспечивается маслом, заливаемым в корпус поворотного кулака через заливное отверстие на корпусе 18 (рисунок 4.14) спереди, которое одновременно является и контрольным.
Верхние подшипники шкворней смазывают через маслёнку в рычаге поворотного кулака.
К внутреннему торцу корпуса поворотного кулака прикреплена манжета 26, удерживающая смазку внутри шаровой опоры и предохраняющая подшипники и шарнир от попадания грязи.

Рисунок 4.15 – Кулачковый шарнир равных угловых скоростей
1 – полуось; 2 – наружная вилка; 3 – кулак; 4 – диск; 5 – полуось внутренняя
Более 800 000 книг и аудиокниг! 📚
Получи 2 месяца Литрес Подписки в подарок и наслаждайся неограниченным чтением
ПОЛУЧИТЬ ПОДАРОКДанный текст является ознакомительным фрагментом.