2.2.3.1 Процессы деформирования с локализацией очага деформации
В современном машиностроении имеется тенденция к замене обработки металлов резанием операциями обработки давлением в холодном или горячем состоянии. Наряду с операциями штамповки в машиностроении, как и в металлургии, широко используют различные операции обработки заготовок пластическим деформированием с локализацией очага деформации. Ее используют как для окончательной отделки поверхностей, предварительно подготовленных резанием, так и для формообразования новых поверхностей.
Тонкие материалы, заготовки и детали получают раскаткой (прокаткой) более толстых заготовок. Отличительной особенностью указанных операций от операций штамповки также является локальный характер приложения деформирующего усилия, что позволяет существенно снизить удельное и общее суммарное усилие деформирования.
Процессы с локализацией очага деформации обеспечивают высокую точность и низкую шероховатость поверхности получаемого изделия, что в большинстве случаев позволяет исключить из технологического процесса получения деталей дальнейшую механическую обработку.
Результатом использования указанных процессов является снижение расхода металла и трудоемкости изготовления деталей до 30 %, при этом также происходит деформационное упрочнение поверхностного слоя и это обеспечивается за счет получение напряженно-деформированного состояния поверхностного слоя, в котором возникают, обычно благоприятные, остаточные сжимающие напряжения, что сопровождается упрочнением металла.
О степени упрочнения детали можно судить по результатам измерения твердости поверхностного слоя. Степень упрочнения и величина остаточных напряжений изменяются по глубине упрочненного слоя. В поверхностном слое детали она может колебаться в больших пределах, от нескольких микрометров до десятых долей миллиметра.
К операциям обработки пластическим деформированием с локализацией очага деформации относится: штамповка вальцовкой (прокатка), раскатка, вытяжка, обкатка и накатка.
Штамповка вальцовкой бывает продольной, поперечной и винтовой (см. с. 41).
Раскатку применяют для уменьшения толщины стенки полых гильз полученных вытяжкой.
Вытяжку применяют для получения из плоских листовых или полых заготовок, полые детали разнообразной формы не требующие, как правило, дальнейшей обработки, кроме обрезки неровного края. Полученные гильзы могут иметь диаметр (или длину) – от нескольких миллиметров до нескольких метров и толщину стенки – от десятых долей до десятков миллиметров.
Вытяжку осуществляют в специальных штампах, рабочие органы которых: матрица со скругленной рабочей кромкой и пуансон. Если необходимо, то применяют прижимное кольцо. Между пуансоном и матрицей имеется зазор z, в который пуансон втягивает заготовку.
Для изготовления гильз вытяжкой применяют листовой металл, обладающий высокими пластическими свойствами: низкоуглеродистую качественную и конструкционную низколегированную сталь, алюминий и различные его сплавы, медь латунь и другие металлы.
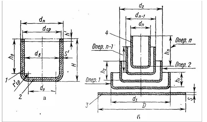
Цилиндрические детали вытяжкой получают в один или несколько переходов (в зависимости от относительной высоты) (рисунок 19).

а – изделие; б -последовательность процесса
1- цилиндр; 2 – дно; 3 – заготовка; 4- изделие
Рисунок 19 – Схема последовательности изменения заготовки при вытяжке
Изготовление деталей вытяжкой осуществляется без нагрева заготовки, в холодном состоянии. Исключение – вытяжка толстолистового металла (толщиной свыше 20 мм), когда заготовку нагревают, для того чтобы снизить деформирующее усилие. При вытяжке заготовок из алюминиевых сплавов для повышения степени деформации за одну операцию применяют местный (локальный) электронагрев зоны пластической деформации.
Вытяжкой за одну операцию можно получить относительно неглубокие детали, высота которых не превышает 0,8 диаметра. При вытяжке более высоких деталей растягивающие напряжения, возникающие в стенке, возрастают настолько, что может наступить отрыв дна. В связи с этим процесс вытяжки необходимо разделять на несколько переходов, что уменьшает радиальные растягивающие напряжения в стенках вытягиваемой детали.
При вытяжке внешняя сила, передаваемая пуансоном, приложена к донной части вытягиваемой детали, краевая же ее часть остается свободной, не нагруженной внешними силами.
Способы вытяжки разделены на два основных типа:
– без искусственного уменьшения толщины стенки (вытяжка);
– с искусственным, преднамеренным уменьшением толщины стенки.
Вытяжку с утонением стенки осуществляют с незначительным или существенным изменением диаметра, в том числе комбинированная вытяжка, при которой предварительно вытянутую заготовку раскатывают на оправке.
Вытяжка без утонения стенки характеризуется существенным уменьшением диаметра заготовки при приблизительно неизменной толщине стенки вытягиваемой детали. Зазор между пуансоном и матрицей в штампе равен (больше) толщины заготовки (z ? s).
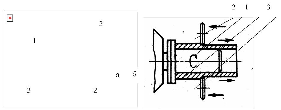
Вытяжка с утонением характеризуется существенным уменьшением толщины стенки при относительно малом уменьшении диаметра заготовки (рисунок 20). При вытяжке с утонением зазор z < s.

Рисунок 20 – Вытяжка с утонением через одну или несколько матриц
Раскатывание и обкатку применяют для отделки и упрочнения цилиндрических, конических, плоских и фасонных наружных и внутренних поверхностей. Раскатка бывает: с утонением стенки и с уменьшением сечения; с получением полых деталей из листовых заготовок.
Полученные гильзы раскатывают между валками для снижения толщины стенки и получения бесшовных труб (рисунок 21 а).
Такую же раскатку применяют для получения цилиндрических деталей, у которых толщина дна больше толщины стенок. К ним относятся: артиллерийские гильзы, гильзы стрелкового оружия, металлическая посуда с толстым дном, тюбики для пасты и пр. (рисунок 21 б). Для этого гильзу 1 устанавливают на оправку 3 и раскатывают между валками 2.

а – бесшовных труб; б – разнотолщинных заготовок
1 – оправка; 2 – ролики; 3 – исходная заготовка
Рисунок 21 – Схема раскатки с утонением стенки при получении труб
Более 800 000 книг и аудиокниг! 📚
Получи 2 месяца Литрес Подписки в подарок и наслаждайся неограниченным чтением
ПОЛУЧИТЬ ПОДАРОКДанный текст является ознакомительным фрагментом.