Способ возведения свайного фундамента под большие нагрузки
Способ возведения свайного фундамента под большие нагрузки (рис. 3.5) включает:
? погружение обсадной металлической трубы, формирование кондуктора путем закрепления системы извлекаемых горизонтальных и вертикальных центрирующих гидродомкратов на обсадной металлической трубе;
? формирование скважины под защитой бентонитового раствора с заглублением в слаботрещиноватые известняки, замену загрязненного бентонитового раствора на свежеприготовленный с удалением бурового шлама со дна скважины;
? формирование трубно-арматурного каркаса в виде соединения трубной и арматурной частей, установление зонтика-ограничителя уровня заполнения скважины бетонной смесью примерно на границе перехода арматурного каркаса в трубный;
? вывешивание трубно-арматурного каркаса над кондуктором арматурной частью вниз, вертикальное центрирование и монтаж трубно-арматурного каркаса в скважине с компенсацией эксцентриситета и фиксацией зазоров от стенок и дна скважины с помощью кондуктора;
? установку внутри каркаса бетонолитной трубы и непрерывное бетонирование трубно-арматурного каркаса и ствола скважины снизу вверх под высоким начальным давлением подачи бетонной смеси, с понижением давления при достижении бетонной смесью зонтика-ограничителя;
? последующее бетонирование с пониженным давлением подачи бетонной смеси и прекращением подачи бетонной смеси при достижении верхнего уровня трубной части трубно-арматурного каркаса;
? извлечение бетонолитной трубы из скважины, засыпку полости между кондуктором и трубной частью каркаса крупным заполнителем, временную выдержку бетонного монолита и демонтаж кондуктора.

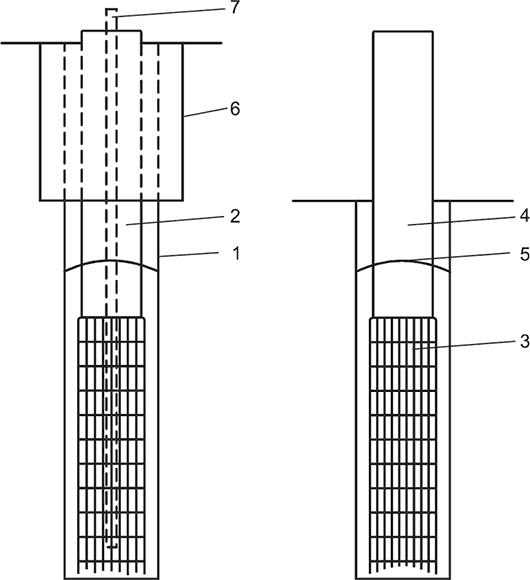
Рис. 3.5. Пример выполнения опоры, где указаны скважина 1, трубно-арматурный каркас 2 с арматурной частью 3 и трубной частью 4, ограничитель 5 уровня заполнения скважины бетонной смесью, кондуктор 6, бетонолитная труба 7
Более 800 000 книг и аудиокниг! 📚
Получи 2 месяца Литрес Подписки в подарок и наслаждайся неограниченным чтением
ПОЛУЧИТЬ ПОДАРОКДанный текст является ознакомительным фрагментом.
Сергей Анатольевич Сычев
Просмотр ограничен
Смотрите доступные для ознакомления главы 👉