Способ устройства инъекционной сваи
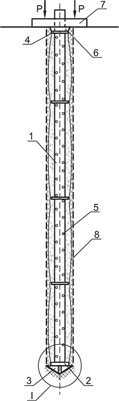
Способ устройства инъекционной сваи (рис. 3.15) включает устройство скважины без извлечения грунта путем вдавливания наконечника и инъектирование твердеющего закрепляющего раствора через инъекторную трубу. Новым является то, что используют перфорированную по всей длине инъекторную трубу, на конце которой закреплен конусный наконечник, состоящий из диска и режущих пластин, края которых выступают за основание диска, диаметр которого больше диаметра инъекторной трубы, и в грунт вдавливают инъекторную трубу с наконечником с одновременным нарезанием на стенках скважины продольных пазов и образованием зазора между стенками образуемой скважины и инъекторной трубой, а по окончании процесса инъектирования инъекторную трубу с наконечником оставляют в скважине. Таким образом повышается технологичность, несущая способность сваи при снижении сроков ее возведения.

Рис. 3.15. Способ устройства инъекционной сваи:
1 – инъекторная труба;
2 – конусный наконечник;
3 – режущие пластины;
4 – сквозные фланцы;
5 – отверстия;
6 – пробка;
7 – нагрузка;
8 – уплотненная зона
Более 800 000 книг и аудиокниг! 📚
Получи 2 месяца Литрес Подписки в подарок и наслаждайся неограниченным чтением
ПОЛУЧИТЬ ПОДАРОКДанный текст является ознакомительным фрагментом.