Способ закрепления переувлажненных глинистых и просадочных грунтов

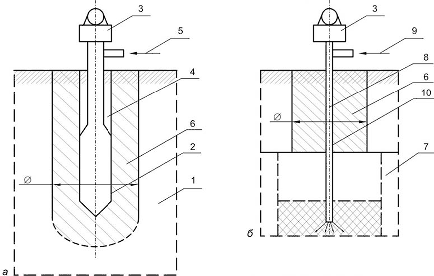
Рис. 4.7. Закрепление водонасыщенных грунтов с одновременной подачей виброшаблона и наполнителя в полость (а), подача инъектора и инъектирование через материал формирующейся цементо-грунтовой сваи (б): 1 – переувлажненный глинистый грунт; 2 – шаблон; 3 – вибратор; 4 – вертикальная или наклонная полость; 5 – песчано-цементная смесь; 6 – формируемая свая; 7 – слабые просадочные грунты; 8 – инъектор; 9 – твердеющий раствор; 10 – контакт
Технология закрепления переувлажненных глинистых и просадочных грунтов (рис. 4.7) включает выполнение в переувлажненных грунтах вертикальной или наклонной полости и формирование в ней сваи путем заполнения этой полости несвязным наполнителем с последующим его втрамбовыванием и уплотнением. Полость выполняют вибропогружением шаблона, в качестве заполнителя в полость вносят водопоглощающий субстрат в виде песчано-цементной смеси, который отверждают водой, содержащейся в переувлажненном грунте. Диаметр сваи и ее несущую способность регулируют временем вибротрамбования и объемом втрамбованного субстрата. Ниже подошвы формирующейся сваи через материал этой сваи с помощью вибратора забивают инъектор на проектную глубину и, поднимая инъектор с теряемым наконечником, одновременно нагнетают твердеющий раствор. Выполнение всех операций по инъектированию осуществляют в течение 3–4 часов, что составляет 50–70 % от времени окончания гидратации цемента, при котором идет процесс кристаллизации. Технический результат состоит в повышении технологичности, обеспечении закрепления слабых просадочных грунтов, лежащих ниже подошвы сооружаемой сваи, сокращении материалоемкости.
Более 800 000 книг и аудиокниг! 📚
Получи 2 месяца Литрес Подписки в подарок и наслаждайся неограниченным чтением
ПОЛУЧИТЬ ПОДАРОКДанный текст является ознакомительным фрагментом.