Радиочастота и модуляция

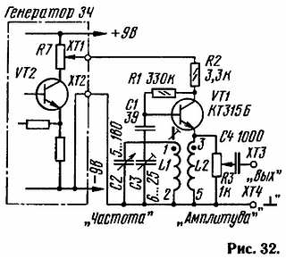
Следующий этап освоении осциллографа — наблюдение немодулированных и модулированных колебаний радиочастоты (РЧ) и определение глубины (коэффициента) модуляции. Дли этих целей соберем простейший генератор на одном транзисторе (рис. 32), вырабатывающий колебания РЧ, в нашем случае — диапазона средних волн (СВ).

Сначала о самом генераторе. Чтобы получить радиочастотные колебания, в генераторе применен колебательный контур, составленный из катушки индуктивности L1 и конденсаторов С2 и С3. Подстроечным конденсатором С3 и ферритовым подстроечником катушки устанавливают точнее одну из границ диапазона частот, перекрываемого контуром, а конденсатором переменной емкости С2 плавно изменяют резонансную частоту контура.

С катушкой L1 связана индуктивно катушка L2, включенная в эмиттерную цепь транзистора. Причем начало катушки L1 подключено (через конденсатор С1) к выводу базы транзистора, а начало катушки L2 — к выводу эмиттера. В результате между базой и эмиттером образуется положительная обратная связь и каскад, собранный на транзисторе VT1, возбуждается, появляются колебания РЧ. Они выделяются как на резисторе нагрузки R2, так и на катушке L2, а значит, и на переменном резисторе R3. С движка этого резистора колебания РЧ подаются через развязывающий конденсатор С4 на зажим ХТ3.

Питание на каскад можно подать от батареи «Крона» или от другого источника постоянного тока напряжением 9 В. Но лучше сразу подключить генератор РЧ к зажимам ранее изготовленного генератора 3Ч и установить движок переменного резистора R7 последнего в верхнее, по схеме, положение. Тогда между зажимами ХТ1 и ХТ2 будет постоянное напряжение 9 В.

Для постройки генератора РЧ понадобятся, прежде всего, катушки L1 и L2, намотанные на общем каркасе. Подойдет готовый контур гетеродина диапазона СВ от малогабаритного транзисторного радиоприемника «Селга» (для этого контура и приведена на схеме нумерация выводов катушек). Он представляет собой четырехсекционный каркас высотой 22 мм и размерами основания 11х11 мм. Внутри каркаса помещен подстроечник диаметром 2,8 и длиной 12 мм из феррита 600НН.

Во всех секциях равномерно размещены витки катушки L1 — по 32 витка провода ПЭВ-2 0,09 в каждой, а в верхней (от основании) секции размещена еще и катушка L2 — 10 витков провода ПЭВ-2 0,1.

Подойдет другой контур гетеродина диапазона СВ с катушкой L1 индуктивностью 150…220 мкГ и с катушкой L2, содержащей практически любое число витков. В крайнем случае подберите подходящий каркас (с тремя или четырьмя секциями) и намотайте на нем катушки по вышеуказанным данным.

Транзистор может быть любой из серии KT315, но с коэффициентом передачи тока не менее 50. Постоянные резисторы — МЛТ-0,125 или МЛТ-0,25. переменный — СП-I или другой, сопротивлением 470 Ом, 1 кОм, 2,2 кОм. Конденсатор переменной емкости — КП-180, но подойдет любой другой малогабаритный с максимальной емкостью до 500 пФ. Подстроечный конденсатор — КПК-М, КПК-1, остальные конденсаторы — любые, например, КТ, КМ, КЛС.

Часть деталей генератора (постоянные резисторы, конденсаторы С1, С3, катушки индуктивности и транзистор) можно смонтировать на макетной панели или на небольшой плате из изоляционного материала. Монтаж может быть как навесной, так и печатный. Внешне макет генератора РЧ выглядит аналогично генератору 3Ч (рис. 33). На лицевой панели макета укрепляют конденсатор переменной емкости, переменный резистор и зажимы ХТ3, XT4. Проводники питания, подключаемые к зажимам генератора 3Ч, — отрезки монтажного провода в изоляции.

Наступило время включить генератор и проконтролировать его колебания с помощью осциллографа. Входной щуп осциллографа подключите к зажиму ХТ3, а «земляной» — к зажиму ХТ4. Движок резистора R3 генератора установите в верхнее, по схеме, положение. Осциллограф работает в автоматическом режиме (кнопка 7 «АВТ. — ЖДУЩ» отжата) с внутренней синхронизацией (кнопка 9 «ВНУТР. — ВНЕШН.» отжата), с закрытым входом (кнопка 13 нажата). Переключателями делителей 1 и 2 установите чувствительность осциллографа 0,2 В/дел., а переключателями 3–6 — длительность 0,5 мкс/дел.

Сразу же после подачи напряжения питания генератора на экране осциллографа должны появиться синусоидальные колебания (рис. 34, а) либо яркая «дорожка» (рис. 34, б) — все зависит от положения ротора конденсатора переменной емкости, а значит, от частоты колебаний генератора РЧ. В любом случае по масштабной сетке определите размах колебаний — он может быть равен, например, 0,8 В.

Если же колебаний нет вообще, проверьте напряжение на коллекторе транзистора (вы уже умеете делать это с помощью осциллографа, работающего с открытым входом — при отжатой кнопке 13) — оно должно быть в пределах 3…5 В, а затем поменяйте местами выводы одной из катушек индуктивности. При правильной фазировке — подключении начал обмоток к указанным на схеме цепям — колебания должны появиться.

Может случиться, что фазировка правильная, а напряжение на коллекторе не соответствует указанному, из-за чего нет генерации. Тогда включите вместо резистора R1 два последовательно соединенных резистора — постоянный сопротивлением 50…100 кОм и переменный сопротивлением 680 кОм или 1 МОм. Изменением сопротивления переменного резистора добейтесь устойчивой генерации колебаний во всем диапазоне частот — при повороте ротора конденсатора переменной емкости из одного крайнего положения в другое, а затем измерьте получившееся общее сопротивление цепи и впаяйте на место R1 резистор такого же сопротивления.

Итак, колебания наблюдаются. Включите ждущий режим (нажмите кнопку 1) и установите ручками 8 и 11 (соответственно синхронизации и длины линии развертки) на экране несколько колебаний синусоидальной формы. Если вершины полупериодов колебаний искажены (ограничены), значит чрезмерна обратная связь между эмиттерной и базовой цепями каскада. Уменьшить ее можно более точным подбором числа витков катушки L2, уменьшением емкости или шунтированием выводов катушки L2 резистором сопротивлением 2200…100 Ом.

В любом варианте обратную связь подбирают такой, чтобы неискаженная форма и устойчивость колебаний сохранялись при повороте ротора конденсатора С2 из одного крайнего положения в другое.

Далее установите ротор конденсатора в положение минимальной емкости, измерьте по осциллографу частоту колебаний (т. е. измерьте длительность одного колебания, а затем переведите ее в значение частоты) и установите ее равной примерно 1,5 МГц (длительность одного колебания около 0,6 мкс) подстроечником катушки и подстроенным конденсатором С3. Рассматривать и измерить такой сигнал удобно при установке переключателей диапазонов частот в положение, соответствующее длительности 0,2 мкс/дел., а переключателя режима развертки — в положение «ЖДУЩ.» (кнопка 7 нажата).

Переведя затем ротор конденсатора С2 в положение максимальной емкости, измерьте получившуюся наименьшую частоту диапазона. Вы увидите, что с конденсатором указанной емкости (180 пФ) частота составляет примерно 750 кГц.

Иначе говоря, общее перекрытие по частоте равно 1500…750 кГц, что соответствует длинам волн 200…400 м. Диапазон же СВ несколько шире — от 187 м до 570 м. При желании расширить диапазон генератора в сторону более длинных волн, достаточно установить вместо КП-180 конденсатор переменной емкости с большей максимальной емкостью. Но делать это на данном этапе не следует, поскольку наш генератор — экспериментальный, необходимый для решения вполне определенной задачи.

Следующим этапом может быть градуировка шкалы конденсатора переменной емкости в единицах частоты, а шкалы переменного резистора в единицах амплитуды колебаний. С этим вы справитесь самостоятельно, пользуясь советами по градуировке аналогичных шкал генератора 3Ч.

Настала очередь промодулировать по амплитуде сигнал генератора РЧ колебаниями 3Ч, иначе говоря, получить своеобразный радиосигнал, аналогичный излучаемому в эфир радиовещательными станциями. Осциллограф (он по-прежнему подключен к зажимам ХТ3 и ХТ4) переведите в автоматический режим работы с внутренней синхронизацией и установите длительность развертки 0,5 мс/дел. На экране вновь появится яркая «дорожка» — полоса (рис. 35, а) с размахом около 0,8 В.

На генераторе 3Ч (его частота может быть любой) плавно перемещайте движок переменного резистора R7 «Амплитуда» из крайнего верхнего, по схеме, положения в нижнее. Линии полосы начнут изгибаться. Ручками синхронизации и длины развертки постарайтесь «остановить» изображение, и вы увидите, что линии приняли очертания синусоидальных колебаний (рис. 35, б), частота которых соответствует частоте сигнала генератора 3Ч.

Рис. 35

Правда, синхронизировать такой сигнал затруднительно даже в режиме ждущей развертки, поскольку наблюдаете сложный сигнал, состоящий из колебаний звуковой и радиочастоты. Вот здесь и придет на помощь режим внешней синхронизации от одного из генераторов, в данном случае от генератора 3Ч.

Гнездо входа канала X соедините проводником с выводом коллектора транзистора VT2 генератора 3Ч (рис. 36) — в этой точке амплитуда сигнала наибольшая.

Рис. 36

Осциллограф переключите в режим ждущей развертки с внешней синхронизацией (нажмите кнопки «АВТ.-ЖДУЩ.» и «ВНУТР. ВНЕШН.»). Вот теперь удастся соответствующими ручками «остановить» изображение модулированных но амплитуде колебаний РЧ.

Модуляция происходит из-за того, что питание на генератор РЧ теперь поступает через участок движок — верхний вывод переменного резистора R7 генератора 3Ч. Причем, чем ниже, по схеме, движок резистора, тем больше амплитуда падающего на указанном участке синусоидального напряжения, тем больше «изгиб» линий полосы на экране осциллографа. А значит, как говорят в технике, больше глубина (или коэффициент) модуляции.

Для подсчета глубины модуляции пользуются формулой

где m — глубина модуляции, %; а и в — соответственно наибольший и наименьший размах изображения (или амплитуда колебаний), любые единицы измерения примеру, для показанного на рис. 35. б изображения глубина модуляции составит

Такова примерная глубина модуляции при максимальном выходном сигнале генератора 3Ч — она соответствует общепринятой глубине (30 %) модуляции, используемой в различных измерительных генераторах с внутренней амплитудной модуляцией. Такое значение принято и в радиовещании.

Чтобы получить более глубокую модуляцию, нужно увеличить амплитуду выходного сигнала генератора 3Ч. Наиболее просто это сделать увеличением обратной связи между его каскадами — уменьшением сопротивления подстроечного резистора R4 (см. рис. 14). На экране осциллографа увидите изображение, показанное на рис. 35. в, — пачки радиочастотных импульсов. Глубина модуляции в этом случае достигает 75 %.

После проведения этого эксперимента вновь отрегулируйте генератор 3Ч и добейтесь изображения, показанного на рис. 35, б. А затем проверьте еще один способ определения глубины модуляции — по «размытости» колебаний РЧ. Для этого нужно снять модуляцию (установить движок резистора R7 генератора 3Ч в верхнее положение) и установить длительность развертки такой, чтобы на экране осциллографа появились колебания РЧ (осциллограф может работать в режиме ждущей развертки с внутренней синхронизацией), а затем ввести модуляцию. Появится изображение, показанное на рис. 35. г. Измерив размах наибольшей и наименьшей размытостей изображения, подсчитайте по вышеприведенной формуле глубину модуляции

Более 800 000 книг и аудиокниг! 📚

Получи 2 месяца Литрес Подписки в подарок и наслаждайся неограниченным чтением

ПОЛУЧИТЬ ПОДАРОК