НОВАЯ ЖИЗНЬ СТАРЫХ ИДЕЙ Колебания вокруг маятника

Эту удивительную историю рассказал мне студент мехмата МГУ Кирилл Пшинник. Познакомились мы на одной из выставок научно-технического творчества молодежи, где он демонстрировал довольно странную конструкцию — торчащий вертикально стержень с грузиком-маховиком наверху, отклонить который в сторону было довольно трудно — тот упрямо возвращался к первоначальному положению.

— Перед вами наглядная демонстрация одного из положений теоретической механики, — пояснил тогда Кирилл. — Когда в курсе теормеха изучают маятник, почему-то многие забывают, что у него, в принципе, может быть два устойчивых положения. Первое, когда грузик направлен вертикально вниз. И второе, когда он направлен вертикально вверх. Наша лабораторная установка и предназначена для наглядной демонстрации этого эффекта…

Примитивным аналогом такой установки может послужить известный многим «фокус». Практически каждому после небольшой тренировки удается удержать на кончике пальца стоящую вертикально палку. Равновесие мы удерживаем, благодаря едва заметным перемещениям пальца, не позволяя вектору центра тяжести выходить за пределы окружности поперечного сечения палки. А коли так, соблюдаются условия равновесия. Палец студенты заменили вращающимся маховиком. Появился гироскопический эффект, позволяющий маятнику устойчиво держать равновесие в непривычном положении.

И это еще не все. Сама по себе демонстрационная установка — лишь предтеча довольно серьезных исследований по устойчивости механической системы, имеющей лишь одну опору. Говоря проще, с помощью таких систем Кирилл и его коллеги изучают, каким образом может сохранить равновесие робот, «прыгающий на одной ножке».

— Подобные тренировки позволяют и нам, людям, устойчиво сохранять равновесие при ходьбе и даже беге, — пояснил Пшинник. — Этому же мы ныне «обучаем» и создаваемых нами роботов-андроидов. Научившись сохранять равновесие на одной опоре, он затем будет не только стоять устойчиво на своих двоих, но и сможет ходить, бегать и прыгать…

Пока что андроиды — не более чем экспериментальные модели. Но в будущем, как предполагают конструкторы, таким машинам можно будет доверить работу спасателей, пожарных, бойцов из отрядов спецназначения, которым зачастую приходится выполнять задания с риском для собственной жизни.

— Вашим читателям, наверное, будет интересно узнать, что начало научным исследованиям по «обратному маятнику» положил еще в первой половине прошлого века наш замечательный конструктор, академик В.Н. Челомей, — продолжал свой рассказ Кирилл. — Тот самый Владимир Николаевич Челомей, под руководством и при непосредственном участии которого были разработаны корабельные крылатые ракеты, могучая ракета-носитель «Протон», орбитальная станция специального назначения «Алмаз» и многие другие конструкции.

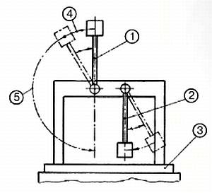
Парадокс: при определенных условиях (при совпадении собственной и возбуждающей частоты) положение маятника «вверх» так же устойчиво, как и положение «вниз». Цифрами обозначены:

1 — маятник в положении «вверх»; 2 — маятник в положении «вниз»; 3 — основание; 4 — величина возможного отклонения при сохранении равновесия; 5 — траектория перехода из положения «вверх» в положение «вниз».

Двигаясь по траектории 3, искривленной случайными воздействиями, ракета уйдет далеко от цели. А вот согласование динамических характеристик автопилота и ракеты на участке 2 выводит ее на нормальную траекторию 4, близкую к идеальной траектории 1.

При чем тут «обратный маятник»? — спросите вы. В свое время совсем еще молодой кандидат технических наук Владимир Челомей из уравнений движения вывел, что могут существовать условия, при которых положение маятника «вертикально вверх» так же устойчиво, как и «вертикально вниз». Иными словами, если маятник в таком положении чуть отклонить и освободить, он не свалится вниз, а вернется в первоначальное положение.

Исследователь опубликовал свои выводы, доложил их на ряде научных собраний, выслушал похвалы за ясность и изящество решения. Однако поначалу многие, в том числе и сам автор, сочли данную работу лишь теоретическим курьезом. Однако спустя много лет о данном решении пришлось вспомнить при довольно-таки драматических обстоятельствах. На испытаниях выяснилось, что очередная ракета в полете быстро и опасно раскачивалась. Теоретически «лечение» просто — надо изменить регулировку автопилота. Как это сделать практически, оказалось неясно.

Между тем шли госиспытания, и время поджимало…

Вот тогда-то Челомей вспомнил о своем давнем решении. И указал своим сотрудникам на сходство уравнений, описывающих движение маятника и системы «ракета — автопилот». Логика простая: если похожи уравнения, должны существовать условия, при которых колебания этой системы затухают. Исходя из этой на первый взгляд странной аналогии, такие условия нашли довольно быстро.

Но никто из специалистов их практическую ценность не осознал: как уже говорилось, трудно себе представить даже торчащий вверх маятник, а в то, что подобная штука способна утихомирить неустойчивую в полете ракету, и подавно никто не хотел верить…

Челомей спорить не стал. И для начала приказал срочно изготовить демонстрационный прибор: установить маятник на вибростол. Из решения задачи известно: если основание вибрирует с частотой, равной собственной — резонансной — маятника, то положение «вверх» устойчиво. Чтобы маятник «свалить», его надо отклонить на большой угол заметным усилием.

«Чудо» продемонстрировали на совещании ведущих специалистов ЦАГИ и других институтов АН СССР. Так вот, поколебав уверенность «всезнаек» таким довольно оригинальным способом, вскоре добились разрешения и на перестройку автопилота. Действительно, подавить колебания ракеты удалось, введя искусственно аналогичные колебания, но в противофазе, в автопилот.

— Так что воистину нет ничего практичнее хорошей теории, — подвел итог своему рассказу Кирилл Пшинник. — Теперь и мы в том убедились…

Станислав ЗИГУНЕНКО

Художник Ю. САРАФАНОВ

ВНИМАНИЕ, КОНКУРС!

Хотите узнать, как с помощью воды запустить не только игрушечную, но и самую настоящую ракету?

Выяснить, как на самом деле должны были происходить «звездные войны»?

Рассмотреть в подробностях, как устроен «космический дом»?

Тогда попробуйте для начала ответить на следующие три вопроса.

1. Когда и в какой стране был запущен первый искусственный спутник Земли?

2. На какой высоте начинается космос?

3. Для исследования какой планеты в 1997 г. был запущен космический аппарат «Кассини»? В честь кого его так назвали?

Пятерых из тех, кто ответит на вопросы конкурса быстрее и правильнее других, ждут призы — прекрасно изданные энциклопедии «Космонавтика» из фундаментальной серии издательства «Аванта+». К каждой книге прилагается CD-ROM с текстами избранных статей, космическими фотографиями, музыкой и даже мультиками.

Ответы, как обычно, присылайте в редакцию журнала «Юный техник». Не забудьте сделать на конверте пометку: «Конкурс «Аванта+».

Более 800 000 книг и аудиокниг! 📚

Получи 2 месяца Литрес Подписки в подарок и наслаждайся неограниченным чтением

ПОЛУЧИТЬ ПОДАРОК