Die Neckarwasser murmeln in Frankfurt-am-Main (Воды Некара журчат во Франкфурте-на-Майне)
Вы, наверное, не забыли, как в 1824 году талантливый французский физик Доминик Франсуа Араго демонстрировал коллегам по академии феномен «магнитного вращения». Напомню, он вращал постоянный магнит под немагнитным медным диском, и тот послушно следовал за магнитным стержнем или подковкой.
Полвека спустя английский физик У. Бейли заставил вращаться медный диск в меняющемся магнитном поле неподвижных электромагнитов. Он доказал, что, будь таких электромагнитов бесконечное множество, магнитное поле стало бы равномерно вращающимся. Это было явление, довольно трудно постигаемое электриками той поры. Многие интересовались им, но больше всех, пожалуй, сделали для понимания и практической реализации феномена итальянский профессор, член Туринской академии наук Галилео Феррарис и перебравшийся в Америку сербский инженер Никола Тесла. Оба независимо друг от друга и почти одновременно сконструировали модели двухфазных индукционных (асинхронных) двигателей и объяснили их действие.

Схема первоначального двигателя Н. Теслы

Двухфазный индукционный (асинхронный) двигатель Н. Теслы, изготовленный на заводах Вестингауза
Феррарис полагал получать сдвинутые по фазе токи от одного генератора при помощи сконструированной им фазосмещающей системы. В отличие от итальянского коллеги, Тесла был всю жизнь сторонником двухфазной системы, считая ее наиболее экономичной. Это была его ошибка. Но выяснилась она позже.
Двухфазная система требовала четырех проводов, что делало строительство более дорогим. Провода были, как правило, из меди. Именно медь имеет наименьшее электрическое сопротивление, потому и потери в медной линии были меньше, чем в стальной.
Тесла предложил четыре провода двухфазной линии передачи заменить тремя, объединив два из них в один – нулевой. Но по этому проводу шел больший ток, и его приходилось делать существенно толще. Выигрыш в металле оказывался ничтожным.
Тесла оказался не только исключительно талантливым инженером-изобретателем, но и весьма оборотистым дельцом. Так, только за 80-е годы он получил более 40 патентов на многофазные системы и в 1888 году продал их фирме Вестингауза, с которой сотрудничал несколько лет.
В то время конструкторы разных стран разрабатывали многофазные системы. В Англии много сил потратил на это Ч. Бредли. Он построил несколько оригинальных двухфазных и трехфазных генераторов. Однако, не будучи знаком с результатами опытов с вращающимся магнитным полем, он рассматривал все многофазные системы просто как сумму однофазных. И потребители на конце линии передачи энергии должны были включаться в свою однофазную пару проводов.

Схема пятипроводной системы распределения энергии между потребителями
Одну из первых многопроводных схем предложил швейцарский инженер Рене Тюри. И по его проекту была сооружена французская линия электропередачи Мутье-Лион длиной 180 км с напряжением 57 кВ. В строй она вошла в 1906 году.
На гидростанции Мутье последовательно были включены несколько динамо-машин. Напряжение подавалось в линию. В Лионе, на приемном конце, стояли также последовательно соединенные двигатели постоянного тока, которые, в свою очередь, вращали трехфазные генераторы переменного тока. И уж от них ток шел на предприятия и в дома города. Система получилась довольно сложной.
Тем не менее в мире было построено несколько многопроводных линий. Наибольшее распространение получила трехпроводная система распределения с двумя генераторами и вдвое большим напряжением в линии передачи. На нее в ряде городов стали переделывать даже уже имеющиеся двухпроводные системы.
Наибольший успех выпал на долю молодого русского инженера-конструктора германской фирмы «АЕG» Михаила Осиповича Доливо-Добровольского.

Михаил Осипович Доливо-Добровольский (1861–1919)
Михаил Доливо-Добровольский родился в Санкт-Петербурге в семье чиновника. В шестнадцать лет поступил в Рижский политехнический институт, но в результате студенческих волнений был исключен и закончил образование в Германии на электротехническом отделении машиностроительного факультета Дармштадтского высшего технического училища. По окончании учебы получил предложение остаться преподавателем в том же училище. Он согласился, но скоро перешел на заводы фирмы «Всеобщая электрическая компания» (Allgemeine Electricitats-Gesellschaft – AEG). Здесь и прошла почти вся его трудовая и творческая жизнь.
Он много занимался проблемами электротехнических измерений и, естественно, не мог не интересоваться проблемами передачи и распределения электроэнергии. Так, он изобрел очень простой и экономичный трехпроводный «делитель напряжения», который позволил использовать в линиях передачи постоянного тока напряжение вдвое большее, чем у потребителей.
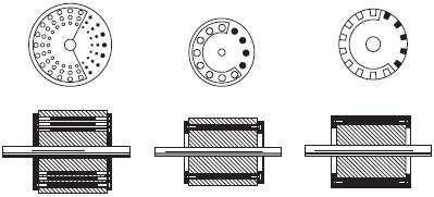
В 1888 году он познакомился с текстом доклада Г. Феррариса и сразу же стал думать о применении не двухфазного тока, как у Феррариса и Теслы, а трехфазного, то есть трех переменных токов, сдвинутых по фазе на одну треть периода (на 120°), создающих вращающееся магнитное поле. Но для широкого практического использования трехфазного тока следовало создать прежде всего соответствующий двигатель. И Доливо-Добровольский его изобретает. Это была удивительная машина с ротором, имеющим короткозамкнутую обмотку в виде «беличьего колеса». Михаил Осипович сразу же получает на него патент. Кстати, его конструкция асинхронного двигателя в принципе сохранилась и до наших дней, как, впрочем, и вся созданная Доливо-Добровольским трехфазная электрическая система.
Далеко не все видели в трехфазной системе панацею от всех бед передачи энергии на большие расстояния. Для обеспечения в линии высокого напряжения переменного тока нужны были трансформаторы. А система Доливо-Добровольского требовала сразу трех однофазных трансформаторов вместо одного при однофазной системе или двух – при двухфазной. Но трансформаторы были дорогие. Нужно было считать, что дешевле: три провода трехфазной системы плюс лишний трансформатор или три провода двухфазной системы с двумя трансформаторами, при условии, что нулевой провод будет иметь больший диаметр.
В 1889 году Михаил Осипович изобретает трехфазный трансформатор. Он пробует разные конфигурации, пока в 1891 году не приходит к конструкции с тремя стержнями, расположенными в одной плоскости. Один из опытов применения трехфазного тока был осуществлен на Лауфенской электростанции.

Варианты ротора с обмоткой «беличье колесо», представленные в патенте М. О. Доливо-Добровольского
Километрах в десяти от промышленного города Гейльброна находилось небольшое селение Лауфен с цементным заводом, который использовал для своего производства часть водной энергии реки Некара. То ли дела у лауфенского завода шли не блестяще, то ли другая какая-то причина возникла, только вдруг среди руководства пошли настойчивые разговоры о необходимости дополнительных финансов. А откуда их взять? Увеличивать выпуск продукции? Но для этого нужно дополнительное сырье и оборудование, то есть те же финансы. Кроме того, необходимы были люди, дополнительные рабочие руки. А Лауфен – селение небольшое. И большинство его жителей уже так или иначе пристроены!…
Слово «энергия» в переводе с греческого языка означает «деятельность». И в приложении к человеку определяет его решительность, настойчивость в достижении цели. В науке энергия есть общая мера различных видов движения и взаимодействия. Например, механическая энергия, тепловая, химическая, электрическая и так далее. Один вид энергии может превращаться в другой, и при всех превращениях общее ее значение не меняется. Это один из важнейших законов современного естествознания. Обсуждения способов получения дополнительной прибыли в правлении лауфенского цементного завода пришлись как раз на время нашумевших опытов передачи электрической энергии по проводам из одного города в другой. Помните линию Депре на Мюнхенской выставке и последующие опыты?
Энергия, энергия… А нельзя ли ее продать? Рядом река, быстротекущий Некар. Нельзя ли заключить силу его течения при помощи электричества в провода и продать, скажем, в промышленный Гейльброн? Там бумажные и химические фабрики, металлические, винодельческие и прочие заводы, которым постоянно не хватает как раз энергии.

Схематический чертеж первичной станции в Лауфене на Некаре
Сначала решили на готовой плотине поставить динамо-машину и соорудить десятикилометровую линию постоянного тока. Она как раз покрыла бы расстояние от Лауфена до Гейльброна. Но инженер Оскар фон Миллер, тот самый, который пригласил Марселя Депре для постройки линии передачи энергии из Мисбаха в Мюнхен, предложил использовать новый трехфазный ток. После некоторых раздумий дирекция цементного завода согласилась.
Но пока шли подготовительные работы, планы переменились. Компания AEG предложила передать энергию из Лауфена не только в Гейльброн, но и дальше, во Франкфурт-на-Майне, за 175 км от места ее выработки! Победить такое расстояние даже в голову никому пока не приходило.
А поскольку большую часть расходов брала на себя АЕG, то работы вскоре начались. На плотине в Лауфене поставили три турбины мощностью по 300 лошадиных сил и соединили их с машинами трехфазного тока. Толстые медные провода подвесили на восьмиметровых столбах, прикрепив их к большим изоляторам. Три отдельных повышающих трансформатора, обмотки которых были для лучшей изоляции погружены в минеральное масло, подняли напряжение до 8,5 кВ. Тоже, между прочим, небывалое напряжение.
У потребителей в конце линии поставили понижающие трансформаторы, которые питали изобретенные Доливо-Добровольским трехфазные двигатели, требовавшие напряжения 65 В. Таким же напряжением зажигали и лампочки накаливания.

Масляный трансформатор Лауфенской электростанции
Если учесть, что система носила все же характер экспериментальной, то можно признать ее успех полным! На Франкфуртской выставке энергия воды Некара, переданная по проводам, приводила в действие водяной насос, который поднимал воду для водопада на высоту 10 м. И снова посетители, задирая голову, терпеливо ожидали моментов пуска воды и в восторге кричали: «O! Das ist wundervoller Wasserfall! Die Neckarwasser murmeln in Frankfurt-am-Main!» («О! Это удивительный водопад! Воды Некара журчат во Франкфурте-на-Майне!»)
Удачный опыт дал мощный толчок промышленному развитию электрических сетей. Во всем мире люди стали внимательно присматриваться к запасам водной энергии. Несколько гидроэлектростанций были построены в Европе. Но самой большой в мире стала американская гидроэлектростанция, построенная на Ниагарском водопаде.
История этого строительства небезынтересна. Известно, что Ниагара находится на самой границе Соединенных Штатов и Канады. И в 1889 году, еще до пуска Лауфенской станции, в Америке возникло акционерное общество, которое приобрело права на использование от водопада 200 000 лошадиных сил мощности с американской стороны и 250 000 – с канадской. Совет директоров принял решение о постройке электрической линии передачи. По рекомендации английского электрика профессора Форбса электростанцию задумали разбить на отдельные части, каждая мощностью в 5000 лошадиных сил, и применить двухфазную систему Теслы. В целом Ниагарская электростанция была поистине грандиозным сооружением.

Двигатель трехфазного тока в 100 лошадиных сил конструкции М. О. Доливо-Добровольского, установленный во Франкфурте-на-Майне
Но строителям не повезло. В своем первоначальном виде электростанция проработала недолго. Скоро практичные американцы убедились, что трехфазный ток гораздо выгоднее всех прочих систем. И станция встала на переделку.
Более 800 000 книг и аудиокниг! 📚
Получи 2 месяца Литрес Подписки в подарок и наслаждайся неограниченным чтением
ПОЛУЧИТЬ ПОДАРОК