Читающий робот

Физик Фурнье д’Альб в 1912 г. изобрел такой механизм, который является как бы диктофоном наизнанку. Д’Альб назвал его оптофоном. Назначение оптофона — читать печатный текст. Этот не менее замечательный робот, чем диктофон, д’Альб предназначает в помощь слепым, которые хотели бы читать книги, напечатанные обычным шрифтом.

Для слепых печатают особые книги с выпуклыми буквами (шрифт Брайля). Слепые ощупывают их пальцами и таким образом читают. Эти книги очень громоздки и печатаются в небольшом количестве. Обычные печатные книги для слепых не доступны, так как осязание здесь помочь не может.

Задача оптофона состоит в том, чтобы каждую печатную букву передавать в виде определенного сочетания музыкальных тонов — аккордов.

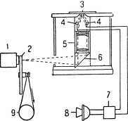
Оптофон Фурнье д’Альба. 1 — фонарь с лампой; 2 — вращающийся диск с отверстиями; 3 — книга; 4 — селеновый фотоэлемент; 5 — объектив; 6 — призма, отражающая свет от лампы вверх; 7 — телефонное реле; 8 — рупор.

Устройство первоначального оптофона д’Альба заключалось в следующем. Перед лампой с одной светящейся нитью вращается металлический диск с прорезанными в нем круглыми отверстиями. Эти отверстия расположены по пяти концентрическим кругам. Свет лампы, прошедший через отверстия, падает на отражающую поверхность трехгранной призмы и идет дальше через объектив и узкую щель в металлической пластинке на бумагу. Отразившись от бумаги, свет падает на селеновый элемент, изготовленный в форме кольца. Так как благодаря вращающемуся диску свет получается прерывистый, то и ток в цепи селенового элемента будет пульсирующим. От этого включенный в цепь телефон будет звучать.

Отверстия в диске подобраны так, что получаются тона: соль, до, ре, ми, соль. Книгу двигают так, чтобы под щелью проходила каждая строчка от начала до конца. Свет, отраженный от белой поверхности, дает неприятный аккорд. Когда под щелью оказывается какая-нибудь буква, звуки, соответствующие черным частям, выпадают, и аккорд делается приятным, причем по мере движения по буквам состав аккорда изменяется.

Расположение шрифта под оконцем оптофона.

Опыты с оптофоном показывают, что для заучивания звуковой азбуки требуется около восьми часов. «Читать» с оптофоном слепой выучивается в двадцать часов.

Такой аппарат называется оптофоном с «белым звучанием». Это значит, что он звучит всякий раз, как под щелью находится белая поверхность бумаги.

Непрерывное звучание утомляет читающего. Поэтому англичане Барр и Страуд так видоизменили селеновую установку оптофона, что он стал давать «черное звучание» Это значит, что звуки в таком оптофоне получаются только в том случае, когда под щелью находятся черные части букв. Между словами такой оптофон молчит. Это менее утомляет человека, пользующегося оптофоном.

Еще один аппарат с фотоэлементами, позволяющий слепым читать любой печатный текст, был изобретен недавно французом А. Тома.

Во время мировой войны он в результате контузии лишился зрения. Это подействовала на него крайне тягостно. Тома готов был примириться с тем, что не видит неба, земли, лиц окружающих, но невозможность самостоятельно читать газеты, журналы, книги приводила его в глубокое отчаяние, и ему захотелось изобрести такой аппарат, который помог бы читать обычные книги.

Через шесть месяцев после катастрофы с его глазами случилось «чудо» — болезнь, вызванная контузией, прошла, и зрение у Тома восстановилось; тьма, непроницаемо окутывавшая весь мир, рассеялась. Краски жизни заблестели для Тома ярче прежнего. Он снова стал свободно читать журналы, газеты, книги. Однако, мысли об аппарате, который позволил бы слепым читать любой печатный текст, он не оставил.

В 1924 г. Тома построил первую модель своего аппарата, еще очень не совершенную). Но она все же действовала. На протяжении дальнейших шести-семи лет — к 1931 г. — этот аппарат, получивший название фотоэлектрографа, был значительно улучшен, и в настоящее время он работает безукоризненно.

Фотоэлектрограф Тома (общий вид). В центре тележка с книгой. Над ней в большом цилиндре лампа, левее объектив. Справа от тележки на столе пластинка с отверстиями. Эта пластинка показана в увеличенном виде слева вверху.

Всякую печатную букву фотоэлектрограф превращает в ряд выпуклых точек, которые ощупываются пальцами руки. По внешности весь аппарат походит на письменный стол канцелярского типа с несколькими ящиками в высокой задней стенке. На доске стола по двум рельсам движется вправо и влево тележка, на которой помещается книга или газета. Над тележкой в закрытом непрозрачном цилиндре находится электрическая лампа, ярко освещающая небольшой участок текста. Отраженный свет попадает а объектив проекционного аппарата, который дает сильно увеличенное изображение только одной буквы на экране в закрытом помещении стола. Этот экран состоит из сорока двух селеновых элементов, каждый из которых через реле соединен со своим электромагнитом. Якоря этих электромагнитов представляют собою рычажки, подобные коромыслу весов. Когда один конец рычажка, притягиваясь к электромагниту, опускается, то другой при этом поднимается и толкает вверх прикрепленный к нему стерженек с тупым верхним концом.

Схема устройства фотоэлектрографа. Л — лампа; А — аккумуляторы; ЛЗ — линза; Э — экран из селеновых элементов; ПО — пластинки с отверстиями; С — стерженек; ФЭ — фотоэлемент; ЭM1 — первое электромагнитное реле; ЭМ2 — второе электромагнитное реле.

Реле устроено так, что когда на селеновый элемент падает яркий свет, то электромагнит бывает выключен и поэтому не действует. Но лишь только на электрический глаз попадет тень буквы, реле включит электромагнит, который сейчас же поднимет свой стерженек.

Все электромагниты и связанные с ними сорок два стерженька находятся под крышкой стола с правой стороны. Здесь же, в крышке, на небольшой прямоугольной площади высверлены отверстия по числу стерженьков.

Как только на экран из фотоэлементов попадет изображение какой-либо буквы, некоторые электромагниты просунут стерженьки через отверстия, и над поверхностью стола получится выпуклое изображение буквы, составленное концами стерженьков. Прикасаясь к этим выпуклым точкам рукою, нетрудно узнать составленную ими букву. Так, буква за буквой, под рукою слепого проходят слова, строчки и целые страницы книги. Скорость движения тележки регулируется вращением специального маховичка, который поворачивается левой рукой.

Фотоэлектрограф Тома в работе. Изобретатель Тома читает правой рукой.

Обычными печатными буквами могут пользоваться лишь те слепые, которые их знали, когда были еще зрячими. Но есть слепые от рождения. Для них француз Брайль изобрел упрощенные буквы, для составления которых достаточно только шести точек.

Тома приспособил свой фотоэлектрограф и для шрифта Брайля. Такой аппарат любую печатную букву передает сочетанием шести точек.

Основная идея фотоэлектрографа Тома использована в ряде других еще более замечательных аппаратов. Так, например, американский инженер Хоуви создал фотоэлектрическую гравировальную машину, состоящую из «видящей» части и исполнительной. В видящей части находится фотоэлемент, который точку за точкой осматривает подлежащую гравировке картину со скоростью 60 кв. см в минуту. Исполнительная часть с той же скоростью гравирует картину, то есть вырезывает или насекает на пластинке из подходящего металла. Машина Хоуви исполняет работу в течение немногих минут, в то время как человеку для той же работы требуется пять — десять дней, а иногда и больше.

Более 800 000 книг и аудиокниг! 📚

Получи 2 месяца Литрес Подписки в подарок и наслаждайся неограниченным чтением

ПОЛУЧИТЬ ПОДАРОК