Доработка осциллографа

Работая с тем или иным осциллографом, радиолюбители порок» совершенствуют его, стараясь сделать его более удобным в обращении либо расширить возможности. Надеясь, что подобный опыт может пригодиться другим владельцам осциллографов, познакомимся с некоторыми предложениями.

Осциллограф серии ОМЛ. Несмотря на надежность в работе, у него есть недостаток — неудобство в пользовании переключателем длительности развертки. Поэтому Г. Тимофеев из пос. Мещерино Московской обл. доработал осциллограф — поставил взамен кнопочных переключателей П2К галетный ПГ2-7-12ПЗНТ (рис. 70). Резисторы делителя остаются прежние, поэтому никакого налаживания после доработки не потребуется.

Для установки галетного переключателя нужно удалить пять верхних секций переключателя длительностей и укоротить верхнюю часть планки переключателя, а конец оставшейся нижней части плавки закрепить небольшой металлической перемычкой. Кроме того, необходимо обрезать по диагонали высоту передней панели около переменного резистора «СИНХР.», чтобы расширить место под переключатель.

В передней панели растачивают отверстие клавиши «5–0,5—50» под диаметр резьбового фланца галетного переключателя, а оставшиеся отверстия закрывают декоративной пластиной с надписями положений переключателя. К выводам контактов переключателя подпаивают резисторы делителя в соответствии со схемой, приведенной на рис. 71.

Помимо указанной доработки, можно установить на передней панели между регулировками яркости, фокусировки и смещения луча светодиод, подключив его через ограничительный резистор (его сопротивление зависит от используемого светодиода) к источнику постоянного напряжения +10 В. И теперь светодиод будет сигнализировать о включении осциллографа.

Галетный переключатель может быть и с одной секцией (рис. 72) — такую доработку провел В. Лазарев из г. Каменка-Днепровская Запорожской обл. Все резисторы — прежние, их позиционные обозначения соответствуют приведенным на принципиальной схеме осциллографа ОМЛ.

Барнаульский радиолюбитель В. Ростовский предложил для осциллографа ОМЛ-ЗМ изготовить приставку (рис. 73), позволяющую более плавно изменять частоту развертки. Работать с такой приставкой менее хлопотно, чем с кнопочным переключателем осциллографа.

Приставка содержит галетный переключатель SA1, с помощью которого устанавливают нужный диапазон частот развертки, набор конденсаторов C1-С8 и цепочку плавного изменения частоты из последовательно соединенных резисторов R1 и R2. В положении «1» переключателя переменным резистором R1 можно изменять частоту развертки от 30 до 100 Гц, в положение «2» — от 100 до 300 Гц, в положении «3» — от 300 Гц до 1 кГц, в положении «4» — от 1 до 3 кГц, в положении «5» — от 3 до 10 кГц, в положении «6» — от 10 до 30 кГц, в положении «7» — от 30 до 100 кГц, в положении «8» — от 100 до 3000 кГц, в положении «9» (в этом случае «работает» конденсатор С5 осциллографа емкостью 1000 пФ) — от 300 кГц до 1 МГц.

Конденсатора должны быть бумажные, слюдяные или керамические. От точности их подбора зависит точность «воспроизведения» указанных частот. Переменный резистор — СПО-1 или СПЗ-4аМ. Детали приставки монтируют в подходящем по габаритам корпусе, на лицевой панели которого укрепляют переключатель и переменный резистор, а через отверстие в боковой стенке выводят четырехпроводный шнур (или просто четыре монтажных проводника в изоляции) и подпаивают концы проводников к штырькам малогабаритного разъема ХТ1. Гнездовую часть разъема укрепляют на пластмассовой скобе, расположенной на задней стенке осциллографа. Проводники от гнездовой части пропускают через одно из отверстий в задней стенке и соединяют их с соответствующими контактами платы генератора развертки (для доступа к этой плате придется снять верхнюю половину корпуса осциллографа).

При работе приставки кнопка «МС-МКС» осциллографа должна быть нажата, а остальные кнопки установки длительности развертки отпущены.

Если нужно установить более точно указанные границы частот в каждом положении переключателя (кроме «9») приставки, следует подобрать соответствующие конденсаторы.

И еще одно предложение, правка, касающееся не самого осциллографа, а его кабеля со щупами. Упоминавшийся выше Г. Тимофеев из Подмосковья заметил, что щупы выносного кабеля не только неудобны порою, а и небезопасны при проверке цепей с большим напряжением. Поэтому он немного доработал выносной кабель, заменив его входной щуп самодельным (рис. 74).

В качестве корпуса 6 входного щупа использован корпус фломастера. Через отверстие в пробке 7 (внутренний конец пробки укорочен), пропущен кабель 5, к его металлической оплетке 2 (она должна возможно ближе подходить к щупу 1, чтобы исключить наводки от руки на щупе припаян многожильный провод 3 с зажимом «крокодил» 4 на конце — это «земляной» щуп.

Входной щуп 1 — штырек от разъема типа ШР. После подпайки к штырьку проводника кабеля штырек в горячем виде запрессовывают в корпус фломастера. Внутреннюю полость корпуса готового щупа желательно заполнить эпоксидной смолой.

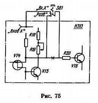
Осциллограф Н313. В нем, как и в некоторых других осциллографах, отсутствует режим внешней развертки, что значительно сужает возможности использования осциллографа и подключения к нему описываемых приставок. Несложная доработка, предложенная С. Торбиным из г. Челябинска, позволит превратить этот осциллограф в «полноценный» измерительный прибор.

На рис. 75 приведена часть схемы осциллографа Н313, подлежащая доработке. Нужно разомкнуть лишь цепь соединения резистора R20 с транзисторами VT4 и VT5 и подвести проводники от разомкнутых участков к кнопочному переключателю SB1, который соединяют также с гнездом «ВХОД X» осциллографа.

В показанном на схеме положении переключателя усилитель канала X оказывается подключенным к гнезду «ВХОД X», и на это гнездо теперь можно подавать внешнее напряжение развертки. Когда же кнопку нажимают, осциллографом пользуются как и прежде, до доработки.

Практически доработка сводится к перерезанию токопроводящей дорожки на плате (рис. 76) и подпайке проводников в изоляции от дорожек и указанного выше гнезда к переключателю (например, типа П2К), установленному на задней стенке осциллографа.

Осциллограф ОР-1. У этого осциллографа отсутствует вход канала горизонтального отклонения и не выведено пилообразное напряжение. Восполнить эти недостатки позволит предложение москвича А. Суворова — разрезать проводник печатной платы (рис. 77), идущий к затвору транзистора VT23, и соединить получившиеся концы отрезками экранированных проводов с переключателем SB1 и гнездом XS1 выхода пилообразного напряжения. Эти элементы, как и гнездо XS2 горизонтального входа, а также регулятор усиления R1 в режиме внешней развертки, укрепляют на корпусе осциллографа.

Приведенные примеры позволят провести аналогичные доработки и в других осциллографах.

Более 800 000 книг и аудиокниг! 📚

Получи 2 месяца Литрес Подписки в подарок и наслаждайся неограниченным чтением

ПОЛУЧИТЬ ПОДАРОК