3.3.3 Механический привод выключения сцепления с пневмоусилителем

На автомобилях Урал, МАЗ с двигателями ЯМЗ-236М2 и ЯМЗ-238М2 с двухдисковыми сцеплениями устанавливается механический привод с пневматическим усилителем. На автомобилях Урал могут быть установлены диафрагменные однодисковые сцепления ЯМЗ-182 или ЯМЗ-183 вытяжного типа с гидравлическим приводом и пневмогидроусилителем.

При воздействии на педаль сцепления 16 (рисунок 3.12) усилие через рычаг 11 и детали тяги 9 передается на шток пневматического крана 1, открывая его клапан. Давление воздуха из пневмосистемы автомобиля через шланг 19 поступает в цилиндр 20, который дополнительно воздействует на рычаг 18.

1 – кран пневматический; 2 – контргайка; 3 – болт регулировочный; 4 – тяга с компенсатором; 5 – кронштейн; 6,22 – рычаги тормозного крана; 7 – рычаг привода сцепления; 8, 19 – шланги; 9 – тяга педали сцепления; 10 – тяга педали тормоза; 11 – рычаг вала педали сцепления; 12 – вал педали сцепления; 13 – ограничитель хода педали сцепления; 14 – пружина оттяжная педали тормоза; 15 – пружина педали сцепления; 16 – педаль сцепления; 17 – педаль тормоза; 18 – рычаг вала вилки выключения сцепления; 20 – пневмоцилиндр; 21 – тяга тормозного крана; L – полный ход педали сцепления; L1 – полный ход педали тормоза

Рисунок 3.12 – Привод выключения сцепления автомобилей Урал

Привод выключения сцепления с пневматическим усилителем автомобилей МАЗ показан на рисунке 3.13. Клапан 16 с тягой 9 в сборе включен в механический привод последовательно, а рабочий цилиндр 13 усилителя установлен непосредственно на силовом агрегате параллельно механическому приводу. Двуплечий рычаг 11 соединен со штоком клапана и штоком рабочего цилиндра.

1,6,9 – тяги; 2 – педаль; 3 – палец; 4,7,11 – рычаги; 5 – оттяжная пружина; 8,12,15 – вилки; 10 – стопорное кольцо; 13 – цилиндр; 14 – шток цилиндра; 16 – клапан; А – зазор

Рисунок 3.13 – Привод выключения сцепления

Отверстие А клапана усилителя сцепления (рисунок 3.14) соединено шлангом с тормозным краном и поэтому находится под давлением воздуха пневмосистемы, отверстие Б – с надпоршневым пространством цилиндра усилителя (рисунок 3.14,а), а отверстие В (рисунок 3.14) в штоке клапана – с атмосферой.

2,4,11 – гайки; 3 – тяга; 5 – передняя крышка; 6,8,14 – уплотнительные кольца; 7 – корпус клапана; 9 – шток; 10,15 – стопорные кольца; 13 – задняя крышка; 16,18 – пружина; 17 – канал подвода сжатого воздуха к клапану; Б – канал подвода сжатого воздуха к цилиндру; В – выпускное отверстие

Рисунок 3.14 – Клапан усилителя выключения сцепления

При нажатии водителем на педаль сцепления через систему рычагов тяга 9 (рисунок 3.13) вместе с корпусом клапана усилителя перемещается вправо, выбирая зазор А между стопорным кольцом 10 и крышкой корпуса клапана. При этом клапан 17 (рисунок 3.14) упирается в шток 9 клапана и отрывается от гнезда. Воздух под давлением из полости А устремляется в полость Б и далее в надпоршневое пространство цилиндра усилителя. Под воздействием давления воздуха поршень цилиндра перемещается влево, способствуя повороту двуплечего рычага против часовой стрелки, что обеспечивает применение меньшего усилия на педали для выключения сцепления. При снятии усилия с педали клапан пружиной 17 прижимается к своему гнезду, а воздух из цилиндра через выпускное отверстие В выходит в атмосферу.

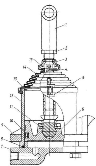
1 – вилка; 2 – гайка; 3 – шток; 4 – шплинт; 5 – стяжная лента; 6 – поршень; 7 – крышка; 8 – уплотнительное кольцо; 9 – кронштейн; 10 – манжета; 11 – стопорное кольцо; 12 – корпус; 13 – кольцо; 14 – чехол;15 – колпак фильтра

Рисунок 3.14,а – Цилиндр усилителя выключения сцепления

Более 800 000 книг и аудиокниг! 📚

Получи 2 месяца Литрес Подписки в подарок и наслаждайся неограниченным чтением

ПОЛУЧИТЬ ПОДАРОК