3.7 Полуоси большегрузных автомобилей

Полуоси (рисунок 3.52 и 3.53) передают крутящий момент от полуосевого зубчатого колеса дифференциала на ступицу ведущего колеса. К полуоси могут быть приложены изгибающие моменты от вертикальной реакции на действие силы тяжести, приходящейся на колесо, от касательной реакции, обусловленной тяговой и тормозной силами, и от боковой силы, возникающей при заносе, а также под действием бокового ветра.

а – с фланцем и шлицевой нарезкой, б – со шлицами на обоих концах

Рисунок 3.52 – Полуоси

Полуоси, в зависимости от конструкции внешней опоры, определяющей степень их нагруженности изгибающими моментами, бывают двух типов – полуразгруженные и разгруженные. По конструкции полуоси могут иметь на одном конце фланец для крепления болтами к ступице колеса, а на другом шлицевую часть, входящую в зацепление с полуосевым зубчатым колесом дифференциала. Другая конструкция предусматривает шлицевую часть на обоих концах полуоси.

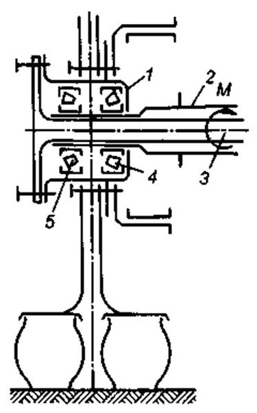
1 – ступица; 2 – кожух полуоси; 3 – полуось; 4, 5 – подшипники

Рисунок 3.53 – Кинематическая схема полуосей

Полуоси в процессе эксплуатации автомобилей испытывают значительные нагрузки, особенно при движении по грунту и по шоссе с твердым покрытием в плохом состоянии. Поэтому к полуосям предъявляют особые требования. Снижение напряжений достигается увеличением радиусов перехода между полуосью и фланцем. Долговечность подшипников колёс обеспечивается надёжной зашитой от попадания в них грязи.

Полуоси у всех рассмотренных автомобилей полностью разгруженные, т. е. не воспринимают изгибающих моментов, а передают только крутящий момент. Все изгибающие моменты воспринимаются подшипниками, установленными между ступицей колеса и кожухом полуоси, а полуось передает только крутящий момент.

Полуоси автомобилей МАЗ на обоих концах имеют шлицы, которыми они соединяются с одной стороны с полуосевой шестерней дифференциала, а с другой – с ведущей шестерней колёсного редуктора. На всех остальных автомобилях полуоси шлицами соединяются только с дифференциалом, а к ступицам колёс крепятся с помощью фланца. Полуоси передних ведущих мостов автомобилей состоят из двух частей, соединённых между собой шарниром равных угловых скоростей, который обеспечивает передачу крутящего момента от дифференциала на колёса как при прямолинейном движении автомобиля, так и при повороте.

Более 800 000 книг и аудиокниг! 📚

Получи 2 месяца Литрес Подписки в подарок и наслаждайся неограниченным чтением

ПОЛУЧИТЬ ПОДАРОК