3.4.6 Коробка передач автомобилей КрАЗ

На автомобилях КрАЗ устанавливают механические коробки передач ЯМЗ, с неподвижными осями валов, шестернями постоянного зацепления (кроме шестерён I передачи и заднего хода), трехходовые, пятиступенчатые, с синхронизаторами на II – III и IV – V передачах, обеспечивающими безударное и бесшумное переключение передач.

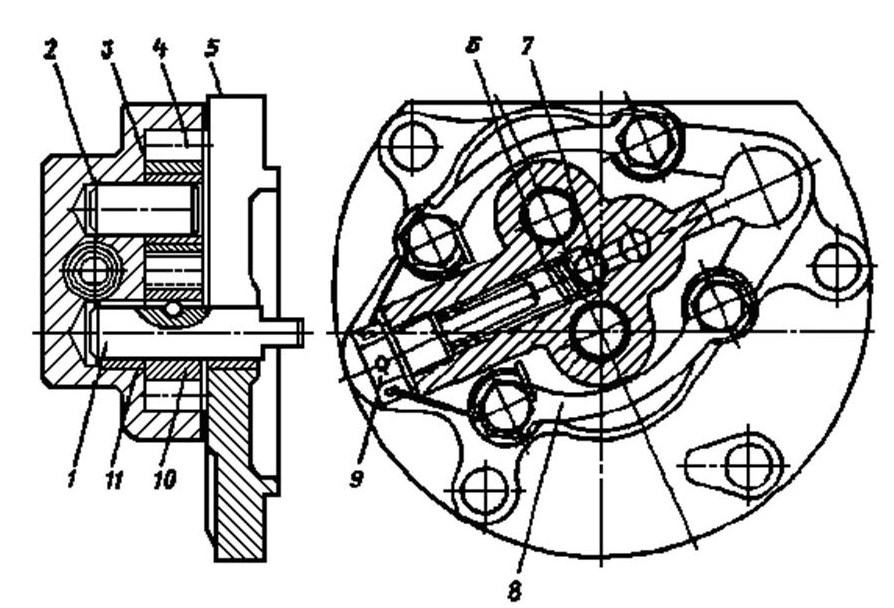
Картер 64 коробки передач (рисунок 3.29) отлит из серого чугуна и крепится к картеру сцепления 3 восемью болтами. Картер коробки центрируется в картере сцепления поверхностью крышки 2. На левой стороне картера расположено контрольное отверстие для проверки уровня масла в картере, а в нижней части – два резьбовых отверстия для слива масла, закрытых пробками 48 и 49. В нижней части картера предусмотрено окно для установки крышки 51 с магнитом 53 и сеткой 54, служащей для фильтрации масла, которое по каналу поступает к насосу 65. Между крышкой и картером установлена уплотнительная прокладка. В передней и задней стенках картера расположены отверстия для установки подшипников и резьбовые отверстия для крепления крышек подшипников 2, 42 и 43.

В коробке передач установлены три вала: ведущий 1, ведомый 21 и промежуточный 46. На ведущем валу выполнена косозубая шестерня постоянного зацепления, зубчатый венец для включения четвёртой передачи и конус для синхронизатора. Вал вращается на двух подшипниках. Передний шарикоподшипник установлен в гнезде коленчатого вала двигателя, задний 5 – в гнезде, выполненном в передней стенке картера коробки.

1 – ведущий вал; 2 – крышка подшипника ведущего вала; 3 – картер сцепления; 4 – сальник; 5 – подшипник ведущего вала; 6 – маслоотводная трубка; 7 – передний подшипник ведомого вала; 8 – синхронизатор IV и V передач; 9 – вилка; 10 – рукоятка рычага; 11 – пружина стопорного шарика; 12 – втулка шестерни III передачи; 13 – сапун; 14 – вилка переключения II и III передач; 15 – синхронизатор II и III передач; 16 – шестерня II передачи ведомого вала; 17 – упорное кольцо; 18 – вилка переключения I передачи и заднего хода; 19 – шестерня I передачи в заднего хода; 20 – задний подшипник ведомого вала; 21 – ведомый вал; 22 – стакан пружины предохранителя; 23 – пружина предохранителя; 24 – ось поводка; 25 – штифт предохранителя; 26 – защитный колпак; 27 – штифт-фиксатор; 28 – пружина рычага; 29 – опора рычага; 30 – крышка коробки передач; 31 – пробка маслозаливного отверстия; 32 – шарик замка штоков; 33 – штифт замка штоков; 34 – установочный винт; 35 – поводок; 36 – фланец; 37 – ось блока промежуточных шестерен заднего хода; 38 – промежуточная втулка; 39 – игольчатый подшипник; 40 – блок промежуточных шестерен заднего хода; 41 – сальник; 42 – крышка заднего подшипника вторичного вала; 43 – крышка заднего подшипника промежуточного вала; 44 – упорная шайба; 45 – задний подшипник промежуточного вала; 46 – промежуточный вал; 47 – шестерня заднего хода промежуточного вала; 48 – пробка маслосливного отверстия; 49 – шестерня II передачи промежуточного вала; 50 – распорная втулка; 51 – крышка; 52 – пружинное кольцо магнита; 53 – магнит; 54 – сетка заборника масла; 55 – шестерня III передачи промежуточного вала; 56 – шестерня V передачи промежуточного вала; 57 – шлицевая втулка синхронизатора; 58 – шестерня III передачи ведомого вала; 59 – пробка маслосливного отверстия; 60 – втулка шестерни V передачи ведомого вала; 61 – шестерня V передачи ведомого вала, 62 – шестерня отбора мощности; 63 – ведомая шестерня промежуточного вала; 64 – картер коробки передач; 65 – масляный насос; 66 – кольцевая гайка

Рисунок 3.29 – Коробка передач автомобилей КрАЗ

От осевого перемещения в картере вал 1 удерживается стопорным кольцом подшипника и крышкой 2. Задний подшипник 5 напрессован на ведущий вал и дополнительно удерживается кольцевой гайкой 66.

На шлицевом конце ведущего вала установлены ведомые диски сцепления, передающие крутящий момент от двигателя к коробке передач. Задняя цилиндрическая часть вала служит опорой консольному выступу крышки 2 заднего подшипника вала, на котором перемещается муфта выжимного подшипника сцепления. Для предотвращения утечки масла из коробки передач ведущий вал уплотнён сальником 4.

В заднем торце вала выполнена выточка под передний подшипник 7 ведомого вала коробки и просверлены каналы для подвода масла к трущимся поверхностям шестерён и синхронизаторов ведомого вала. С целью предотвращения утечки масла между задним торцом ведущего вала и передним торцом ведомого вала установлена маслоотводная трубка 6.

Ведомый вал 21 расположен в коробке соосно с ведущим валом и вращается на двух подшипниках: роликовом цилиндрическом 7, расположенном в гнезде ведущего вала, и шариковом 20, установленном в гнезде, выполненном в задней стенке картера коробки передач. Шариковый подшипник 20 предохранён от осевого смещения стопорным кольцом, размещённым между задней обработанной поверхностью картера коробки и выточкой крышки 42 подшипника. Ведомый вал изготовлен из легированной стали, цементирован и закалён. По оси вала со стороны переднего роликового подшипника 7 выполнено ступенчатое отверстие, через которое подаётся смазка к втулкам шестерен II, III и V передач по соответствующим радиальным сверлениям.

На заднем шлицевом конце ведомого вала установлен фланец 36 для крепления основного промежуточного карданного вала. Между торцом фланца и подшипником поставлена распорная втулка. Гайка крепления фланца стопорится выпуклой пружинной шайбой и шплинтом. Роликовый подшипник 7 установлен на шейке вала и от осевого перемещения удерживается стопорным кольцом.

На ведомом валу свободно вращаются на подшипниках скольжения косозубые шестерни 61, 58 и 16, находящиеся в постоянном зацеплении с соответствующими шестернями 56, 55 и 49 промежуточного вала 46. Шестерня 19 (I передачи и заднего хода) перемещается по прямым шлицам, нарезанным на валу.

Шестерни ведомого и промежуточного валов изготовлены из легированной стали, цементированы и закалены. Между шестернями 16 и 58 (II и III передач) на ведомом валу размещён синхронизатор 15. Второй синхронизатор 8 включения IV и V передач размещён на шейке ведомого вала между торцом ведущего вала 1 и шестерней 61 V передачи.

Шестерня 16 установлена непосредственно на шейке ведомого вала. Ее перемещение вдоль оси вала ограничено с одной стороны упорным кольцом 17, а с другой – шлицевой втулкой 57 синхронизатора, напрессованной на шейку ведомого вала после установки сегментных шпонок. На следующую шейку ведомого вала напрессована цементированная и закалённая втулка 12 шестерни 58 III передачи. На наружной поверхности втулки выполнены полукруглые канавки, образующие карманы для смазки и удержания частиц износа. За одно с шестерней 58 выполнен зубчатый венец для включения III передачи и конус для синхронизатора. Аналогичные венцы и конусные поверхности имеют шестерни II, IV и V передач.

Втулка 60 также напрессована на шейку ведомого вала. Она служит подшипником скольжения шестерни 61 (V передачи). Втулка изготовлена из стали, цементирована и закалена. На наружной поверхности втулки выполнено 12 полукруглых канавок для смазки и удержания частиц износа. В обеих втулках 12 и 60 имеются отверстия для подвода смазки.

Шестерня 61 в осевом направлении фиксируется с одной стороны буртиком втулки, с другой – специальной упорной зубчатой шайбой и фигурной шпонкой, запирающей шайбу. Зазор между упорной шайбой и шестерней, необходимый для свободного вращения шестерни на валу, должен быть не более 0,15 мм. Указанный зазор обеспечивается установкой упорной шайбы одного из трех размеров по толщине.

Промежуточный вал 46 вращается на двух подшипниках: переднем роликовом и заднем шариковом 45. Роликовый подшипник установлен на переднюю шейку промежуточного вала и зафиксирован на ней стопорным кольцом. Задний подшипник смонтирован на шейке вала и зафиксирован на ней упорной шайбой 44. Шайба, в свою очередь, крепится двумя болтами к торцу вала. Осевые нагрузки воспринимаются стопорным кольцом заднего подшипника. Подшипник 45 закрыт глухой крышкой 43. Между крышкой и картером установлена картонная прокладка. На промежуточном валу размещено шесть шестерён, причём одна из них – шестерня 47 (I передачи и заднего хода) выполнена за одно с валом. Остальные шестерни напрессованы на вал и дополнительно предохранены от проворачивания сегментными шпонками. Шестерня 62 предназначена для отбора мощности при установке механизма отбора мощности. Шестерня 63 находится в постоянном зацеплении с шестерней ведущего вала. В выточку вала после напрессовки шестерни 63 постоянного зацепления установлено замочное кольцо. В переднем торце промежуточного вала сделана прорезь для соединения со шлицевым концом валика масляного насоса 65.

Блок шестерён 40 заднего хода установлен слева от промежуточного вала на двух роликовых подшипниках 39. Между подшипниками установлена промежуточная втулка 38. Ось 37 блока шестерён изготовлена из стали, цементирована и закалена. Она неподвижно установлена в картере коробки и фиксируется от проворачивания выступом крышки 43 заднего подшипника промежуточного вала.

Безударное включение передач обеспечивается двумя синхронизаторами (рисунок 3.30) инерционного типа.

Синхронизаторы облегчают включение II и III, IV и V передач. Выравнивание угловых скоростей осуществляется благодаря трению между конусным кольцом синхронизатора и конусом шестерни.

Каждый синхронизатор состоит из цилиндрического корпуса 5, на внутренней поверхности которого с обеих сторон запрессованы бронзовые конические кольца 10, и муфты 8 с зубчатыми венцами 9, которая может перемещаться по шлицам вала коробки передач. Выступы 6 муфты входят в фигурные вырезы 3 корпуса синхронизатора, который фиксируется относительно муфты шариковыми фиксаторами 7. Пальцы 4 муфты, проходя через фигурные вырезы корпуса, входят во внутренний кольцевой паз кольца переключения 2, соединяющегося с вилкой переключения передач. При движении кольца переключения в сторону шестерни включаемой передачи в том же направлении перемещается муфта 8, на пальцы 4 которой оно воздействует. Вместе с муфтой перемещается и корпус синхронизатора до тех пор, пока бронзовое коническое кольцо не войдёт в соприкосновение с конической поверхностью ступицы включаемой шестерни. Вследствие разности угловых скоростей шестерни и корпуса синхронизатора последний под действием сил трения повернется на некоторый угол, и выступы муфты упрутся в края фигурных вырезов 3, препятствуя дальнейшему ее перемещению. Как только угловые скорости шестерни и вторичного вала, с которым связана муфта, будут равны, выступы муфты выйдут из прорезей и вновь станет возможным ее дальнейшее движение. Зубчатый венец муфты войдет в зацепление с внутренними зубьями включаемой шестерни, соединяя её с вторичным валом.

1 – шестерня ведущего вала; 2 – кольцо переключения; 3 – фигурные вырезы; 4 – палец; 5 – корпус; 6 – выступ муфты; 7 – шарик с пружиной фиксатора; 8 – муфта; 9 – зубчатый венец; 10 – бронзовое коническое кольцо

Рисунок 3.30 – Синхронизатор коробок ЯМЗ

Механизм переключений передач смонтирован в верхней крышке 30 коробки передач (рисунок 3.29), прикреплённой к картеру болтами. При переключении передач каретки синхронизаторов 8, 15 и шестерня 19 передвигаются вилками 9, 14 и 18, установленными на подвижных штоках. Вилки стопорятся с помощью установочных винтов 34, положение которых фиксируется шплинтовочной проволокой. Головка переключения IV и V передач выполнена заодно с вилкой 9.

Положение каждого штока фиксирует шарик-фиксатор, прижимаемый к штоку пружиной 11. На каждом штоке сделаны три радиальных углубления, расположенных так, чтобы обеспечивалось включение кареток синхронизаторов или шестерни I передачи на полную длину зуба. Для предотвращения одновременного включения двух передач служит блокирующее устройство, которое при перемещении одного из штоков автоматически запирает два других в нейтральном положении. Блокирующее устройство состоит из четырех стальных шариков 32 и штифта 33. При перемещении одного из крайних штоков шарики вытесняются из канавки, нажимают на подвижной штифт и входят в канавку среднего штока. Одновременно штифт перемещает два других шарика, которые входят в канавку противоположного крайнего штока. Таким образом, средний и второй крайний шток оказываются заблокированными в нейтральном положении. Аналогично действует блокирующее устройство при перемещении среднего штока.

Для предупреждения случайного включения I передачи и заднего хода механизм переключения снабжён предохранительным устройством, состоящим из двух цилиндрических штифтов 25, пружины 23 и стакана 22 пружины. Для включения I передачи или заднего хода необходимо затратить добавочное усилие на сжатие пружины 23.

Рычаг переключения передач установлен в чугунной опоре 29 укреплённой на крышке коробки шпильками с гайками. Между опорой и крышкой установлена прокладка. В прорезь шаровой головки рычага переключения входит штифт 27 не позволяющий рычагу поворачиваться вокруг вертикальной оси. К конической поверхности опоры шаровую головку рычага поджимает пружина 28. Такое крепление рычага позволяет ему качаться в боковом и продольном направлениях и обеспечивает перемещение головок со штоками и вилками при переключении передач.

Смазка деталей коробки передач осуществляется разбрызгиванием и под давлением. Под давлением с помощью масляного насоса смазываются подшипники скольжения шестерен V, III и II передач вторичного вала. Масло поступает в насос из картера коробки передач через заборник с сеткой и магнитом. Сетка 5 (рисунок 3.31) маслозаборника задерживает крупные частицы, а магнит улавливает мелкие металлические частицы. Через канал 3 в нижней части картера коробки масло направляется к масляному насосу 2, установленному на переднем торце картера. От насоса масло по каналу в передней стенке картера, каналу в крышке подшипника первичного вала, сверлениям в первичном валу поступает в канал 1, откуда по радиальным сверлениям оно направляется к подшипникам скольжения шестерён.

1 – маслоподводящий канал; 2 – масляный насос; 3 – масловсасывающий канал; 4, 7 – пробки маслосливных отверстий; 5 – сетка маслозаборника; 6 – магнит

Рисунок 3.31 – Схема смазки коробки передач

Масло, просачивающееся между маслоподводящей трубкой первичного вала и стенками отверстия во вторичном валу, используется для смазки переднего роликоподшипника вторичного вала. Все остальные детали коробки передач смазываются маслом, разбрызгиваемым зубьями вращающихся шестерён промежуточного вала. На левой боковой стенке картера коробки расположен лоток, в который забрасывается масло при вращении шестерён промежуточного вала. Из лотка масло стекает в заднюю часть картера и смазывает блок шестерён заднего хода.

Масляный насос коробки передач (рисунок 3.32) закреплён на картере коробки с помощью четырех болтов. Корпус и основание насоса отлиты из серого чугуна. Их сопрягаемые плоскости тщательно обработаны. В корпусе насоса установлены ведущая 10 и ведомая 4 шестерни, изготовленные из стали и термообработанные.

1 – валик ведущей шестерни; 2 – ось ведомой шестерни; 3 – втулка; 4 – ведомая шестерня; 5 – основание; 6 – пружина клапана; 7 – шарик клапана; 8 – стопорная планка; 9 – пробка клапана; 10 – ведущая шестерня; 11 – втулка

Рисунок 3.32 – Масляный насос коробки передач

Ведущая шестерня напрессована на валик 1. Перед напрессовкой шестерни в углубление валика укладывается шарик диаметром 4 мм, выполняющий функцию шпонки. На стенке отверстия шестерни для шарика предусмотрен паз. Валик ведущей шестерни вращается во втулках 11, запрессованных в отверстия корпуса и основания.

Ведомая шестерня насоса вращается на оси 2, запрессованной в корпус. Валик 7 и ось 2 изготовлены из стали с последующей термообработкой. В отверстие ведомой шестерни запрессована втулка 3. Втулки 3 и 11 изготовлены из бронзовой ленты и после запрессовки их отверстия обработаны.

Повышение давления масла в корпусе насоса ограничивается перепускным клапаном, состоящим из шарика 7, пружины 6 и пробки 9. При повышении давления масла в нагнетательном канале до 0,07…0,09 МПа (0,7…0,9 кгс/см2) масло отжимает шарик 7 и перетекает во всасывающую полость насоса.

Между корпусом и основанием 5 насоса установлена уплотнительная прокладка из картона толщиной 0,3 ± 0,03 мм. Эта же прокладка обеспечивает необходимый зазор между торцами шестерён и корпусом. На верхней крышке картера коробки установлен сапун.

Более 800 000 книг и аудиокниг! 📚

Получи 2 месяца Литрес Подписки в подарок и наслаждайся неограниченным чтением

ПОЛУЧИТЬ ПОДАРОК