3.4.5 Коробка передач автомобилей МАЗ

На автомобилях МАЗ устанавливается восьмиступенчатая двухдиапазонная коробка передач ЯМЗ-238А с синхронизаторами на всех передачах, кроме заднего хода. Коробка передач состоит из основной коробки и двухступенчатой дополнительной коробки (демультипликатора – понижающей передачи).

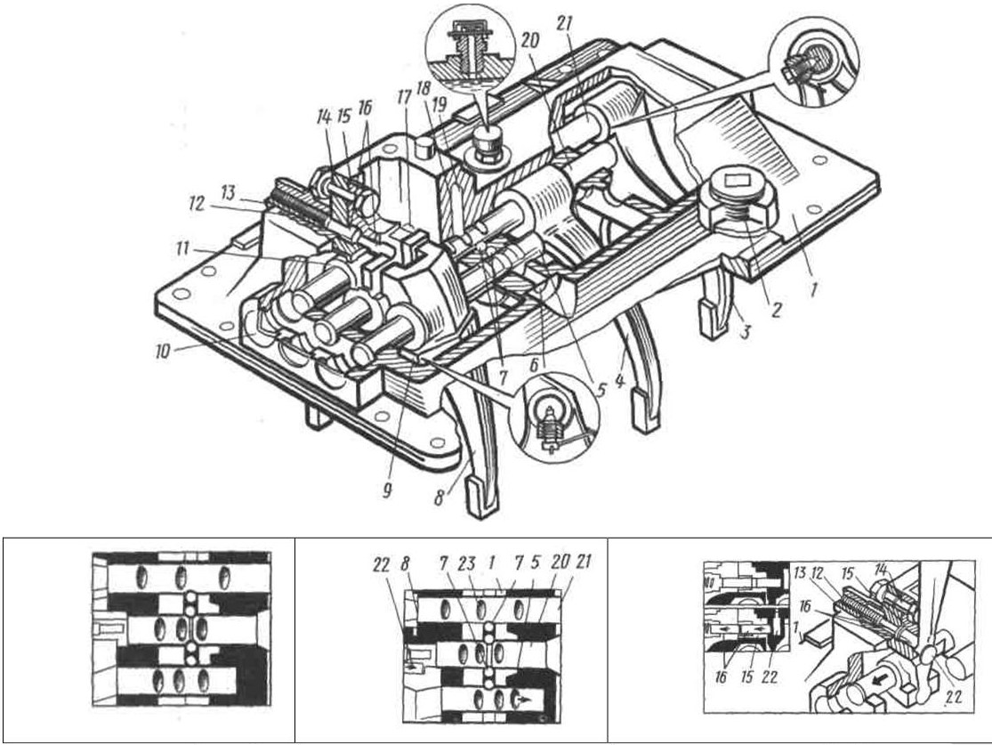
Устройство коробки передач показано на рисунке 3.23. Монтаж всех деталей коробки передач производится в картерах основной и дополнительной коробок, которые соединяются между собой, а затем в сборе присоединяются к картеру сцепления; образуется единый силовой агрегат в составе двигателя, сцепления и коробки передач.

Первичный вал 1 основной коробки установлен на двух шариковых подшипниках; на переднем шлицевом конце установлены ведомые диски сцепления, а задний конец выполнен в виде зубчатого венца шестерни постоянного зацепления основной коробки.

А – основная коробка; Б – дополнительная коробка; В – предохранитель включения заднего хода; Г – разрез по фиксаторам и замкам штоков в основной коробке; Д – стопорное устройство для выключения дополнительной коробки при буксировке автомобиля; Е – датчик сигнализатора включения дополнительной коробки; 1 – первичный вал; 2 – крышка первичного вала; 3– картер сцепления; 4 – верхняя крышка основной коробки; 5 – вторичный вал основной коробки; 6 – сапун; 7 – воздухораспределитель; 8 – воздухопроводы; 9 – стопорный болт для выключения дополнительной коробки при буксировке автомобиля; 10 – вилка; 11 – шестерня вторичного вала дополнительной коробки; 12 – верхняя крышка дополнительной коробки; 13 – шток; 14 – пневматический цилиндр; 15 – вторичный вал дополнительной коробки; 16 – фланец крепления карданного шарнира; 17 – крышка подшипника промежуточного вала; 18 – картер дополнительной коробки; 19 – промежуточный вал дополнительной коробки; 20 – большой синхронизатор; 21 – малый синхронизатор; 22 – шестерня понижающей передачи; 23 – картер основной коробки; 24 – каретка включения заднего хода; 25 – шестерня заднего хода; 26 – промежуточный вал основной коробки; 27 – шестерня I передачи; 28 – синхронизатор включения I – II передач; 29 – заборник масляного насоса; 30 – шестерня II передачи; 31 – шестерня IV передачи; 32 – шестерня отбора мощности; 33 – шестерня привода промежуточного вала; 34 – масляный насос; 35 – выключатель; 36 – синхронизатор включения III – IV передач; 37 – шток вилки переключения заднего хода; 38 – предохранитель включения заднего хода; 39 – шток вилки переключения III – IV передач; 40 – шток вилки переключения I – II передач

Рисунок 3.23 – Коробка передач автомобилей МАЗ

Вторичный вал 5 основной коробки спереди опирается на цилиндрический роликоподшипник, установленный в расточке зубчатого венца ведущего вала, а сзади – на шарикоподшипник, установленный в передней стенке картера дополнительной коробки. Задний конец вторичного вала выполнен в виде зубчатого венца, являющегося шестерней постоянного зацепления дополнительной коробки.

Шестерни второй и четвертой передач вторичного вала основной коробки установлены на подшипниках скольжения, выполненных в виде стальных втулок, имеющих специальное покрытие и пропитку, а шестерни первой передачи и заднего хода – на роликовых подшипниках.

Промежуточный вал 26 основной коробки спереди опирается на роликоподшипник, смонтированный в передней стенке картера основной коробки, а сзади – на двухрядный сферический подшипник, размещенный в стакане, установленном в задней стенке картера основной коробки. В приливах картера основной коробки установлена дополнительная ось для промежуточной шестерни заднего хода. Включение заднего хода осуществляется перемещением каретки 24 заднего хода вперед до соединения её с зубчатым венцом шестерни 25 заднего хода, которая находится в постоянном зацеплении с промежуточной шестерней заднего хода.

Вторичный вал 15 дополнительной коробки спереди опирается на цилиндрический роликоподшипник, размещённый в расточке зубчатого венца вторичного вала основной коробки, сзади – на два подшипника: цилиндрический роликоподшипник и шариковый подшипник, установленные соответственно в задней стенке картера дополнительной коробки и крышке подшипника вторичного вала.

На шлицах средней части вторичного вала дополнительной коробки установлены синхронизаторы переключения передач, а на заднем шлицевом конце – фланец крепления карданного вала. На средней цилиндрической части вала на роликовых цилиндрических подшипниках установлена шестерня 11 дополнительной коробки.

Промежуточный вал 19 дополнительной коробки спереди опирается на цилиндрический роликоподшипник, установленный в передней стенке картера дополнительной коробки, а сзади – на двухрядный сферический подшипник, размещенный в стакане, смонтированном в задней стенке картера дополнительной коробки. На переднем шлицевом конце промежуточного вала дополнительной коробки установлена шестерня 22 понижающей передачи. В задней части промежуточного вала сделан зубчатый венец, сопряженный с шестерней понижающей передачи вторичного вала дополнительной коробки.

Для включения передач в основной коробке применены инерционные синхронизаторы с конусными фрикционными кольцами, а в дополнительной – с фрикционными дисками.

Переключение передач в основной коробке производится с помощью механического дистанционного привода, а дополнительная коробка управляется с помощью пневмопривода.

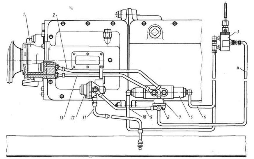
Дистанционный привод основной коробки (рисунок 3.24) телескопического типа, состоит из механизма, расположенного непосредственно на коробке передач 13, и системы тяг и рычагов, связанных с рычагом 3 передач, смонтированным в кабине.

В приливах верхней крышки 1 (рисунок 3.25) основной коробки смонтированы три штока: на крайнем правом (по ходу автомобиля) закреплена вилка 3 переключения заднего хода, на среднем – вилка 4 переключения первой и второй передач основной коробки и на третьем – вилка 8 переключения третьей и четвёртой передач основной коробки.

Штоки 5, 20 и 21 передвигаются в направляющих опорах верхней крышки с помощью рычага 22. На штоке заднего хода и штоке переключения первой и второй передач основной коробки имеются головки (соответственно 11 и 17). В головку 17 рычаг 22 входит непосредственно, а в головку 11 через поводок 15 переключения заднего хода.

1 – переключатель диапазонов; 2 – трос управления пневмокраном; 3 – рычаг; 4,7,17 – тяги; 6 – болт; 8 – шаровой палец; 9 – фиксатор передач; 10 – стопор; 11 – картер; 12 – валик; 13 – основная коробка передач; 14,18 – рычаги; 15 – шаровой палец; 16 – наконечник; 19 – пружина; 20 – шарик блокировочного устройства; 21 – блокировочная втулка; 22 – вилка; 23 – палец; 24 – хвостовик; 25 – серьга; 26 – наконечник тяги; 27 – уплотнительный чехол; 28 – пол кабины; I – привод в транспортном положении; II – привод при опрокинутой кабине

Рисунок 3.24 – Привод коробки передач

Для включения третьей и четвёртой передач основной коробки рычаг 22 может входить непосредственно в паз вилки 8 переключения этих передач. Положение штока заднего хода зафиксировано в крышке с помощью предохранителя 16, входящего в поводок 15 под действием пружины 12, помещённой в специальном стакане 13. Только преодолев усилие пружины этого предохранителя, можно включить задний ход. Штоки при включённой передаче и в нейтральном положении удерживаются шариковыми фиксаторами. Для предотвращения возможности одновременного включения двух передач в штоках установлен специальный замок шарикового типа.

1 – верхняя крышка; 2 – пробка; 3 – вилка включения заднего хода; 4 – вилка переключения I и II передач; 5 – шток вилки переключения III и IV передач; 6,10 – заглушка; 7 – шарик замка штока; 8 – вилка переключения III и IV передач; 9 – стопорный болт; 11 – головка штока вилки включения заднего хода; 12 – пружина предохранителя; 13 – стакан пружины; 14 – ось поводка; 15 – поводок; 16 – предохранители включения заднего хода; 17 – головка штока вилки переключения I и II передач; 18 – шарик фиксатора; 19 – пружина фиксатора; 20 – шток вилки переключения I и II передач; 21 – шток вилки включения заднего хода; 22 – рычаг дистанционного механизма переключения передач; 23 – штифт замка штока

Рисунок 3.25 – Крышка коробки передач

На верхней крышке основной коробки смонтирован картер 11 (рисунок 3.24) дистанционного механизма управления основной коробкой, в котором располагается вал 12 переключения передач с неподвижно закрепленным на нем рычагом 14 и промежуточным рычагом 18, связанным с продольной тягой 7 дистанционного привода.

В картере дистанционного механизма располагается шариковый фиксатор 9 выбора передач. Продольная тяга 7 может совершать как продольное, так и угловое перемещения. Угловое перемещение штока вызывает осевое перемещение вала 12, что приводит к соединению сидящего на нем рычага 14 с определённым ползуном в верхней крышке основной коробки 13. Продольное перемещение продольной тяги вызывает поворот вала 12 переключения передач и сидящего на нем рычага 14. При этом шток вилки переключения передач вместе с вилкой перемещается до включения соответствующей передачи.

Дополнительная коробка управляется с помощью превмокрана переключателем 1 (рисунок 3.24) диапазонов, расположенным на рукоятке рычага 3 переключения передач.

Механизм переключения дополнительной коробки (рисунок 3.26) состоит из редукционного клапана 12, воздухораспределителя 6, превмокрана 5, впускного клапана 8, рабочего цилиндра 1 и воздухопроводов.

1– рабочий цилиндр; 2 – шланг понижающей передачи к рабочему цилиндру; 3 – пневмокран; 4 – трубопровод к пневмокрану; 5 – трубопровод прямой передачи к воздухораспределителю; 6 – воздухораспределитель; 7 – сапун; 8 – впускной клапан воздухораспределителя; 9 – шланг к впускному клапану; 10 – трубопровод понижающей передачи к воздухораспределителю; 11 – трубопровод подвода сжатого воздуха к редукционному клапану; 12 – редукционный клапан; 13 – шланг прямой передачи к рабочему цилиндру

Рисунок 3.26 – Механизм переключения дополнительной коробки

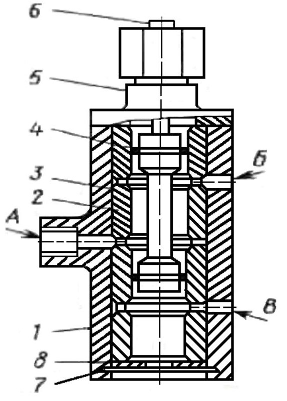
Редукционный клапан 3 (рисунок 3.27) служит для снижения давления сжатого воздуха, подводимого из пневмосистемы автомобиля, до 0,475 МПа (4,75 кгс/см2) – рабочего давления пневмосистемы коробки передач. Воздухораспределитель 23 направляет сжатый воздух от впускного клапана 17 в ту или другую полость рабочего цилиндра 25 и стравливает воздух из его полостей.

Пневмокран 5 осуществляет управление воздухораспределителем. При опущенном вниз переключателе 6 диапазонов золотник воздухораспределителя устанавливается в положение, соответствующее прямой передаче в дополнительной коробке. При поднятом переключателе – в положение понижающей передачи.

1 – конденсационный ресивер; 2 – защитный клапан; 3 – редукционный клапан; 4 – ресивер потребителей; 5 – пневмокран; 6 – переключатель диапазонов; 7 – рычаг; 8 – трубопровод прямой передачи к воздухораспределителю; 9 – контрольная лампочка; 10 – вилка переключения дополнительной коробки; 11 – датчик; 12 – верхняя крышка дополнительной коробки; 13 – штоки переключения основной коробки; 14 – верхняя крышка основной муфты; 15 – датчик сигнализатора заднего хода; 16 – толкатель; 17 – впускной клапан; 18 – сапун; 19 – трубопровод понижающей передачи к воздухораспределителю; 29 – поршни воздухораспределителя; 21золотник воздухораспределителя; 22 – трубопровод понижающей передачи к рабочему цилиндру; 23 – воздухораспределитель; 14 – трубопровод прямой передачи к рабочему цилиндру; 25 – рабочий цилиндр

Рисунок 3.27 – Схема переключения дополнительной коробки

Впускной клапан 17 обеспечивает подачу сжатого воздуха через воздухораспределитель 23 в рабочий цилиндр 25 только при выключенной передаче в основной коробке. При включенной передаче в основной коробке впускное отверстие клапана закрыто толкателем 16 и воздух в воздухораспределитель и рабочий цилиндр не поступает, разгрузочное отверстие в корпусе клапана открыто, обе полости рабочего цилиндра соединены с атмосферой.

При поднятом переключателе диапазонов 1 (рисунок 3.24) трос 6 перемещает золотник 3 (рисунок 3.28) в положение при котором сжатый воздух, подводимый от редукционного клапана к каналу А через канал пневмокрана, поступает в канал Б и далее к воздухораспределителю на включение понижающей передачи. Канал В в это время через фильтр 8 соединён с атмосферой.

1 – корпус; 2 – втулка; 3 – золотник; 4 – уплотнитель; 5 – крышка; 6 – трос управления пневмокраном; 7 – стопорное кольцо; А, Б, В – каналы

Рисунок 3.28 – Пневмокран

При опущенном переключателе диапазонов трос перемещает золотник 3 в положение, при котором сжатый воздух через канал А попадает в канал В и оттуда – к воздухораспределителю на включение прямой передачи. В это время канал Б через крышку 5 соединен с атмосферой.

Механизм переключения передач дополнительной коробки расположен в верхней крышке его картера. Здесь располагается шток 13 (рисунок 3.23), связанный с поршнем пневматического цилиндра 14. Направление перемещения штока с закреплённой на нём вилкой 10 переключения передач дополнительной коробки зависит от подводимого давления в пневматический цилиндр слева или справа от поршня, что вызывает включение большого 20 или малого 21 синхронизатора, т. е. понижающей или прямой передачи дополнительной коробки.

На верхней крышке дополнительной коробки установлен датчик сигнализатора, включения понижающей передачи. При перемещении штока 13 и вилки 10 переключения передач дополнительной коробки из одного положения в другое в кабине водителя загорается контрольная лампочка, соединенная с клеммой выключателя 35. Лампочка гаснет, как только полностью включается выбранная (прямая или понижающая) передача.

Кроме того, на верхней крышке дополнительной коробки имеется стопорное устройство для выключения дополнительной коробки при буксировке автомобиля. Для этого, установив вилку 10 в нейтральное положение, стопорный болт 9 вворачивают до упора в лунку, сделанную на штоке, и контрят его в этом положении гайкой.

Система смазки коробки передач является комбинированной. Подшипники шестерён вторичных валов основной и дополнительной коробок смазываются под давлением, зубья шестерён и подшипники валов – разбрызгиванием. Масло подаётся из масляной ванны картера через заборник 29 и систему каналов шестерённым масляным насосом 34. Привод насоса осуществляется от торца промежуточного вала основной коробки. У насоса имеется редукционный клапан, который отрегулирован на давление 0,078 МПа (0,78 кгс/см2), при чрезмерном повышении давления масла соединяет нагнетательный канал насоса с всасывающим. Масляные ванны обоих картеров соединены между собой каналом для обеспечения в них одинакового уровня масла. Внутренняя полость картеров коробки передач с помощью сапуна сообщается с атмосферой.

В коробке передач имеются маслозаливное отверстие на крышке основной коробки, контрольное отверстие уровня масла на боковой стенке картера основной коробки и по два сливных отверстия снизу картеров основной и дополнительной коробок.

Более 800 000 книг и аудиокниг! 📚

Получи 2 месяца Литрес Подписки в подарок и наслаждайся неограниченным чтением

ПОЛУЧИТЬ ПОДАРОК