Как измеряется естественный свет в море

Как уже упоминалось, измерениям света в море многие годы сопутствовало одно принципиально ошибочное представление: желание найти глубину, которую дневной свет уже не достигает. Совершенно естественно, что такая граница не найдена и до сего времени, так как с усовершенствованием методов измерений и повышением чувствительности приемников, реагирующих на излучение, свет и регистрировался все на больших и больших глубинах. Весь вопрос заключается в том, о каких количествах световой энергии идет речь: десятки ли это люксов (если говорить об освещенности) или отдельные фотоны, регистрируемые высокочувствительными приборами.

Первые попытки измерений света в толще моря, предпринятые во второй половине XIX в., были связаны с использованием фотохимической реакции в некоторых жидкостях и газах. При этом исходили из известного закона Бунзена о том, что продукция фотохимической реакции пропорциональна произведению интенсивности облучения на время экспозиции. На этом принципе был основан хлористоводородный актинометр Реньяра, в котором воздействие света оценивалось по убыли газовой смеси. В 30-е годы нашего века Аткинс предложил фотохимический фотометр, в котором использовалось разложение щавелевокислого урана. Достоинство этих приборов — относительная простота устройства, но они измеряли освещенность только в самых верхних слоях моря, и то при условии очень длительной экспозиции.

Примерно в то же время начинают применяться фотографические пластинки, а несколько позже — и фотопленки. При всем разнообразии конструкций фотометров с использованием фотографических пластинок принцип измерения сводился к следующему.

Помещенная в герметический корпус со стеклянным иллюминатором пластинка погружалась в море на ту или иную глубину. Затем с помощью грузика, опускавшегося по тросу, открывался затвор фотометра. После определенной выдержки (время которой фиксировалось) второй грузик закрывал затвор. Под воздействием света пластинка темнела. Сравнивая степень потемнения этой пластинки с аналогичной, но подвергшейся освещению эталонным источником света, определяли (с учетом времени экспозиции) условия освещенности на глубине проведения измерений. Когда вместо пластинок применялась фотопленка, в прибор устанавливался часовой механизм, через определенные промежутки времени перематывавший пленку.

Обработка результатов измерений требовала исключительной скрупулезности, а точность полученных результатов была весьма невысока. С помощью таких фотометров удавалось обнаружить свет на глубинах, превышающих 1000 м. Правда, для этого требовалось экспонировать пластинку более часа. Известен опыт, при котором пластинка выдерживалась на глубине 1700 м в течение двух часов, но не обнаружила признаков почернения.

В начале XX в. для измерений стали использовать физическое явление, называемое фотоэлектрическим эффектом, т. е. способность некоторых веществ создавать электрический ток или изменять его величину под воздействием света.

Лучи света, падая на поверхность металлической пластинки (для данной цели используются такие щелочные металлы, как калий или цезий), передают свою энергию электронам, находящимся внутри металла. Приобретенная энергия увеличивает скорость их движения, и электроны могут преодолеть силы, удерживающие их внутри металла, и вылететь за пределы его поверхности, создавая таким образом фотоэлектронную эмиссию с поверхности пластинки (фотокатода). Это элементарное описание фотоэлемента с внешним фотоэффектом. На явлении внешнего фотоэффекта основано действие фотоэлектронных умножителей.

Если вместо металлической пластинки взять стеклянную, нанести на нее светочувствительный слой полупроводникового вещества (например, селена, сернистого таллия, сернистого висмута и т. п.), подключить полученное устройство к внешней цепи и осветить пластинку, то можно наблюдать явление внутреннего фотоэффекта. Под действием света уменьшается внутреннее сопротивление полупроводника. Такие устройства получили наименование фотосопротивлений.

В гидрофотометрии наибольшее применение нашли фотоэлементы с фотоэффектом в запирающем слое. Они также изготовляются из полупроводников — селена, германия, кремния и т. п. Их основным достоинством является возможность получения значительного фототока при освещении активной поверхности без всякого внешнего источника электродвижущей силы.

Применение приемников излучения, действие которых основано на явлении фотоэффекта (фотоэлементов), позволило провести многочисленные измерения освещенности в различных районах Мирового океана.

Принцип действия практически всех современных подводных, фотометров базируется на использовании закона, открытого Столетовым, о том, что величина тока, вырабатываемого фотоэлементом, прямо пропорциональна падающему на него световому потоку. Поэтому, регистрируя значения фототока на различных глубинах, мы можем определить освещенность на интересующем нас горизонте. Естественно, что каждый гидрофотометр проходит предварительную градуировку на фотометрической скамье, где определяется, какой отсчет регистрирующего прибора соответствует тому или иному значению освещенности.

В качестве датчика в гидрофотометрах чаще всего применяют селеновый фотоэлемент с запирающим слоем.

На рис. 36 в схематическом виде изображено устройство такого фотоэлемента. На железную пластинку 1 нанесен слой селена 2, на который напыляется очень тонкая (тысячные доли микрона) золотая или платиновая полупрозрачная пленка 4. В процессе обработки фотоэлемента на поверхности селена образуется тонкий запирающий слой 3. На полупрозрачную золотую пленку накладывается контактное кольцо 5. Вторым электродом является железная пластинка. Весь фотоэлемент помещается в изолирующий пластмассовый корпус 6.

Кроме простоты устройства селеновый фотоэлемент обладает еще одним немаловажным достоинством: его спектральная чувствительность близка к чувствительности человеческого глаза. Из всех известных в настоящее время фотоэлементов селеновый легче всего откорректировать с помощью светофильтров, так чтобы его чувствительность соответствовала кривой видности глаза (рис. 37).

Для измерений в море фотоэлемент помещается в герметический корпус, иллюминатор которого делается из толстого молочного стекла и имеет выпуклую форму. Нужно это для того, чтобы на поверхности фотоэлемента собирался весь свет, рассеянный в верхней (или в нижней, если иллюминатор направлен вниз) полусфере, а не только лучи, отвесно падающие на приемник излучения.

Внешний вид одного из первых промышленных образцов измерителя подводной освещенности (ФМПО-57) показан на рис. 38. Прибор имеет вид люстры, у которой четыре иллюминатора направлены вверх и один — вниз. В трех из пяти корпусов датчиков прибора перед селеновым фотоэлементом помещены светофильтры: красный, синий и зеленый. Это позволяет не только измерять общий световой поток, но и выделять его спектральные составляющие. Для того чтобы в результате измерений можно было определить интенсивность излучения, идущего из глубин моря к его поверхности, пятый фотоэлемент помещен в корпус, иллюминатор которого обращен вниз.

Рис. 36. Схема устройства селенового фотоэлемента

1 — железная пластинка; 2 — слой селена; 3 — запирающий слой; 4 — золотая или платиновая пленка; 5 — контактное кольцо; 6 — пластмассовый корпус

Рис. 37. Спектральные характеристики селенового фотоэлемента без коррекции 1, с корректирующим светофильтром 2 и спектральная чувствительность глаза 3

Рис. 38. Внешний вид измерителя подводной освещенности ФМПО-57

Рис. 39. Комплект прибора ФМПО-64

Прибор ФМПО-57 на тросе океанологической лебедки погружается в море до глубины 100–150 м. Фототок, вырабатываемый селенами под действием света, передается по кабелю на борт судна, где и регистрируется микроамперметром.

При всей простоте конструкции у этого прибора было много недостатков. Дело в том, что освещенность в море меняется в очень широких пределах: от десятков тысяч люксов у поверхности до единиц на глубине около 100 м. А селеновые фотоэлементы очень не любят больших засветок, так как при этом их фототок перестает быть прямо пропорциональным интенсивности света. Другими словами, прибор типа ФМПО-57 начинал работать с достаточной точностью только тогда, когда его погружали на глубину в несколько десятков метров, где освещенность не превышала 100–200 лк. Кроме того, для изучения способности морской воды пропускать свет с различными длинами волн трехцветных светофильтров было явно мало.

Группа конструкторов Загорского оптико-механического завода (под руководством Н. Ф. Шипули и В. И. Рябинина) и инженер лаборатории гидрооптики Института океанологии А. К. Карелин создали хотя и несколько сложный конструктивно, но более совершенный прибор для измерения освещенности в море ФМПО-60 и ряд его последующих модификаций (ФМПО-64 и ЛЮПО).

Прибор ФМПО-64 (рис. 39) имеет вид шара с тремя иллюминаторами, направленными вверх, вниз и под углом 90° к вертикали. Внутри герметической сферы помещен селеновый фотоэлемент, который с помощью небольшого электромоторчика может устанавливаться перед каждым из трех окон. Кроме того, в сфере помещены два диска с наборами цветных и нейтральных светофильтров, которые (также с помощью моторчиков) выставляются в нужном положении между иллюминатором и фотоэлементом. Такое устройство позволяет по мере погружения прибора в глубь моря менять плотность ослабителей света (нейтральных светофильтров), что предохраняет селен от больших засветок. В этом приборе уже не три, а шесть цветных фильтров, равномерно делящих всю видимую область спектра на относительно узкие участки. Все управление осуществляется дистанционно с пульта, установленного на борту судна и соединенного с прибором кабелем.

ФМПО-60 обладает еще одним достоинством. В его комплект входит не только измеритель подводной освещенности, но и датчик аналогичного устройства для измерения света, падающего на поверхность моря. Поверхностный датчик устанавливается на незатеняемом участке палубы или какой-нибудь судовой надстройки, и с его помощью фиксируют все изменения, происходящие в освещении поверхности моря во время измерений.

Прибором ФМПО-60 в таких чистых водах, как воды открытых районов океана, или в Средиземном море можно регистрировать свет до глубин 200–250 м. Для измерения света на больших глубинах чувствительности фотоэлементов обычно уже не хватает и их заменяют фотоэлектронными умножителями (ФЭУ). Оптические схемы измерителей освещенности с применением ФЭУ практически мало чем отличаются от приборов с фотоэлементами. В них также входят наборы из нейтральных и цветных светофильтров.

Решая многие задачи оптики моря, надо уметь измерять не только свет, идущий в глубь моря или направленный к его поверхности, но и общую интенсивность излучения, приходящего в данную точку со всех направлений. Для этого у приборов типа ФМПО-60 предусмотрена специальная приставка, изготовленная из молочного оргстекла и имеющая форму шара. Она крепится к боковому иллюминатору прибора. Такой сферический приемник излучения воспринимает свет, идущий со всех сторон, и направляет его на фотоэлемент. Измерения, проведенные с приставкой, позволяют, в частности, определять показатель поглощения морской воды.

Кроме описанных приборов существует множество разновидностей измерителей подводной освещенности, но, как правило, они различаются между собой лишь количеством используемых светофильтров, устройствами для их переключения или другими конструктивными особенностями, не имеющими принципиального значения.

Наряду с положительными качествами фотоэлектрических приемников излучения им свойствен один, но весьма значительный недостаток: все они селективны, т. е. неодинаково реагируют на излучение различных длин волн. Изучая свет в море, часто необходимо измерить суммарную лучистую энергию на разных глубинах. А для этих целей удобно пользоваться неселективными приемниками излучения, принцип действия которых основан на термоэлектрическом эффекте, т. е. возникновении электродвижущей силы за счет различной степени нагрева черных и белых поверхностей термоэлемента[22].

Батареи, собранные из определенного количества термоэлементов, получили наименование пиранометров. В оптических исследованиях в море чаще всего пользуются пиранометром конструкции Янишевского. Приемник такого пиранометра представляет собой поверхность, составленную из системы последовательно соединенных полосок манганин — константановых термоэлементов. Поверхность эта имеет вид шахматной доски из черных и белых клеток, так как часть спаев (горячие) окрашена сажей, а часть (холодные) — магнезией в белый цвет.

При работе в море пиранометр помещается в герметичный корпус со стеклянным окном. Включенный в цепь гальванометр регистрирует ток, вырабатываемый термобатареями, поглощающими лучистую энергию. Самым крупным недостатком подводного пиранометра является небольшая чувствительность, что не позволяет использовать его даже в очень прозрачных водах на глубинах, превышающих 50–60 м.

Из следующих разделов книги станет ясно, что для морских биологов, изучающих процессы фотосинтеза в море, крайне важно знать величину суммарной энергии по крайней мере до глубин 100–150 м. Это привело к необходимости создать прибор, который бы обладал достоинствами подводного пиранометра (неселективностью), но имел гораздо большую чувствительность.

Такой прибор сейчас создан В. П. Рвачевым и его сотрудниками на кафедре оптики Черновицкого государственного университета. По принципу действия он назван вариоспектрометрическим измерителем подводной облученности или сокращенно ВАРИПО.

На рис. 40 изображена оптическая схема этого прибора. Свет попадает на иллюминатор из молочного плексигласа 1 и через щель 2 — на систему линз 3. Отсюда свет в виде параллельного пучка проходит в призму 4 прямого зрения (так называемая призма Амичи). Она разлагает свет в спектр, который проектируется объективом 5 на нормирующую диафрагму 6, а затем через линзу 7 попадает на фотоэлектронный умножитель 8.

Рис. 40. Оптическая схема вариоспектрометрического измерителя подводной облученности (ВАРИПО)

1 — иллюминатор; 2 — приемная щель; 3 — система линз; 4 — призма прямого зрения; 5 — объектив; 6 — нормирующая диафрагма; 7 — линза; 8 — ФЭУ

«Секрет» прибора заключается именно в нормирующей диафрагме. Ее функция состоит в том, чтобы «исправить» спектральный состав света, приведя его в своеобразное соответствие со спектральной чувствительностью фотоэлектронного умножителя — приемника излучения в приборе ВАРИПО.

На рис. (41, 1) видно, что фотокатод ФЭУ по-разному реагирует на излучение различных длин волн, т. е. он селективен. Если на пути между ФЭУ и светом, разложенным в спектр, поставить фигурную щель (диафрагму), вырезанную таким образом, как указано на рис. 41, 2), то чувствительность ФЗУ будет «исправлена» и примет вид кривой 3. Другими словами, фигурная нормирующая диафрагма задержит часть лучей, к которым «излишне» чувствителен ФЭУ, и в результате будет получен неселективный приемник излучения в определенном участке спектра, к тому же совершенно нечувствительный к излучению за пределами этого участка.

Рис. 41. Спектральная чувствительность ФЭУ до коррекции 1 фигурной диафрагмой 2 и ее вид после коррекции 3

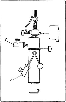
Рис. 42. Прибор для измерения углового распределения естественного излучения в море

Прибор ВАРИПО устроен так, что он реагирует на свет в диапазоне от 380 до 700 нм. Это так называемая область фотосинтетически активной радиации. ВАРИПО гораздо чувствительнее подводного пиранометра, и. несмотря на большие потери световой энергии при прохождении света через сложную оптическую систему, с его помощью можно вести измерения на глубинах 100–150 м.

Измерения освещенности хотя и дают интересные сведения об изменении света с глубиной, но далеко не исчерпывают всего, что нам необходимо знать об излучении, распространяющемся в толще моря.

Наиболее полную информацию можно получить из измерений тела яркости, т. е. углового распределения интенсивности излучения по различным направлениям. Такие измерения выполнил американский ученый Дж. Тайлер на озере Панд-Орей. Яркомер погружался под воду до глубины 66 м и ориентировался в пространстве гироскопическим устройством. Угол зрения приемника излучения был около 7°.

Обычно угловое распределение интенсивности излучения измеряют лишь в двух перпендикулярных плоскостях. Внешний вид прибора для подобных измерений показан на рис. 42. Его использовал японский гидрооптик профессор Т. Сасаки.

На рисунке видны два приемника излучения, один из которых вращается в вертикальной 1, а другой — в горизонтальной 2 плоскостях. Особенность измерителя состоит в том, что его приемниками служат ФЭУ, снабженные специальной оптической системой, позволяющей ограничить угол зрения приемника всего лишь 4°. Зафиксировав излучение в нескольких точках в вертикальной и горизонтальной плоскостях на разных глубинах, можно построить диаграммы углового распределения света.

Эти измерения, исключительно трудоемкие, требуют сложной аппаратуры и потому до сего времени носят экспериментальный характер.

В Советском Союзе их проводили М. Н. Кайгородов, Г. Г. Неуймин и А. К. Карелин.

Более 800 000 книг и аудиокниг! 📚

Получи 2 месяца Литрес Подписки в подарок и наслаждайся неограниченным чтением

ПОЛУЧИТЬ ПОДАРОК