6.4. Модернизация крейсеров типа “Фурутака”.

6.6.1. Сроки выполнения.

Во время походов в 1935-36 годах несколько роторных лопаток в турбинах “Како” и “Фурутака” разрушились и оба крейсера нуждались в их переборке и ремонте. Это дало возможность начать модернизацию раньше планируемого срока. “Како” проходил её на верфи в Сасебо с 4 июля 1936 года по 27 декабря 1937 года, а “Фурутака”-на верфи в Куре с 1 апреля 1937 годапо 30 апреля 1939 года. Некоторые корпусные работы после снятия башен ГК и ТА на верфях флота выполнялись на заводе Инношима фирмы Осака Айрон Уоркс.

6.4.2. Улучшение вооружения.

Модернизация артиллерии ГК, Общие сведения даны выше, здесь же остановимся только на некоторых специфических особенностях, характерных для крейсеров этого типа.

1) Старые 20-см/50 орудия типа 3 года №1 заменили орудиями, официально называемыми “20-см/50 типа 3 года №2”, которые могли стрелять более тяжелыми снарядами типа 91. Фактически из-за нехватки орудий №2 на эти крейсера установили снятые в 1933-34 годах с “Асигара” и “Хагуро” орудия №1, на которых лейнера рассверлилй до диаметра 203,2 мм.

2) Одноорудийные башни заменили двухорудийными модели “Е ”, которые, хотя и выглядели внешне как модель “Е”, имели внутреннее устройство, включая энергетическое отделение и подъемники, как у модели “С” - снарядные и зарядные погреба располагались на одном уровне. Установки обеспечивали угол возвышения 55° и максимальную дальность стрельбы 29400 м, станки имели гидроцилиндры отдачи и пневмонакатники. Расстояние между стволами -1,9 м, диаметр роликового погона -5,029 м, вес башни - 170 т. Боевое отделение со всех сторон защищалось 25-мм плитами стали Дюколь, а барбеты над складской палубой - 57-мм плитами брони NVNC. Снарядные подъёмники - толкающего типа, зарядные - ковшовые. Эти установки не предназначались для ведения зенитного огня, имея максимальную скорострельность всего 3 выстрела в минуту на ствол, скорость ВН 6 и скорость ГН 4%. Заряжались орудия при фиксированном угле возвышения +5°.

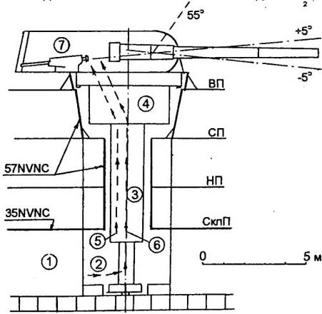
ПРОДОЛЬНЫЙ РАЗРЕЗ 20-СМ БАШНИ МОДЕЛИ “Е ”

1 - зарядный погреб; 2 - перегрузочное отделение для снарядов и зарядов внутри снарядного погреба; 3 - центральный ствол; 4 - энергетическое отделение с электромоторами и насосами; 5, 6 - снарядный и зарядный подъемники; 7 - гидродосылатель (заряжание при фиксированном угле +5°)

3) В системах управления стрельбой директоры типа 14 и визиры типа 13 заменили директорами типа 94 и визирами типа 92, для чего потребовалось переделать верхнюю часть носовой надстройки. Главный директор заключили в башенку вместе с 6-метровым дальномером типа 14, а вспомогательный в башенке без дальномера расположили за второй дымовой трубой, которая стала гораздо тоньше. Еще два 6-метровых дальномера установили в башнях №2 и №3. Вычислительный прибор типа 92 разместили в модернизированном ЦАП под бронепалубой. 90-см прожекторы типа “SU” заменили тремя более мощными типа 92 диаметром 110 см, установленными на вышках по бокам от первой трубы и между трубами по ДП.

Модернизация зенитного вооружения

1) В качестве зенитной артиллерии среднего калибра пришлось оставить 12-см/45 орудия типа 10 года в одноорудийных установках модели “В ”, поскольку новые 12,7-см спарки для этих кораблей оказались слишком громоздкими. Зенитки сдвинули к носу, чтобы освободить место для стеллажей с запасными торпедами. Для улучшения подачи боезапаса установили новые подъёмники. Зенитные директоры типа 91, установленные в 1932-33 годах на решетчатых вышках по бокам от первой трубы, заменили двумя новыми типа 94. Их установили на уровне среднего мостика носовой надстройки вместе с 4,5-метровыми дальномерами типа 94. Зенитный вычислительный прибор установили в ЦАП.

2) На переделанных надстройках около второй дымовой трубы установили четыре спаренные установки 25-мм автоматов, стрельбой которых управляли два директора типа 95, расположенные в кормовой части носовой надстройки на уровне компасного мостика. Два спаренных 13-мм пулемета перенесли в переднюю часть носовой надстройки, а их пост управления оборудовали на НП у борта, где прежде находилось КО №1.

НОСОВАЯ НАДСТРОЙКА “ФУРУТАКА” В 1941 ГОДУ

А- пост управления огнем ГК с директором типа 94; В - пост слежения за целью; С - платформа УЗО; D, Е. F, G - компасный, верхний, средний и нижний мостики; 1 4 - 6-м и 1,5-м дальномеры типа 14; 2 - сигнальный мостик; 3 - антенна радиотелефона; 5 - позиция 13,2-мм спарок; 6 - наблюдательный пост; 7 - зенитный директор типа 94 с 4,5-м дальномером; 8 - пост слежения за воздухом; 9 - директор зенитных автоматов; 10 - зенитные бинокли; 11 - место сигнального прожектора

Модернизация торпедного вооружения.

Неподвижные спаренные ТА типа 12 заменили двумя четырехтрубными поворотными со щитами (модель 1) на верхней палубе по бокам от катапульты. С 1940 года эти крейсера несли по 16 торпед типа 93: 8 находились в ТА, а остальные по 4 с борта - в закрытых стеллажах спереди аппаратов на роликах, что позволяло быстро производить перезарядку. Для управления торпедной стрельбой под постом УАО ГК на носовой надстройке установили два директора типа 93 модели 2 и два торпедных визира типа 93. Вычислительный прибор также стоял в ЦАП.

На месте прежнего кормового торпедного отсека расположились отделения компрессоров для подготовки сжатого воздуха и кислорода и отделение для сборки торпед. Модернизация авиационного оборудования.

Установленные в 1932-33 годах катапульты модели 1 заменили более мощными типа Куре №2 модель 3 модиф. 1 (по 1 на корабль). Эта пороховая катапульта длиной 19,4 м могла запускать самолеты весом до 3000 кг со скоростью 27 м/с. На треногой грот-мачте установили более мощный подъёмный кран для работы с гидросамолетами, которых обычно на борт принималось два - типа 94 №2, Один стоял на катапульте, другой - на платформе перед грот-мачтой. В надстройке под платформой располагались топливные баки с газолином. В июне 1939 - ноябре 1940 года “Фурутака” и в феврале 1939 - ноябре 1940 года “Како” несли по одному ГСМ типов 94 и 95.

6.4.3. Модернизация энергетической установки.

1) Двенадцать котлов смешанного отопления уступили место десяти нефтяным типа Ро-Го Канпон “большой” модели. Параметры пара остались те же, но котлы получили подогреватели. Полностью изменилось расположение КО, которых за счет снятия поперечных переборок стало всего пять. Однако продольная переборка была настолько крепко связана с набором корпуса, что снять её не оказалось возможным. Передняя труба объединяла дымоходы восьми носовых котлов, а очень тонкая задняя - двух кормовых. Из-за этих переделок часть пространства перед новым КО №1 (прежде занятого КО №1) освободилась. Под нижней палубой оборудовали дополнительные топливные цистерны, чтобы увеличить радиус действия, а над НП разместили кубрики, пост управления зенитными автоматами и щитовую.

2) Прежнее расположение турбин оставили, заменив только лопатки. Проектная скорость при 110000 л.с. оценивалась в 33,3 узла, но “Фурутака” во время пробегов у постов Укушима 9 июня 1939 года смог достичь только 32,95 уз. при мощности 103340 л.с. и водоизмещении 10630 т.

3) Угольные бункеры заменили дополнительными нефтяными цистернами, которые появились также в нижней части новых булей и носовой части прежнего КО №1. Максимальная ёмкость цистерн составила 1858 т, что позволило поднять дальность на скорости 14 узлов до 7900 миль (ранее было 7000 миль по проекту), несмотря на возросшее водоизмещение.

4) Поскольку для вспомогательного оборудования стали широко использовать электроприводы, к прежним генераторам, работавшим от ДВС (общая мощность 315 кВт) добавили турбогенераторы: носовой в 300 кВт и два по 135 кВт в кормовой части МО.

6.4.4. Дополнительные модификации.

Экипаж несколько увеличился и стал насчитывать 639 человек, из которых 50 офицеров. Жилые помещения расширили и обитаемость в них улучшили. Дополнительные кубрики и каюты оборудовали в прежних торпедных отсеках на СП. Из-за увеличения осадки иллюминаторы на уровне складской палубы заделали, а помещения на ней заняли под кладовые.

Расширили устройства внутрикорабельной связи, установили средства защиты от отравляющих веществ: заслонки в шахтах вентиляции, дополнительные вентиляторы с антигазовыми фильтрами. Не защищенную до этого боевую рубку против штурмовых атак авиации обшили 36-мм плитами стали NVNC.

ПОПЕРЕЧНОЕ СЕЧЕНИЕ КРЕЙСЕРОВ “ФУРУТАКА” (справа) и “АОБА” (слева) после модернизации

1 - нефтяные цистерны; 2, 3 - водонепроницаемый отсек и отсек сос стальными водонепроницаемыми трубами; 4 - кладовая; 5 - тоннель для кабелей; 6 - КО с переборкой по ДП. Толщина булей из стали D: 10(вверху)-16 (внизу) мм.

6.4.5. Модернизация корпуса.

В ходе модернизации из-за снятия и замены некоторых материалов изменились весовые составляющие, что можно проследить по таблице для “Како”.

Чтобы компенсировать возникший дополнительный вес и сохранить приемлемую осадку для улучшения остойчивости, ширину корпуса увеличили за счет установки больших булей. Були также увеличивали продольную прочность корпуса и улучшали ПТЗ. Часть их объёма на уровне ВЛ заполнялась стальными водонепроницаемыми трубами, что позволяло сохранить плавучесть при подводных попаданиях. Остальной объём булей занимали топливные цистерны или водонепроницаемые отсеки, снабженные устройствами быстрого впуска и выпуска воды, чтобы их можно было использовать для срочного контрзатопления. В нижней части булей установили новые скуловые кили шириной 1,3 м.

Модернизация подняла водоизмещение (для испытаний и полное) более чем на 560 т, но благодаря увеличению ширины до 16,926 м осадка даже несколько уменьшилась. Общая длина (185,166 м), длина между перпендикулярами (176,784 м) и полная высота борта (10,071 м) остались без изменений, но длина по ватерлинии при нормальном (для испытаний) водоизмещении стала несколько больше - 183,474 м.

В тоннах Корпус Броня и защита Арматура Оборудование Всего Снято 541 212 169 8 931 Поставлено 930 336 282 43 1493 Разница +389 +24 +113 +35 +562   Нормальная нагрузка (67% запасов) Полная нагрузка водоизмещение, т осадка, м водоизмещение, т осадка, м По проекту 10809 5,76 11574 6,13 “Фурутака”, 1939 год 10507 5,61 11273 6,00 “Како”, 1937 год 10535 5,63 11295 6,03 до модернизации 9996 5,74 10761 6,11

Установка булей улучшила остойчивость. До модернизации МВ в нормальном грузу (67% запасов) составляла 1,01 м, диапазон остойчивости 80° (при норме более 1 м и 85°), а после МВ стала 1,26-1,32 м и 88-89°. При легкой нагрузке МВ оказалась почти вдвое больше принятой до модернизации (0,93-1,01 м), но диапазон остойчивости не “дотягивал” до заданных 75° на 2-3°.

Более 800 000 книг и аудиокниг! 📚

Получи 2 месяца Литрес Подписки в подарок и наслаждайся неограниченным чтением

ПОЛУЧИТЬ ПОДАРОК