3.2. Директоры (Хойбан)

Директор типа 13 года

Устройство наведения на цель типа 13 года приняли на вооружение 2.05.1916 г. Проект этого первого японского директора для стрельбы по надводным целям основывался на разработке фирмы Виккерс, сведения о котором доставили японские офицеры, в начале мировой войны находившиеся на кораблях британского флота. Первую экспериментальную версию этого прибора, изготовленную в 1915 году на верфи ВМФ в Йокосуке, в 1916 году установили на линейном крейсера “Харуна”. Последующие директоры, выпускаемые верфью ВМФ в Куре, с 1917 года устанавливались на линкорах и линейных крейсерах, а с 1918 года и на новых легких крейсерах. Это было очень простое устройство (64-мм бинокли для ВН и ГН), имевшее дальность действия 19000 м.

Директор типа 14 года

В 1924-25 гг. принята на вооружение модифицированная версия - директор типа 14 года (1925 года), который устанавливался на крейсерах типа “Фурутака” и последующих крейсерах “класса А”. Полное японское название “14 шики хойбан шоджуин сочи”. Этот директор (справа на рисунке) мог использоваться и в качестве зенитного, т.к. его 64-мм телескопы модели “L” (полное название ”6-см полузенитные телескопы”) имели угол возвышения 90°. Цифрами на рисунке обозначены: 1, 2 - телескопы горизонталльного и вертикального наводчиков; 3 - штурвал горизонтальной наводки; 4 - корпус поворотной части устройства; 5 - стрелочный указатель угла возвышения; 6 - то же для угла поворота; 7 - штурвал вертикальной наводки; 8, 9 - градуированные барабаны угла отклонения цели и дистанции до нее.

Директор типа 94

Для замены универсального директора типа 14 Первая (артиллерийская) секция МТД к концу 1933 г. разработала новый, после испытания на линкоре “Нагато” принятый на вооружение 9.10.1934 г. как “тип 94”. С декабря 1934 г. верфь флота Куре выпустила 132 комплекта, которые устанавливались на новых и модернизированных кораблях для'"'управления огнем ГК. Линкоры получали модель 1 с 15-см биноклями, крейсера и линкоры для вспомогательного калибра - модель 2 с 12-см биноклями, новые эсминцы, начиная с типа “Фубуки” после модернизации, для 12,7-см орудий - модель 3 с 12-см биноклями. Директоры этих моделей заключались в башенки. Ширина директора 1 м, высота 1,7 м, вес 2 т. Проектировался для слежения за углами ГН и ВН и имел 2 вычислительных устройства: одно для коррекции угла возвышения и ГН на бортовой качке, второе для коррекции ГН из-за параллакса. Директор типа 94 выдавал на принимающие устройства башен полные углы ВН и ГН, а управляющий стрельбой офицер наводил и стрелял из орудий в соответствие с указателями.Полный угол возвышения получался по дифференциальным добавкам указателя, скорректированными с учетом разницы в высоте расположения орудий, и дополнительному возвышению, получаемому от вычислительного устройства из ЦАП. Полный угол ГН получался из дифференциальных добавок горизонтального указателя, скорректированных с учетом разницы расположения орудий, параллакса и бокового отклонения, получаемых от вычислительного устройства. Обслуживался директор типа 94 одним офицером и пятью операторами. Некоторые из директоров указанных моделей переделывались в универсальные для стрельбы как по надводным, так и по воздушным целям: на новых эсминцах с 12.7- см/50 орудиями устанавливали модель 6 или тип 2 (принята в 1942 г.), а на проектируемых крейсерах ПВО с 12.7- см/40 зенитными планировали ставить модель 5.

В виду постройки линкоров типа “Ямато” фирма Ниппон Оптикал с 1935 г. разработала новый директор, заключенный в броневую башенку для защиты от стрелкового оружия авиации и оборудованный перископами для биноклей, как на подводных лодках. Два комплекта (главный и вспомогательный) этого директора типа 95 с 12-см и 15-см биноклями в 1938 г. установили на линкоре “Хией” для управления стрельбой его 36-см орудий ГК. Эта же фирма разработала улучшенную версию с 18-см биноклями типа 98 модиф.1 (или “улучшенный тип 95”). С 1941 г. для линкоров типа “Ямато” было поставлено 8 комплектов.

Зенитный директор типа 91

В середине 20-х годов по требованию МТД начались работы над специальным зенитным директором и к 1929 г. фирма Аичи разработала вычислительный прибор стрельбы, принятый как “Коша Шагекибан типа 89”. Он мог подсчитывать ВИР про вертикали или горизонтали и использовался для управления стрельбой 8-см и 12-см зениток. Такими приборами оснастили крейсера типа “Миоко”. В октябре 1929 г. фирма Ниппон Оптикал из Нагойя закончила разработку комплекса ПУС для зенитных орудий, прототип которого с июня 1931 г. испытывался на линкоре “Ямаширо”. Этот комплекс типа 91 (91 Шики Коша Сочи) приняли на вооружение 11.06.1932 г. и начали устанавливать на корабли, начиная с линкора “Харуна”, крейсеров “класса А” и авианосцев постройки с 1933 г. Фирма Ниппон Оптикал поставила 50 комплектов, пока этот комплекс не заменили новым типа 94, принятым 9.10.1934 г., который начали устанавливать с 1937 г. Комплекс типа 91 мог подсчитывать, по крайней мере теоретически, различные элементы, необходимые для стрельбы зенитных орудий. Он состоял из механизма наводки (собственно директора) и счетного механизма (вычислительного прибора), скомбинированных на одной тумбе. Очень громоздкий (высота 2 м, вес около 3 т, занимаемое пространство 1 м2), он требовал для обслуживания 11 операторов. Скорость ручной ВН была всего 6°/с, ГН - от 6,5 до 16°/с (экстренная), рабочий диапазон дистанции 1000 - 13500 м, предел скорости цели 90 м/с. Хотя прибор спроектировали главным образом для ведения зенитного огня 12-см и 12,7-см орудий, его можно было использовать и для стрельбы по надводным целям. Главный недостаток: стоящий отдельно дальномер был биаксиальный, а директор - триаксиальный (горизонталь, вертикаль и вспомогательная диагональ), поэтому дальномер было трудно навести на ту же цель, что и директор.

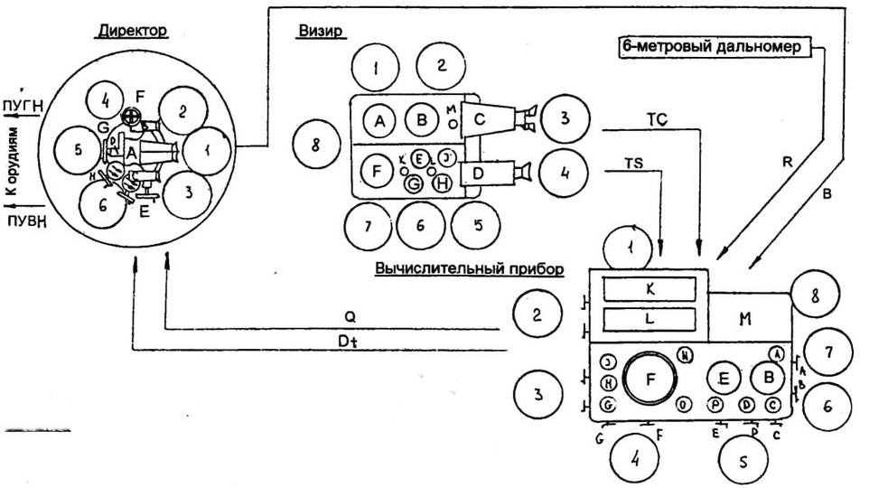
СХЕМА СУАО ГК НА МОДЕРНИЗИРОВАННЫХ КРЕЙСЕРАХ “класса А”

Состав: три 6-метровых дальномера типа 14, два (главный в носу, вспомогательный в корме) директора типа 94, устройство слежения за целью типа 92 (визир) и вычислительный прибор типа 92.

Директор: офицер (1) следит за целью с помощью 12-см бинокулярного корректировочного телескопа (А) и управляет стрельбой орудий; горизонтальный (2) и вертикальный (3) наводчики следят за целью через 12-см телескопы (В и С) и с помощью штурвалов (F) и (Е) придают башне директора нужный угол поворота (выдавая измеренные пеленги Т и В) и возвышения (пределы от -12 до +45°); стабилизаторщик (5), используя 4,5-см телескоп (D), с помощью штурвала (G) обеспечивает коррекцию углов ВН и ГН с учетом бортовой и килевой качки корабля; установщик дистанции и отклонения (6) следит за боковым отклонением (Dt) и дополнительным возвышением (Q), которые передаются от вычислительного прибора и отрабатывает их с помощью штурвалов (Н) и (J) соответственно. С помощью штурвала (Н) слежения за дистанцией дополнительный угол возвышения (Q) через дифференциальный редуктор добавляется к углу, определенному вертикальным наводчиком, корректируется стабилизаторщиком, давая ПУВН, передаваемый в башни. С помощью штурвала (J) боковое отклонение аналогично передается и добавляется к пеленгу, установленному горизонтальным наводчиком, и после корректировки стабилизаторщиком (дифферент и параллакс) в виде ПУГН передается в башни. Устройство слежения за целью: оператор (1) следит за курсом своего корабля по компасу (циферблат А); оператор (2) следит за изменением пеленга на цель (циферблат В); горизонтальный наводчик (3) разворачивает прибор за целью, следя за ней через 12-см телескоп (С); оператор (4) следит за отклонением цепи по инклинометру (D); оператор (5) определяет длину цели; (6) следит за углом отклонения (циферблат Е); (7) следит за настоящей дистанцией (F); (8) передает скорость цели (TS) и ее курс (ТС) на вычислительный прибор; G, Н. J, К, L - циферблаты цели, своего корабля, разницы дистанции, компонента длины цели, компонента гориз. цели; М - хронометр. Вычислительный прибор: (1) офицер, управляющий огнем; оператор (2) ввода дистанции и пеленга на цель (рукоятки L и К); оператор (3) настоящей дистанции (рукоятка и циферблат J) и скорости изменения дистанции (рукоятка и циферблат Н), который подгоняет дистанцию, получаемую от офицера (по данным оператора 8), и скорость ее изменения (по кривой дистанции L); оператор (4) передает будущее значение дистанции, используя рукоятки и циферблаты коррекции дистанции (G) и (F); оператор (5) устанавливает начальный пеленг (В), получаемый от директора (рукоятка и циферблат Е), вводит коррекцию общего отклонения пеленга с помощью рукоятки и циферблата (С) и коррекцию по собственной скорости, скорости и отклонения цели (оба значения поступают с визира), скорости ветра и т.д. с помощью рукоятки и циферблата поправки (D); (6) следит за курсом по компасу (картушка и рукоятка В); (7) следит за скоростью изменения пеленга по кривой (К) с помощью рукоятки и циферблата (А); (8) усредняет дистанцию (R), получаемую с трех 6-метровых дальномеров, обеспечивая поступление данных на график дистанции (L) через офицера из усредняющей дистанцию части прибора (М). Вычислительный прибор передает подсчитанные значения бокового отклонения (Dt) и дополнительное возвышение (Q) в директор для дифференциального (в зависимости от расположения башен) прибавления этих значений к измеренным углам ВН и ГН. N, О, Р - циферблаты цели, собственной скорости и скорости ветра.

Зенитный директор типа 94

Для замены зенитного директора типа 91 фирма Ниппон Оптикал под руководством Первой секции МТД разработала новый зенитный директор типа 94 для 8-см/40, 12-см/45 и 12,7-см/40 орудий. С июня 1937 г. флот получил 81 комплект. Сначала их установили на авианосцах “Хирю” и “Сорю”, крейсерах типа “Тоне”, а затем на других больших кораблях, включая некоторые модернизированные крейсера “класса А”. Этот директор размещался в башенке с 4,5-метровым стереоскопическим дальномером типа 94 и четырьмя 8-см биноклями. Башенка вращалась электрогидравлическим приводом (мотор 5 л.с.) с максимальной скоростью 13°/с (вручную 9°/с), ВН ручная со скоростью 25°/с (максимальная). Рабочий диапазон измерения дистанции 3000-15000 м, максимальная скорость цели 150 м/с. Сам директор весил 3,5 т, имел высоту 1,6 м. Дальномер и бинокли горизонтального и вертикального наводчиков были стабилизированы. Директор измерял действительную дистанцию, угол подъема (или высоту цели), курсовой угол, углы вертикального и продольного отклонения цели и передавал эти данные в зенитное вычислительное устройство, размещенной под броневой палубой в центральном артиллерийском посту. Это механическое устройство имело длину 1,5 м, ширину 0,58 м, высоту 0,92 м и весило 2 т. По данным, получаемым от директора, оно подсчитывало данные для стрельбы с учетом различных корректировок: полные углы наводки и время установки взрывателя, которые передавались к орудийным установкам. Обслуживался такой дальномер-директор семью операторами, зенитное вычислительное устройство - одним офицером и восемью операторами.

В соответствие с новыми требованиями в 1942 г. начали работы над улучшенной моделью зенитного директора типа 3, но разработка закончилась на стадии экспериментов.

СХЕМА ПУЗО ТИПА 94

Главные элементы: дальномер и директор, объединенные в башенке (Koshaki) - по одной с каждого борта носовой надстройки, и вычислительный прибор (Kosha Shagekiban), расположенный под бронепалубой в центральном артпосту (ЦАП).

Операторы дальномера-директора: дальномерщик (1) измеряет дистанцию до самолетов с помощью 4.5-метрового стереодальномера (А): (2) передает дистанцию через прибор (В) в ЦАП: (3) корректировщик; установщики угла возвышения орудий (4), бокового (5) и вертикального отклонения (6) следят за целью через 8-см телескопы (D, Е и F) и с помощью рукояток измеряют углы возвышения и упреждения и вертикального отклонения; горизонтальный наводчик (7) следит за целью через 8-см телескоп (С) и устанавливает рукояткой (С) УГН; офицер управления (8) передает окончательные УГН и УВН к орудиям и дает сигнал на открытие огня. Предусмотрены также рассыльный и резервный оператор. Измеренные УГН (Т). УВН (Е), дистанция (R), вертикальное (V) и боковое (L) отклонения передаются на вычислительный прибор. Операторы зенитного вычислительного прибора: (1) офицер; (2) установщик дистанции и скорости ее изменения - действуя рукоятками времени полета (А) и ускорения (В), совмещает отметки дистанции на графике изменения дистанции (С); установщик (3) вертикального отклонения с помощью рукоятки (D) останавливает балансирный диск циферблата отклонений (D); установщик (4) бокового отклонения (упреждения) - то же, но рукоятка и диск (F); (5) следит за курсом по репитеру компаса (G) и вводит его рукояткой (G); установщики коррекции вертикального (6) и горизонтального (7) отклонения с помощью рукояток (J) и (Н) оптического преобразователя координат корректируют свои углы с учетом килевой и бортовой качки; установщики коррекции №1 (8) и №2 (9) вносят коррекцию на время установки взрывателя (рукоятка и циферблат К), уровень цели (рукоятка и циферблат L), поправку на скорость своего корабля и параллакс (рукоятка и циферблат N). S - барабан высоты цели, О - часы, Р , Q - табло времени полета и скорости изменения дистанции, U - рукоятка и табло корректировки дистанции, V - табло будущей дистанции, W - реверсивный механизм наводчика. X - рукоятка дистанции стрельбы. Автоматический ввод (при необходимости - черными рукоятками) дистанции (R), углов бокового и вертикального отклонений (I и I), УВН (Е) и УГН (Т) производится с дальномера-директора. Подсчитанные значения ПУВН (Eт) и ПУГН (Тт) передаются через дальномерного офицера на артустановки, а время установки взрывателя (FST) - сразу на механизмы установки взрывателя каждого орудия.

Зенитный директор типа 95

Для управления огнем спаренных, а затем строенных 25-мм автоматов фирма Фудзи Денки Сейцо под руководством верфи флота в Куре разработала зенитный директор ближнего действия, который 7.01.1937 г. приняли на вооружение как “тип 95". Сначала он устанавливался на новые авианосцы. Наводящая часть этих директоров строилась по принципу “курс и скорость”, как у французских прицелов “Ле Прие”. Установленный на тумбе директор имел скорость ГН 18°/с от электромотора или 13°/с вручную, скорость ВН 12°/с и 9°/с соответственно. Предел измеряемой дистанции 3800 м, максимальная скорость цели, за которой еще можно было следить, 380 км/ч. Перед началом войны на Тихом океане этот предел подняли до 500 км/ч, а в ходе ее - до 900 км/ч за счет использования в телескопе управляющего огнем офицера прицела с выгравированным кольцом. Каждый такой директор дистанционно управлял огнем двух или трех установок одного борта, имевших силовой привод ГН и ВН (спаренных, а затем строенных). Для ускорения производства в 1944 г. разработали упрощенную модель типа 4 модели 3, которая управляла огнем 25-мм автоматов типов 96, 12-см ракетных установок и 12,7-см/40 зенитных орудий эскортных эсминцев, а также наземных зениток.

Более 800 000 книг и аудиокниг! 📚

Получи 2 месяца Литрес Подписки в подарок и наслаждайся неограниченным чтением

ПОЛУЧИТЬ ПОДАРОК