Глава 5 СЕРВИСНОЕ ОБСЛУЖИВАНИЕ ЭЛЕКТРОПРОВОДКИ БЫТОВОГО И ПРОМЫШЛЕННОГО НАЗНАЧЕНИЯ

Электропроводка предоставляет среду, посредством которой энергия передается к электрическим двигателям, устройствам управления, другому электрическому и электронному оборудованию. В этой главе даются общие сведения о проводке бытового и промышленного назначения, а также представлена методика поиска неисправностей. Кроме того, рассмотрены процедуры проверки и ремонта систем телевизионных кабельных сетей и систем освещения бытового и промышленного назначения.

Основные сведения

Большинство схем электропроводки состоит из четырех основных частей:

♦ источник питания;

♦ линия передачи;

♦ устройство управления;

♦ рабочее устройство.

Однофазные источники питания обычно содержат распределительный щит, который дает 120/240 В. Современные модели обеспечивают ток от 60 до 200 А. В распределительном щите каждая индивидуальная цепь подключена к линии с фазным напряжением и к нейтральной линии заземления (рис. 5.1).

Рис. 5.1. Пример источника питания 120 и 240 В с трансформатором

На распределительном щите цепь фазы обычно выполняется из черного или красного провода, если напряжение составляет 240 В. Нейтральный провод обычно белый, а зеленый выполняет роль предохранительного приспособления и заземления. Плавкие предохранители или прерыватели защищают линию фазы от перегрузок. Нейтральная сторона почти всегда подключена к земле путем соединения этого провода с заземляющим стержнем или водопроводной трубой с холодной водой, в зависимости от местных правил (рис. 5.2).

Рис. 5.2. Схема распределительного щита

Устройство, которое называется заземлением оборудования, состоит ил монтажного провода, который соединен с нейтральным выводом на распределительном щите (общая земля), с металлической приемной коробкой и третьим отверстием в розетке. Возьмем, к примеру, дрель. Она должна иметь вилку с двумя или тремя штырями и пружинящими контактами, соединенными проводом с металлическим корпусом инструмента (рис. 5.3).

Рис. 5.3. Распределительный щит, розетка, и ручная дрель, демонстрирующие применение провода заземления

Если при работе с дрелью происходит замыкание на землю, ток пойдет не через оператора, а через этот провод заземления назад к источнику. Если защитное заземление не предусмотрено, ток с фазной линии может пойти через заземленную дрель, оператора и назад в заземление на землю (рис. 5.4).

Рис. 5.4. Примеры заземленной и незаземленной схемы

Системы заземления защищают операторов и оборудование. Программируемые устройства управления и компьютеры особенно чувствительны к замыканию на землю. Приборы более подвержены замыканию на землю, если они работают в среде с высокой влажностью, например в подвалах и на расположенных под открытым небом объектах: на промышленном складе или на цокольном этаже с влажным полом оператор и оборудование в большей степени подвержены риску замыкания на землю.

Специалист по обслуживанию не должен думать, что третий штырь вилки всегда защищает оборудование и оператора. Нередко цепь провода заземления имеет обрыв. В старых промышленных установках очень часто встречаются розетки с незаземленными контактами. Даже если розетка снабжена заземлением, это не гарантирует защиту во влажных и сырых помещениях ни оператору, ни оборудованию.

Для защиты двигателей, устройств управления и другого промышленного оборудования были разработаны усовершенствованные программируемые технологии. Рис. 5.5 показывает программируемое устройство, спроектированное для защиты больших и дорогостоящих двигателей. Оно предохраняет не только от замыкания на землю, но и от заклинивания, перегрузок, неравенства фазных напряжений, других проблем питания и нагрузки.

Рис. 5.5. Программируемое устройство защиты двигателя

Менее дорогостоящие средства защиты от замыкания на землю называются устройствами защитного отключения (УЗО). На рис. 5.6 показан типичный бытовой выключатель УЗО. Прерыватель похож на размыкатель цепи, но защищает схему от замыкания на землю. Он срабатывает, как только небольшой ток начинает течь на землю.

Рис. 5.6. Типичное устройство защитного отключения

Большинство систем электропроводки, расположенных в жилых зданиях, обычно используют провод № 14 для тока 15 A, № 12 для тока 20 А, № 10 для тока 30 А, № 8 для тока 40 А, и № 6 для тока 55 А.

Максимальная мощность оборудования 20 А общего назначения составляет 2400 Вт, а для цени 15 А — около 1800 Вт (при напряжении 120 В). Общее потребление одновременно включенных устройств не должно превышать возможностей сети питания. При расчете схем бытовой проводки обычно предполагается, что на каждые 35 м2. площади необходимо обеспечение 15 А. Розетка должна быть доступна каждые 3,6 м по длине стены. Обычно оборудование мощностью 8000-18 000 Вт должно иметь отдельную проводку 240 В (40 А). Электрический нагреватель воды (2000–4000 Вт) требует отдельной цепи 240 В (40 А). В кухнях обычно предусматриваются две или три отдельные цепи 20 А для электрических устройств. Часто одна цепь общего назначения 15–20 А может обеспечить две спальни и ванную.

Используется три основных типа кабеля: с неметаллическим чехлом, гибкий армированный кабель и тонкостенная металлическая трубка, которую часто называют просто трубкой. Она обычно выпускается секциями по 3 м и может иметь разные размеры: 25 мм с четырьмя проводами № 14 или тремя проводами № 12; 20 мм с четырьмя проводами № 10 или пятью проводами № 12 и т. д.

Существуют различные типы труб: тонкостенные, пластмассовые, неупругие. Неметаллические кабели подразделяются по назначению для помещений и для внешних соединений. Обычно в схемах переключения используются однополюсные схемы и схемы на три или четыре направления (рис. 5.7).

Рис. 5.7. Однополюсный переключатель, управляющий работой лампы

Переключатель на три направления регулирует питание одной или более ламп из двух мест. В положении, показанном на рис. 5.8, лампа выключена, а при повороте любого переключателя лампа загорится. Для этой схемы необходима трехпроводная линия между переключателями.

Рис. 5.8. Переключатель на три направления, управляющий работой лампы

Руководит работой одной или более ламп из трех мест переключатель на четыре направления (рис. 5.9).

Рис. 5.9. Переключатель на четыре направления, управляющий работой лампы

Здесь для соединения также необходим трехпроводный кабель. Кроме того, средний переключатель должен работать на четыре направления. Если нужно обеспечить управление более чем из трех мест, просто добавляйте переключатели на четыре направления.

Четырехпроводная система состоит из трех фаз, которые имеют одинаковое напряжение, и четвертого провода заземления, который используется для защиты и уменьшения напряжения. На рис. 5.10 показаны системы с соединением «треугольником» и «звездой», которые обычно используются в школах, офисах и промышленности.

Рис. 5.10. Схемы соединения звездой и треугольником

Ремонт цепей электропроводки

К числу обычных неисправностей, которые возникают в цепях электропроводки бытового и промышленного назначения, относятся обрывы, замыкание на землю, короткое замыкание и проблемы коэффициента мощности. Обрыв, замыкание на землю и короткое замыкание уже были рассмотрены ранее, а трудности, связанные с коэффициентом мощности, более характерны для промышленных сетей и силовых устройств переменного тока. Типичной проблемой, возникающей в трехфазных системах промышленного назначения, является низкий коэффициент мощности. Любой тип цепей или устройств переменного тока с реактивным сопротивлением индуктивного типа — нагреватели, лампы, двигатели, устройства управления — вызывает запаздывание нарастания синусоидальной полуволны тока относительно полуволны напряжения, которое выражается в процентах и часто изменяется в пределах 30–90 %, при этом второй показатель наиболее приемлем по сравнению с первым. Коэффициент мощности представляет собой косинус фазового угла между напряжением и током. При низком коэффициенте мощности потребляется большой ток, это неэкономично и дорого, а также увеличивает нагрев. Скорректировать его можно при помощи добавления в схему параллельно подключенной емкости (рис. 5.11).

Рис. 5.11. Корректировка низкого коэффициента мощности за счет добавления конденсатора

Коррекция коэффициента мощности обычно выражается в единицах, называемых «ВАР» (вольт-ампер-реактивный) или килоВАР и осуществляется за счет добавления конденсаторов, которые уменьшают разность фаз между напряжением и током в схеме. Поэтому двигатель с коррекцией коэффициента мощности рассеивает меньше энергии в варах, что снижает потери и затраты.

На рис. 5.11 обратите внимание, что блок конденсаторов имеет плавкий предохранитель для дополнительной защиты на каждой линии. Это делается на случай, если один из конденсаторов будет закорочен. Между конденсаторами установлены резисторы утечки для разряда конденсаторов после выключения устройства и уменьшения риска электрического удара. Заметьте, что конструктивно сами конденсаторы могут размещаться на входе источника питания, двигателе или перед нагрузкой двигателя.

При поиске неисправностей систем электропроводки попробуйте сначала ориентироваться с помощью чувств. Если размыкатель просто сработал, но не сбросился, подумайте, что могло вызвать этот эффект. Может быть, кто-то просто включил устройство и вызвал этим перегрузку в цепи. Чувствуете ли вы необычные запахи? Откуда эти странные звуки? Проверьте систему на наличие трещин, обугленных элементов, запахов, механических поломок и т. д.

Если в системе электропроводки есть блок плавких предохранителей, проверьте основные с помощью вольтметра.

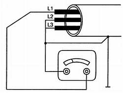
На рис. 5.12 демонстрируется метод локализации сгоревшего предохранителя в однофазной системе. Когда выводы вольтметра подключены к линии (справа вверху), по показаниям прибора мы можем видеть, что напряжение есть. Когда вольтметр подключен к контактам после плавких предохранителей (слева вверху) и нет индикации, мы знаем, что предохранитель сгорел. Последний предохранитель проверяется таким же образом.

Рис. 5.12. Проверка плавких предохранителей в однофазной системе

В трехфазной системе предохранители можно проверить вольтметром или омметром таким же образом, как они тестируются в однофазной системе (рис. 5.13).

Рис. 5.13. Проверка плавких предохранителей в трехфазной системе

Другим прибором, который часто используется для проверки после завершения установки бытовой проводки, является тестер розеток (рис. 5.14). Он индицирует типичные неисправности цепей: обрыв фазы, обрыв нейтрального проводника, фазный и нейтральный провода перепутаны, изменение порядка подключения фаз.

Рис. 5.14. Тестер розеток

Обычными неисправностями в промышленных электросетях являются короткие замыкания и обрыв провода, а также замыкание провода на металлическую оболочку (трубку). Используя рис. 5.15 в качестве примера типичной промышленной цепи, мы рассмотрим поэтапную процедуру поиска неисправностей.

Рис. 5.15. Типовая промышленная электросеть

Проверьте:

1. Подачу питания с линии на основной распределительный щит.

2. Наличие грязи, плохого прижима контактов или сгоревших предохранителей. Качество блока размыкателей: нет ли там изношенных или подвергшихся коррозии ножей, дефектных плавких предохранителей, неправильно работающих приводных механизмов.

3. Устройство управления двигателем и провода, ведущие к устройству и от него. На слабые, ненадежные контакты, грязь, масло, закороченные обмотки и т. д.

4. Непрерывность цепи от блока размыкателей до устройства управления двигателем с помощью омметра. Если в устройстве управления двигателем есть напряжение и оно работает правильно при подаче питания, мы можем точно сказать, что дефект должен находиться между устройством управления и двигателем.

5. Проводку между устройством управления двигателем и распределительной коробкой на обрыв в схеме, короткое замыкание или замыкание на землю. В нашем примере мы обнаружили, что провода в трубке имеют обрыв и замкнуты на трубку.

6. Соединительную коробку, на слабые соединения, соединительные клеммы, зажимы провода внутри коробки и т. д. на наличие влаги, грязи, масла.

7. После восстановления, исправность линии между распределительной коробкой и электродвигателем.

8. Действие кнопочного переключателя и двигателя.

Таким простым и логичным способом мы можем выявить неисправность.

Помните, что если кабель вызывает сгорание предохранителей или срабатывание размыкателя без нагрузки, а все устройства управления были проверены, значит, кабель закорочен.

В таком случае лучше воспользоваться преимуществами, которые дает трубка. Старые закороченные провода можно легко вытянуть из нес и вставить другие, используя моток гибкой стальной проволоки. Если неметаллический кабель требует замены, то, вероятно, сделать это будет сложно, не вскрывая стены, если вообще возможно. Вытаскивая неметаллический поврежденный кабель, прикрепите к нему новый и тяните его внутрь, по мере того, как вытягиваете старый. Трубка также механически прочнее и лучше защищает медный провод. Именно поэтому вся наружная проводка должна выполняться с применением трубок.

Если в цепи используется устройство защитного отключения, то необходимо проследить все ответвления, проверив их на наличие влаги и/или короткозамкнутые или замкнутые на землю провода. Основное преимущество прерывателей защитного отключения заключается в том, что они могут спасти жизни и предотвратить травму за счет автоматического отключения подачи энергии. Они могут сработать под воздействием влажности различного происхождения — и это их недостаток. Например, очень часто прерыватель срабатывает в жаркую, дождливую погоду или во время ливня, хотя никакой угрозы не возникло. Другой недостаток заключается в том, что даже если прерыватель сработал, через него может пройти выброс напряжения (пусть даже длительностью в микросекунды), который может нанести удар человеку, в результате существенно возрастает риск травмы. Это может быть особенно опасно для того, кто работает на высоко расположенной подставке. Другой защитный прибор, в сочетании с изолирующим трансформатором, может устранить этот недостаток прерывателя замыкания на землю.

Для проверки сопротивления изоляции трехфазных распределительных кабелей можно использовать мегомметр. Тестируйте провода по очереди, подключая мегомметр к одной линии, соединив и связав две другие вместе и заземлив их (рис. 5.16). Сравните показания омметра с требованиями стандарта кабеля, зависящими от его размера, длины и условий работы.

Рис. 5.16. Проверка сопротивления изоляции с помощью омметра

Кроме ремонта кабеля, может потребоваться замена или восстановление механически поврежденной или обуглившейся изоляции. Эта ситуация наиболее часто встречается, когда в наличии нет конкретного изолятора.

Другой способ поиска неисправностей систем проводки заключается в поочередном отключении секций цепи. С использованием мегомметра или омметра отследите прохождение сигнала в системе от точки к точке, отсоединяя по одной части схемы по очереди, до тех пор, пока не обнаружите короткое замыкание, обрыв или замыкание на землю (рис. 5.17).

Рис. 5.17. Процедура поиска неисправностей в проводке промышленного назначения

Например, для того чтобы выявить замыкание на землю, сначала отсоедините двигатель в точке С и проверьте напряжение в линии с помощью мегомметра. Затем отсоедините устройство управления двигателем и проверьте напряжение. После этого проверьте распределительный щит.

Каждый специалист по поиску неисправностей в промышленном оборудовании сталкивается с разнообразными распределительными щитами, блоками размыкателей, другими заключенными в корпус средствами проводки и управления. Проблемы, связанные с ними, обычно заключаются в некачественных соединениях, сломанных проводах, коррозии контактов, неисправных плавких предохранителях или размыкателях.

Визуальное тестирование позволит выявить большинство механических неисправностей оборудования. Проверьте, нет ли признаков загрязнения, сломанных проводов или разъемов. Советуем вам воспользоваться специальным диагностическим оборудованием. Однако помните, что если размыкатель не сбрасывается, часто срабатывает или функционирует нечетко, его следует заменить.

В крупных системах распределения электроэнергии иногда используется комбинация размыкателя цепи с видимыми изолированными контактными ножами, который называется «выключателем цепи». Этот прибор основан на пружинном механизме и вакуумном прерывателе для обеспечения полной защиты от фазового сверхтока, фазовых потерь и замыканий.

В блоках размыкателей есть очень надежный переключатель, расположенный на фланце с рукояткой для остановки подачи энергии от двигателей, насосов, устройств управления и др. Однако, если все же произошла поломка, проверьте на наличие неисправностей приводной механизм, сломанную или отсоединившуюся пружину или соединительное звено, изношенную, или подвергшуюся коррозии нажимную пластину или держатель плавкого предохранителя.

Корпуса распределительных щитов, блоков размыкателей и др. могут быть механически испорчены, подвергнуться коррозии под воздействием атмосферы, быть повреждены химическими соединениями, маслом, влагой, грязью и пр. Исправьте незатянутые соединения, закороченные провода, некачественные гибкие соединители, механические повреждения, удалите коррозию.

На рис. 5.18 показан пример корпуса промышленного устройства управления. Обратите внимание на аккуратное расположение и состояние проводов и соединений.

Рис. 5.18. Трехфазная проводка промышленного назначения и корпус распределительной панели

Провода должны иметь длину, обеспечивающую не слишком тугое и в то же время не чересчур свободное соединение, что позволит предотвратить возможные проблемы: короткое замыкание или отсоединение. Собирая кабель в электрических коробках, оставляйте 15 см для гибкого соединения, обычно выполняемого с помощью пластмассовых клеммных разъемов.

Ремонт систем освещения

Системы освещения бытового и промышленного назначения часто требуют обслуживания. Вот некоторые типы стандартных ламп:

♦ накаливания;

♦ флуоресцентные;

♦ газонаполненные;

♦ ртутные;

♦ газоразрядные;

♦ высокого и низкого давления и др.

Лампы накаливания (которые обычно и называются электрическими), как правило, используются в жилых зданиях. Типичной их проблемой является треснутый патрон, низкое напряжение, которое значительно уменьшает эффективность, (яркость) лампы. И основная проблема, с которой необходимо бороться, — вибрация. Именно это явление чаще всего приводит к обрыву вольфрамовой нити.

Существует несколько типов флуоресцентных осветительных систем: с предварительным нагревом и быстрого включения. Первый из рассматриваемых типов требует вспомогательного запускающего переключателя, при активации которого дроссель стартера обеспечивает пусковой ток для предварительного нагрева электродов флуоресцентной лампы. Через несколько секунд пускатель срабатывает и лампа загорается.

К числу обычных проблем ламп с предварительным нагревом относятся мигание и неспособность загореться. Эти неполадки могут возникать из-за сломанного гнезда, неправильной установки, низкого напряжения, грязи, ошибок в проводке, неисправной лампы, дросселя или пускателя. Наиболее часто встречаются низкое напряжение, грязные лампы или неисправный пускатель.

Лампы быстрого и мгновенного включения отличаются от описанных выше тем, что не требуют пускателя. Дроссель имеет встроенную обмотку, которая обеспечивает необходимый ток. Типичной проблемой этих компонентов является то, что при загрязнении, особенно в условиях высокой влажности, лампа не загорается, а мигает. В таких случаях осветительный прибор необходимо прочистить или заменить. Другие проблемы заключаются в сломанном гнезде, низком напряжении, неправильной проводке или неисправном дросселе.

Ртутные газонаполненные лампы обычно используются в промышленности и обеспечивают яркое освещение, но требуют постоянного и надежного источника питания. При скачках напряжения лампа не работает, затем в течение 5-10 мин охлаждается, чтобы вернуться к прежней яркости. Слабые места подобных устройств: низкое напряжение, перебои в подаче питания, неисправные трансформаторы.

Лампы высокого давлении работают аналогично ртутным и газонаполненным и также требуют надежного постоянного источника напряжения, достаточного времени, чтобы охладиться перед повторным включением. Проблемы: несоответствующее напряжение, перебои в подаче питания, неисправные лампы и дроссели.

Ремонт распределенных систем телевидения

Область радиосвязи и телевидения продолжает развиваться. Появляются все новые технологии: спутниковые системы бытового и коммерческого назначения, устройства медицинской телеметрии, цифровое радиовещание, усовершенствованные распределенные системы антенн.

Этот сегмент технического обслуживания можно освоить, если понять принципы работы и поиска неисправностей распределенной системы антенн.

Антенна — первичный компонент системы, отвечающий за прием сигнала.

Предусилитель, который располагается в корпусе антенны, повышает качество приема сигнала.

Распределительный усилитель используется для усиления сигнала до уровня, достаточного для хорошего приема.

Например, на рис. 5.19 показан однокаскадный распределительный усилитель для использования п средних и больших системах кабельного телевидения с приемом на общую антенну и телевидения с использованием главной антенны.

Рис. 5.19. Полупроводниковый распределительный усилитель, предназначенный для усиления сигналов VHF и UHF

Он характеризуется регулятором коэффициента усиления. настраиваемым высокочастотным фильтром, максимальной стабильностью сигнала. Разветвитель разделяет сигналы и отправляет их в линию передачи. Самые распространенные типы данных компонентов — на 2 и 4 направления (рис. 5.20).

Рис. 5.20. Разветвитель на два направления для разделения и согласования сигналов коаксиальной линии 75 Ом

Ответвитель используется для направления части сигнала от основной линии к приемнику. Два основных типа описываемых устройств — это линейный и промежуточный ответвитель.

Линейный ответвитель монтируется на стене около телевизионного приемника. Он обеспечивает разделение выходных каналов гак, что приемники не влияют друг на друга, предотвращая размытость и паразитное изображение.

Промежуточный ответвитель используется, когда несколько телеприемников расположены на большом расстоянии от основной линии. Он ведут сигнал непосредственно к телевизору, что упрощает установку (рис. 5.21).

Рис. 5.21. Направленный линейный промежуточный ответвитель на один телеприемник

Устройства согласования предназначены для обеспечения соответствия сигналов от антенны телевизионным приемникам. Существует несколько различных типов устройств согласования. Например, если используется отдельная антенна MB (метровых волн) и ДМВ (дециметровых волн), то устройство согласования предназначено для трансформирования этих отдельных сигналов в единый выходной сигнал при выходном сопротивлении 75 или 300 Ом, что устраняет необходимость тянуть две отдельных линии к телеприемнику. Устройства согласования часто устанавливаются на антенне или на чердаке.

Фильтры используются для ослабления определенных сигналов (частот), устраняя наложение сигналов. Любительский диапазон радиочастот и диапазон ЧМ нередко накладываются друг на друга. Большинство фильтров FM предназначены для ослабления частотно модулированных сигналов в диапазоне 88-108 МГц. Для фильтрации нежелательных частот используются также аттенюаторы.

Антенна представляет собой проводник, который принимает электромагнитные волны, возбуждающие ток соответствующей частоты. Ее длина и резонансный эффект непосредственно связаны с частотой и длиной волны: длина антенны обратно пропорциональна частоте. Для измерения коэффициента усиления потерь или качества изоляции антенны и кабелей используется единица децибел (дБ).

Децибел — это соотношение двух напряжений (точнее, логарифм отношений), входного и выходного напряжения системы антенна/кабель. Тысяча микровольт эквивалентны одному дБ при относительном напряжении 1 мВ.

В качестве антенного провода используют, в основном, коаксиальный кабель 75 Ом и двухпроводный 300 Ом. Он имеет круглое сечение и стоит дороже, чем двухпроводный кабель, идеален для прохождения через трубы, защищен от погодного влияния, имеет хорошую экранировку от внешних помех и защиту от интерференции.

Есть два основных типа двухпроводного кабеля — стандартный плоский и цилиндрический с пенным наполнителем.

Первый двухпроводный кабель дешевле, но не так устойчив к плохим погодным условиям, как кабель с наполнителем. Никакой двухпроводной кабель не дает достаточной защиты от помех и интерференции.

На рис. 5.22 показана распределенная система на 82 канала и 96 телевизионных приемников. Эта система иллюстрирует использование разделителей, линейных ответвителей, усилителя, источника питания, предусилителя и антенны. Нагрузочные резисторы используются для предотвращения возникновения отраженной волны в линии передачи.

Рис. 5.22. Телевизионная система с главной антенной для комплекса жилых зданий

Более совершенные антенные системы обеспечивают прием цифровых спутниковых сигналов, качественный прием видеосигналов, CD-звук и возможность доступа к сотням каналов.

Например, мобильная цифровая спутниковая система Winegard имеет антенну из стали с покрытием методом горячего цинкования с защитой от ультрафиолетового излучения и влияния погодных условий. Различные типы спутников включают мобильные системы с ручным и автоматическим цифровым наведением и переносные домашние установки с дополнительными наборами.

Чтобы гарантировать корректную работу распределенных систем телевидения следует помнить о нескольких правилах. Антенна должна быть хорошего качества и обладать хорошей коррозионной устойчивостью. Она должна быть надежно установлена для обеспечения правильной ориентации.

Если антенна неверно направлена, она может плохо принимать сигнал или будут возникать паразитные изображения из-за того, что волна отражается от различных объектов, например больших зданий.

Отраженный сигнал фактически несколько задерживается. Он поступает в антенну вскоре после основного сигнала и оказывается слегка смещенным вправо на телевизионном экране. Для устранения этой проблемы необходимо перенаправить антенну или установить более узконаправленную антенную систему.

Другой вариант: попробуйте установить антенну поменьше, ту, что имеет высокий коэффициент обратного излучения, но среднее значение коэффициента усиления.

Антенна должна устанавливаться вдали от деревьев, металлических и крупногабаритных объектов, например, на чердаке или крыше. Однако помните, что теплоизоляция на подложке из алюминиевой фольги и металлические кровельные материалы могут ослабить сигнал.

Основная причина проблем устройства для излучения и приема электромагнитных волн заключается в коррозии под воздействием осадков. Антенну следует заменить, если очевидна потеря сигнала.

Пробой изоляции, вызванный неблагоприятными условиями погоды, — главная причина неполадок распределительных линий.

Линию передачи можно проверить омметром. Кроме того, используя небольшой телевизор или монитор, можно проследить прохождение сигналов в антенне шаг за шагом.

Распределительную линию можно также проверить с помощью замены ее заведомо исправным кабелем. Помните, что короткое замыкание в коаксиальном кабеле не всегда вызывает короткое замыкание в схеме. Закороченный кабель часто действует как фильтр, очевидно, вследствие наличия активного сопротивления по постоянному току и собственной индуктивности, образовавшейся при коротком замыкании. На телевизионном приемнике могут возникать необычные эффекты: исчезновение цвета на одном канале при сохранении его на других, или только некоторые из подключенных к общей антенне приемников начинают принимать более слабый сигнал, чем остальные. Обрыв в коаксиальном кабеле может также вызвать странные результаты: потерю четкости или паразитное изображение, плохой прием или отсутствие сигнала. Помните, что предусилитель может только усилить сигнал, принятый антенной. Он не может расширить диапазон или усилить сигнал, поступающий к антенне.

Неаккуратная установка распределительной сети может привести к плохому приему, паразитному изображению или потере четкости изображения. Некоторые проблемы возникают потому, что на конце цепи не установлен нагрузочный резистор, кабель защемлен скобами крепления, делает резкие изгибы, что создает несоответствия импеданса и вызывает слабые или плохие соединения.

Когда исправный телевизор дает изображение с помехой типа «снег», причина должна заключаться в слабом сигнале. Для хорошего, чистого, контрастного приема обычно необходим сигнал 0 дБмВ, что соответствует 1000 мкВ. Обычная проблема большинства систем заключается в том, что к антенне подключены слишком много телевизионных приемников без достаточного усиления сигнала. Каждый телевизор ослабляет сигнал. Кроме того, если распределительный кабель слишком длинный, сигнал также ослабеет. Например, 30-метровый коаксиальный кабель вызывает потерю около 6 дБ на канале 14. Это соответствует приблизительно двукратному ослаблению сигнала 1000 мкВ, необходимого для хорошего изображения.

Обслуживая или устанавливая антенную систему, важно вычислить мощность сигнала для использования наиболее подходящего усилителя. Для обеспечения должного уровня сигнала при проектировании системы необходимо также учитывать возможные потери.

В областях, где возникает нежелательный шум при приеме, попробуйте использовать фильтр для ослабления ненужных частот. В регионах с очень сильными сигналами ЧМ может помочь заграждающий фильтр. При необходимости, специалист по поиску неисправностей может соединить несколько заграждающих фильтров в виде нескольких каскадов.

Главной угрозой для антенн являются молнии, которые часто попадают в антенну, вызывая множество проблем: обрыв линии передачи, предусилителе, разветвителе и других компонентах. Обычно предусилитель, который расположен в корпусе антенны, снабжен защитным диодом, который уменьшает риск наиболее серьезных проблем. Молниезащита и заземленные стержни также могут уменьшить вероятность возникновения более серьезных неисправностей.

Профилактическое техническое обслуживание

Идеальная программа профилактического технического обслуживания должна состоять из периодической проверки всей распределительной системы, распределительных коробок и приборов. Для регистрации всех неисправностей необходимо вести журнал учета.

Прежде всего обращайте внимание на устройства управления с повышенным уровнем шума и настраивайте их. Грязные, липкие, влажные линии, устройства управления двигателем, распределительные коробки следует периодически чистить. Регулярно проверяйте напряжение в линии. Значения этого параметра не должны отличаться от заданных более чем на 10 %.

В жаркие летние дни, когда могут возникать проблемы, связанные с низким напряжением. Подразделение, занимающееся техническим обслуживанием должно попытаться отключить все менее важные осветительные приборы, двигатели и другое оборудование. Низкое напряжение заставляет двигатели потреблять больше тока, что в свою очередь приводит к выделению большего тепла. В результате это разрушает кабели, двигатели и другое оборудование.

Необходимо регулярно проверять температуру окружающей среды около данного устройства. Аномально высокие показатели вызывают поломки и могут стать косвенной причиной пожаров, поскольку жара увеличивает ток и вызывает пробои изоляции. В то же время мороз может вызвать образование трещин.

Полупроводники очень чувствительны к изменениям температуры вне пределов допустимых величин. Неблагоприятная погода может разрушить диоды, транзисторы, тиристоры и другие полупроводниковые устройства. Убедитесь, что они снабжены адекватным охлаждением и не подвергаются чрезмерному воздействию тепла.

Следует избегать работы приборов при несоответствующих физических или механических условиях без крайней необходимости, поскольку это создает реальную опасность для оператора, а также может стать причиной преждевременного выхода оборудования из строя. Найдите способы уменьшения или устранения вибрации, механического перемещения, воздействия внешних материалов и загрязнения.

Вопросы для самоконтроля

Выберите наилучший ответ:

1. В настоящее время в жилых домах используются распределительные коробки, обеспечивающие ток как минимум:

а) 30 А;

б) 60 А;

в) 100 А;

г) 150 А;

д) 200 А.

2. Нейтральный общий провод обычно ___ имеет цвет и подключается к ___

а) красный, трубе холодного водоснабжения;

б) белый, к размыкателю цепи или плавкому предохранителю;

в) черный, к размыкателю цепи или плавкому предохранителю;

г) белый, трубе холодного водоснабжения;

д) красный, к размыкателю цепи или плавкому предохранителю.

3. Провод № 8 обычно используется для:

а) 15 А;

б) 20 А;

в) 30 А;

г) 40 А;

д) 60 А.

4. Другое название тонкостенной металлической трубки для проводов:

а) неметаллический кабель;

б) гибкий металлический кабель;

в) трубка;

г) армированный кабель;

д) ничего из перечисленного.

5. Другое название гибкого стального кабеля:

а) трубка

б) тонкостенная металлическая трубка;

в) синтетический кабель;

г) неметаллический кабель;

д) ничего из перечисленного.

6. Переключатель на 4 направления позволяет руководить работой лампы из ___ мест:

а) 1;

б) 2;

в) 3;

г) 4;

д) 5.

7. Коэффициент мощности индуктивной реактивной схемы можно увеличить за счет добавления:

а) конденсаторов;

б) индукторов;

в) катушек индуктивности;

г) плавких предохранителей;

д) ничего из перечисленного.

8. Устройство для протягивания провода через трубку называется:

а) проволочные клещи;

б) скоба;

в) разъем;

г) проволока для протаскивания электропроводов через трубы;

д) ничего из перечисленного.

9. Наилучший способ проверки сопротивления изоляции заключается в использовании:

а) вольтметра;

б) омметра;

в) амперметра;

г) мегомметра;

д) всех перечисленных приборов.

10. Для уменьшения уровня сигнала в пунктах с очень сильным сигналом используется:

а) разделитель;

б) усилитель;

в) ответвитель;

г) новая антенна;

д) аттенюатор.

11. Какая из следующих ламп использует пускатель:

а) лампа с предварительным нагревом;

б) лампа быстрого запуска;

в) лампа мгновенного запуска;

г) все перечисленные.

12. Какая из следующих ламп требует определенного периода времени для охлаждения перед повторным запуском:

а) лампа накаливания;

б) флуоресцентная;

в) ртутная газонаполненная;

г) никакая из перечисленных.

13. Устройство для ослабления специальных сигналов это:

а) промежуточный ответвитель;

б) линейный ответвитель;

в) разветвитель;

г) заграждающий фильтр.

14. Провод с экраном это:

а) плоский двухпроводный;

б) двухпроводный с пенным наполнителем;

в) коаксиальный;

г) все перечисленные.

15. Какой из следующих проводов имеет импеданс 75 Ом:

а) плоский двухпроводный;

б) двухпроводный с пенным наполнителем;

в) коаксиальный;

г) никакой из перечисленных.

16. Прибор для предотвращения отражения сигнала в линию передачи называется:

а) заграждающий фильтр;

б) линейный ответвитель;

в) предусилитель;

г) нагрузочный резистор.

17. Причина размытого изображения и паразитного изображения заключается в:

а) обрыв в линии передачи;

б) неправильно расположенная антенна;

в) одновременный прием прямого и отраженного сигналов;

г) все перечисленные.

18. Предусилитель обычно устанавливается:

а) на телевизионном приемнике;

б) на антенне;

в) на чердаке или стене;

г) ничего из перечисленного.

19. Прибор для увеличения уровня сигнала называется:

а) линейный промежуточный ответвитель;

б) усилитель;

в) аттенюатор;

г) заграждающий фильтр.

20. Максимальная емкость для схемы общего назначения составляет около:

а) 1500 Вт;

б) 1800 Вт.

в) 2400 Вт,

г) 2800 Вт.

Вопросы и проблемы

1. Расскажите о типах кабеля, которые обычно используются в проводке бытового и промышленного назначения.

2. Расскажите о действии переключателей на три и четыре направления.

3. Расскажите о приборах для заземления и его применении.

4. Каковы различия напряжений между трансформаторными системами энергоснабжения с соединениями звездой и треугольником?

5. Объясните функции программируемого устройства защиты двигателя.

6. Перечислите недостатки прерывателя замыкания на землю.

7. Расскажите о методах, используемых при поиске неисправностей электропроводки.

8. Укажите причины, по которым на экране телевизора может иметь место помеха типа снег.

9. Расскажите о воздействии температуры на работу приборов.

10. Расскажите о процедурах технического обслуживания, которые следует выполнять при работе в сфере производства.

11. Объясните, как на экране телевизора образуется двойное изображение.

12. Что можно сделать для ослабления сильного сигнала FM?

13. Расскажите о стандартных неисправностях антенн и кабельной сети.

14. Какова разница между коаксиальным кабелем и двухпроводным кабелем?

15. Сколько микровольт требуется для качественной, чистой картинки на экране телевизора?

16. Опишите, что может случиться, если в коаксиальном кабеле возникает короткое замыкание.

17. Каковы возможные последствия обрыва в коаксиальном кабеле?

18. Объясните разницу между линейным и промежуточным ответвителем.

19. Что такое аттенюатор?

20. Какова цель использования разветвителя?

21. Расскажите о преимуществах использования коаксиального кабеля

22. Расскажите о разнице между стандартным плоским двухпроводным кабелем и трубчатым двухпроводным кабелем с пенным наполнителем.

23. Что такое децибел?

24. Какова разница между усилителем и предусилителем?

25. Для чего используются нагрузочные резисторы?

Более 800 000 книг и аудиокниг! 📚

Получи 2 месяца Литрес Подписки в подарок и наслаждайся неограниченным чтением

ПОЛУЧИТЬ ПОДАРОК