Глава 23. Схемные особенности УВЧ и гетеродинов

«Аматор»: Готовясь к сегодняшней беседе, мы с Незнайкиным пересмотрели массу литературы, касающейся усилителей радиочастоты.

«Спец»: Может поделитесь и со мной полученными знаниями?

«Незнайкин»: Ну, прежде всего, во многих книгах вместо понятия «усилитель высокой частоты» или УВЧ, фигурирует УСИЛИТЕЛЬ СИГНАЛЬНОЙ ЧАСТОТЫ — УСЧ. Или также УСИЛИТЕЛЬ РАДИОЧАСТОТЫ — УРЧ.

«С»: Дельно подмечено. Хотя, в сущности, это всего лишь игра в терминологию. Тем не менее, мы примем это во внимание. Итак?…

«А»: В УСЧ в области умеренно высоких частот наибольшее распространение получили схемы с общим эмиттером (ОЭ). Это в том случае, если применяются биполярные транзисторы. Если используются FET, то их адекватным включением является схема с общим истоком (ОИ). Как уже говорилось ранее, схемы с ОЭ или ОИ позволяют получить НАИБОЛЬШЕЕ усиление по мощности.

Можно использовать как германиевые, так и кремниевые транзисторы. Последние более экономичны и стабильны при повышенных температурах.

«С»: Согласен, но есть и еще один нюанс. Новые разработки германиевых транзисторов почти не проводятся, а вот кремниевых — сколько угодно.

«А»: Но в литературе, в основном, приведены схемы селективных или избирательных усилителей, нагрузкой которых являются перестраиваемые по частоте колебательные контура. Это поясняется тем, что необходимо обеспечить высокую чувствительность радиоприемного устройства за счет предварительного усиления полезного сигнала и его частотной селекции от помех.

«С»: Все это так. И в то же время, как говорил Шельменко-денщик: «трошечки, да не так!»

Действительно, до сих пор применение высокоселективных усилителей сомнений не вызывало (и не вызывает). Во многих случаях… А вот в приемниках с ПРЕОБРАЗОВАНИЕМ ВВЕРХ дело обстоит ИНАЧЕ. Здесь нужен именно ШИРОКОПОЛОСНЫЙ входной усилитель. При этом, что совершенно естественно, МАЛОШУМЯЩИЙ и с хорошим ДИНАМИЧЕСКИМ ДИАПАЗОНОМ. И в то же время, попытка применить для этого АПЕРИОДИЧЕСКИЕ усилители обычного типа с резисторной нагрузкой; кроме разочарования и досады, других сколько-нибудь положительных эмоций у разработчиков так и не вызвала!

«А»: Получается, что ни селективные, ни апериодические усилители для этого не годятся?

«С»: Резистивные УСЧ (УРЧ, УВЧ) используются в диапазонах ДВ и СВ…

Но не волнуйтесь, друзья мои, все вовсе не так плохо! Как любит говорить один мой знакомый философ: «… если тебе предлагают на выбор, одно из двух… выбирай третий путь!» Так и в радиотехнике. Техническая мысль не дремала!

Вот так и вошли в жизнь усилители, основанные на использовании ШПТЛ!

«А»: Мы начинали разговор о ШПТЛ, но мне еще сложно представить себе схему усилителя, использующего этот компонент!

«С»: Я уже упоминал о том, что ШПТЛ бывают самыми разнообразными. С простыми, достаточно сложными и очень сложными обмотками. И применяются ШПТЛ не только в усилителях, но и в смесителях сигналов, для преобразования импедансов и т. п. Мне приходилось встречать достаточно разнообразные усилители на ШПТЛ. Но ВСЕ ОНИ основаны на применении ОТРИЦАТЕЛЬНОЙ ОБРАТНОЙ СВЯЗИ или ООС. Наиболее простой схемой этого типа с использованием преимуществ ШПТЛ, является так называемая R-структура. Но имеется и еще более удачная схема, основанная на, так называемой, С-структуре. Несмотря на «простоту», ВЧ-усилители на ШПТЛ, имеющие С-структуру, характеризуются ОЧЕНЬ МАЛЫМИ искажениями входного сигнала.

«А»: А как у С-структур обстоит дело со стабильностью параметров?

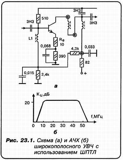
«С»: Я бы сказал так: ВЫШЕ ВСЯКИХ ПОХВАЛ! Поэтому я здесь привожу основную схему, которую мы будем полагать базовой (рис. 23.1).

Более того, ниже я привожу АЧХ представленного С-усилителя. Для того случая, когда ШПТЛ намотан на кольце типа М 0,16 ВТ-8 типоразмер К10x6x2 и имеет 16 витков. Коэффициент усиления каскада зависит от величины Rс. При Rс = 10 Ом, усиление по напряжению (именно его мы наблюдаем на экране осциллографа) равно 8—10. Увеличение Rс улучшает линейность, но уменьшает коэффициент усиления. Поэтому, в данном случае, взято оптимальное значение Rс.

«А»: А применить кольцо на высокочастотном феррите типа 50ВЧ или 30ВЧ, не изменяя количества витков, возможно?

«С»: Вполне… Но старайтесь придерживаться типоразмера.

«А»: АЧХ действительно имеет такую равномерность или это преувеличение?

«Н»: А какой тип транзистора лучше всего применить в усилителе?

«С»: АЧХ усилителей С-структуры на ШПТЛ действительно отличаются равномерностью частотной характеристики в широком диапазоне частот. Что касается типа транзистора, то в малошумящих усилителях из транзисторов, производимых в СНГ, можно рекомендовать только: КТ399А, КТ368А, КТ3120А.

«Н»: А если применить «семечку» — КТ315 или, например, КТ316?

«С»: Коэффициент усиления каскада упадет, примерно, в 1,5 раза! Полоса, практически, не меняется. Но, и КТ315, и КТ316 не являются оптимальными для применения в малошумящих каскадах радиоприемных устройств. Поэтому инициатива применения в этой схеме случайных транзисторов не является признаком высокого интеллекта.

«А»: Ну, теперь на очереди — гетеродин?

«Н»: А их в приемнике не меньше двух! Уточни, какой именно ты имеешь в виду?

«С»: А что тут много рассуждать? Начнем с ГПД — генератора плавного диапазона. Кстати, дорогой Аматор, я все забываю как-то узнать у тебя. На тот кварцевый фильтр, который тебе удалось раздобыть, есть какие-нибудь паспортные данные?

«А»: Да, вот они! Фильтр типа ФП2П-4-1-В.

Номинальная частота — 55,5 МГц;

Ширина полосы пропускания по уровню 3 дБ — 16 кГц;

Относительное затухание в полосе задерживания — 60 дБ;

Затухание вносимое — 0,2 дБ;

Сопротивление нагрузки: Rвн. вх, кОм — 2; Rвн. вых, кОм — 2;

Емкость нагрузки: Сн. вх, пФ — 50.

«С»: Ну что же, неплохо. Но, чтобы вышесказанное было более наглядным, попробуем изобразить АЧХ этого фильтра на фоне АЧХ обыкновенного селективного усилителя ВЧ, которую так любят приводить в монографиях по радиотехнике многие авторы (рис. 23.2).

«Н»: То есть, даже обыкновенный контур, имеющий Q = 100 обладает в ТРИДЦАТЬ ПЯТЬ РАЗ более широкой полосой пропускания, чем кварцевый фильтр ФП2П-4-1-В! Значит и ШУМИТ этот фильтр в 35 раз меньше?

«С»: Совершенно верно! Даже не в 35, а, примерно, в 50, если принять во внимание наличие «пьедестала» в колебательном контуре! Поэтому самое лучшее, что нам остается сделать, при использовании этого фильтра, это — постараться не растерять те великолепные возможности, которые могут обеспечить кварцевые фильтры подобного класса!

«А»: Не имей мы этого фильтра, эквивалентная добротность которого достигает 5000, подобной характеристики нам не получить!

«С»: Ну, это преувеличение! «Цепь Юзвинского» позволяет получить такую же характеристику. Но в этой цепи немало преобразователей и активных элементов. Она потребляет ток и ее «принципиалка» значительно сложнее.

«Н»: Но мы говорили о ГПД?

«С»: Вот о нем-то и речь! Теперь, имея РЕАЛЬНЫЙ фильтр, мы ЗНАЕМ, что наша ПЕРВАЯ ПРОМЕЖУТОЧНАЯ ЧАСТОТА равна 55,5 МГц! Теперь известны и частотные параметры ГПД. В самом деле:

1-ый КВ-диапазон — 30–25 МГц; диапазон ГПД — 85,5—80,5 МГц;

2-ой КВ-диапазон — 25–22 МГц; диапазон ГПД — 80,5—77,5 МГц;

3-ий КВ-диапазон — 22–18 МГц; диапазон ГПД — 77,5—73,5 МГц;

«С»: Ну что же, неплохо. Но, чтобы вышесказанное было более наглядным, попробуем изобразить АЧХ этого фильтра на фоне АЧХ обыкновенного селективного усилителя ВЧ, которую так любят приводить в монографиях по радиотехнике многие авторы (рис. 23.2).

«Н»: То есть, даже обыкновенный контур, имеющий Q = 100 обладает в ТРИДЦАТЬ ПЯТЬ РАЗ более широкой полосой пропускания, чем кварцевый фильтр ФП2П-4-1-В! Значит и ШУМИТ этот фильтр в 35 раз меньше?

«С»: Совершенно верно! Даже не в 35, а, примерно, в 50, если принять во внимание наличие «пьедестала» в колебательном контуре! Поэтому самое лучшее, что нам остается сделать, при использовании этого фильтра, это — постараться не растерять те великолепные возможности, которые могут обеспечить кварцевые фильтры подобного класса!

«А»: Не имей мы этого фильтра, эквивалентная добротность которого достигает 5000, подобной характеристики нам не получить!

«С»: Ну, это преувеличение! «Цепь Юзвинского» позволяет получить такую же характеристику. Но в этой цепи немало преобразователей и активных элементов. Она потребляет ток и ее «принципиалка» значительно сложнее.

«Н»: Но мы говорили о ГПД?

«С»: Вот о нем-то и речь! Теперь, имея РЕАЛЬНЫЙ фильтр, мы ЗНАЕМ, что наша ПЕРВАЯ ПРОМЕЖУТОЧНАЯ ЧАСТОТА равна 55,5 МГц! Теперь известны и частотные параметры ГПД. В самом деле:

1-ый КВ-диапазон — 30–25 МГц; диапазон ГПД — 85,5—80,5 МГц;

2-ой КВ-диапазон — 25–22 МГц; диапазон ГПД — 80,5—77,5 МГц;

3-ий КВ-диапазон — 22–18 МГц; диапазон ГПД — 77,5—73,5 МГц;

4-ый КВ-диапазон — 18–15 МГц; диапазон ГПД — 73,5-70,5 МГц

5-ый КВ-диапазон — 15–12 МГц; диапазон ГПД — 70,5-67,5 МГц

6-ой КВ-диапазон — 12—9 МГц; диапазон ГПД — 67,5-64,5 МГц

7-ой КВ-диапазон — 9–7 МГц; диапазон ГПД — 64,5—62,5 МГц

8-ой КВ-диапазон — 7–5 МГц; диапазон ГПД — 62,5-60,5 МГц

Таким образом, для перекрытия всех полурастянутых КВ диапазонов, ГПД должен перестраиваться по частоте от:

fmax = 85,5 МГц до fmin = 60,5 МГц.

При этом стабильность частоты должна быть достаточно высокой!

«А»: Я полагаю, что схемы гетеродинов для обычных приемников нас не спасут?

«С»: Никоим образом, поскольку они «типичное не то»! Кроме того, перестраиваемым элементом ГПД является не конденсатор переменной емкости, а варикапная матрица. О синтезаторах частоты мы уже упоминали. Так вот, у нас они применены не будут!

Но гетеродин — дело очень серьезное, особенно в приемнике с преобразованием ВВЕРХ! Поэтому предлагаю следующую, опробованную на практике, принципиальную электрическую схему ГПД для нашего радиоприемника. В ее основе — модификация великолепной, профессиональной американской разработки!

«Н»: Так почему бы нам побыстрее не зарисовать эту «принципиалочку»?!

«А»: Что мы и делаем… Уважаемый Спец, пока мы рисуем, расскажите, чем интересна эта схема (рис. 23.3)?

«С»: Прежде всего тем, что по своим параметрам является профессиональной! Хотя бы из-за того, что наличие в задающем генераторе достаточно сильной обратной связи, позволяет получить спектрально чистый сигнал, содержащий очень мало гармоник! Да и амплитуда выходного напряжения задающего генератора весьма невелика и составляет, примерно, 0,25 вольта. Но, будучи подана на вход буферного усилителя, а с его выхода на оконечный широкополосный усилитель, достигает величины 3–5 вольт!

«Н»: Здесь на схеме я вижу, по крайней мере, два ШПТЛ! Их данные отличаются отданных ШПТЛ для УВЧ?

«С»: Да, несколько отличаются. Прежде всего, это касается количества витков. ШПТЛ, обозначенные на схеме, как Тр1 и Тр2 — одинаковы полностью! Способ намотки точно такой же, как и для ШПТЛ УВЧ. Но количество витков — 10; провод — ПЭВ-2-0,2; кольца М0,16-ВТ-8. Типоразмер: К10x6x2.

«А»: То, что варикапы запитываются высокостабильным напряжением +30 вольт, это понятно! Не зря же мы так подробно рассматривали принципиальную электрическую схему для его получения! Но вот как быть с низковольтным питанием ГПД? Запитывать непосредственно от общего стабилизатора +12 вольт?

«С»: Друзья мои! Как говорилось в сравнительно недавнем прошлом, «экономика должна быть экономной»! Бессмысленная сама по себе, эта фраза, будучи применена буквально, к вопросу низковольтного питания нашего ГПД, для нас может обернуться крушением всех надежд! Я имею в виду разрабатываемый приемник!

«А»: Иными словами, здесь экономия на качестве электропитания не проходит?

«С»: Ни в коем случае и никогда! Поэтому, не пускаясь в дальнейшие рассуждения, приведем схему прецизионного автономного стабилизатора, который всего лучше выполнить на ОДНОЙ ПЛАТЕ С ГПД. Заметьте, что входное напряжение мы берем с ВЫХОДА СН +12 вольт!

«Н»: Но вы еще не сказали, какого типа каркас используется в катушке Lк задающего генератора?

«С»: Вот здесь и используется каркас типа VI! А теперь зарисуем «принципиалочку» прецизионного стабилизатора для ГПД (рис. 23.4).

«А»: У меня вопросов не имеется. Поскольку номиналы резисторов уточним позднее.

«Н»: У меня тоже!

«С»: В таком случае, раз уж мы говорим о гетеродинах, я полагаю что здесь, ниже, мы представим и принципиальную схему второго, кварцевого гетеродина. А уже после этого перейдем к рассмотрению смесителей.

«А»: А какую частоту генерации мы принимаем для второго гетеродина, частота колебаний которого стабилизирована. кварцем?

«С»: Все зависит от того, какую мы выберем ВТОРУЮ ПРОМЕЖУТОЧНУЮ частоту. Из определенных конструктивных соображений, вторая ПЧ (промежуточная частота) выбирается равной 1,465 кГц. Итак, вторую ПЧ принимаем равной именно этой величине — 1,465 кГц!

«А»: Следовательно, второй гетеродин будет содержать кварц, частота резонанса которого — 54,045 МГц?

«С»: Вот что значит прилежно изучать в школе математику! Следует сказать, что резонансную частоту LC-генератора можно стабилизировать, если в цепь обратной связи включить кварцевый резонатор. Для обеспечения лучшей стабильности, целесообразно использовать частоту его (кварца) последовательного резонанса. В качестве исходных схем генераторов, обычно используются схемы Хартли или Колпитца.

«А»: А что они из себя представляют?

«С»: Да вот, посмотрите на рис. 23.5.

Для возникновения колебаний необходимо, чтобы колебательный контур был настроен на частоту кварцевого резонатора. Но можно выбрать частоту колебательного контура как ЦЕЛОЕ КРАТНОЕ резонансной частоты колебаний кварца и возбудить, тем самым, резонатор на соответствующей КРАТНОЙ ГАРМОНИКЕ!

«Н»: Какую же из двух схем выбирать?

«А»: Можешь кинуть монетку… А там — как ляжет! А что посоветует нам Спец?

«С»: Я просто приведу практически проверенную и хорошо зарекомендовавшую себя принципиальную схему (рис. 23.6).

«А»: Задающий генератор здесь собран по схеме Хартли, это понятно! А какие параметры имеет задающая индуктивность?

«С»: Каркас этой катушки изготовлен из фторопласта и соответствует типу V.

«Н»: А что это за включение двух транзисторов после задающего генератора?

«А»: Это одно из очень удачных схемотехнических решений — так называемая КАСКОДНАЯ СХЕМА. В данном случае применена каскодная схема с емкостной связью! Среди особых достоинств этих схем можно полагать следующие:

1. Малую внутреннюю обратную связь, почти на ДВА ПОРЯДКА меньшую, чем у обычного каскада с ОЭ. Это обеспечивает ВЫСОКИЙ УСТОЙЧИВЫЙ коэффициент усиления.

2. Коэффициент шума всей схемы равен коэффициенту шума первого каскада.

3. Выходная проводимость мала, что позволяет применять ПОЛНОЕ включение контура в цепь коллектора выходного транзистора. Это, в свою очередь, обеспечивает ВЫСОКУЮ СЕЛЕКТИВНОСТЬ.

4. Схема обладает ВЫСОКИМ ВХОДНЫМ сопротивлением, следовательно, не нагружает задающий генератор.

«Н»: А насколько эта схема требовательна к высокостабильному питанию?

«С»: Ну, в этом отношении, ВСЕ гетеродины — гурманы! Но… в разной степени. Поскольку в данном случае колебания стабилизированы кварцем, то вполне достаточно ограничиться упрощенным стабилизатором. Вот, например, таким (рис. 23.7).

«А»: Это для запитки всего генератора или только КАСКОДНОГО УСИЛИТЕЛЯ?

«С»: Только КАСКОДНИКА! Что же касается собственно задающего генератора, то, как говорится, кашу маслом не испортишь! Поэтому для задающего генератора применим вот такой, рассмотренный выше, вариант СН (рис. 23.8).

«А»: Как я понимаю, кварцевый генератор вместе с автономным стабилизатором, лучше собрать на отдельной плате?

«С»: Дружище, ты в этом абсолютно прав! Ну, а если всю эту прекрасную технику ты разместишь в аккуратном, экранированном блочке — обечайке, и выведешь его выход на ВЧ-разъем, то, кроме хорошего, ничего плохого в этом просто не будет!

«А»: Я, пожалуй, последую этому доброму, дружескому совету!

Более 800 000 книг и аудиокниг! 📚

Получи 2 месяца Литрес Подписки в подарок и наслаждайся неограниченным чтением

ПОЛУЧИТЬ ПОДАРОК