Комментарий профессора Радиоля РАДИОПЕРЕДАТЧИКИ И РАДИОПРИЕМНИКИ

Как звуки преобразуют в электрические сигналы? Как эти сигналы вводят в электромагнитные волны? Как эти волны принимают, выделяют, усиливают? Как из них извлекают звуковые сигналы и как эти сигналы вновь преобразуют в звуки? Все это объясняет профессор Радиоль.

Слушая вашу последнюю беседу, я убедился, что вы подошли непосредственно к радиотехнике. Не вдаваясь в детали, я попытаюсь изложить вам основные принципы этой области знаний.

Звуковые волны

С помощью электромагнитных волн устанавливают связь между передатчиком и приемниками. И ты, Незнайкин, хотел бы знать, каким образом эти волны передают звуки и изображение?

Ток высокой частоты, изображенный на рис. 47, а, имеет постоянную амплитуду и частоту; он не несет никакой информации, а только порождает высокочастотные волны. Конечно, передавая такие волны с перерывами, т. е. короткими отрезками времени, соответствующими точкам, и несколько более продолжительными отрезками времени, соответствующими тире, можно передавать сигналы азбуки Морзе; это типичная телеграфия без проводов.

Рис. 47. Форма тока высокой частоты, не модулированного (а) и модулированного звуковым сигналом (б).

Я же хочу объяснить тебе принцип радиотелефонии, позволяющей передавать звуки. Не знаю, имеешь ли ты представление об элементарных понятиях акустики.

Что такое звук? Это последовательность волн, распространяющихся в воздухе со скоростью около 340 м/с. Они могут излучаться нашими голосовыми связками (это и происходит сейчас, когда я говорю), вибрирующими струнами музыкальных инструментов, а говоря в общей форме — всеми возбуждениями, приводящими поочередно к сжатию и разрежению воздуха. Частота колебаний звуков, которые мы слышим, находится в пределах от 16 до 20 000 Гц. Они охватывают всю гамму звуков — от самых низких, имеющих небольшие частоты, до самых высоких. Впрочем, по мере увеличения возраста человек хуже воспринимает самые высокие звуки; верхняя граница слышимых частот снижается до 15 000 или даже до 12000 Гц. Такое изменение объясняется тем, что у пожилых людей барабанные перепонки становятся менее эластичными, а именно эти перепонки приходят в колебание под воздействием звуков. Их колебания, действуя на слуховые нервы, создают в нашем мозгу ощущение звуков. Попутно можешь отметить некоторую аналогию между излучением и приемом радиоволн и излучением и восприятием звуков.

А теперь рассмотрим, как звуки могут передаваться с помощью электромагнитных волн. Для этой цели прежде всего необходимо преобразовать звуки в электрические сигналы, а затем наложить их на токи высокой частоты, порождающие радиоволны (рис. 47, б).

При приеме токи обычно бывают очень слабыми, следовательно, их нужно усилить. Затем из них нужно извлечь звуковые сигналы. После этого эти сигналы необходимо усилить и преобразовать в звуковые волны.

Как выполнить все эти операции? У меня нет времени описывать их все, но я тем не менее покажу тебе их общий характер.

Различные микрофоны

Для начала рассмотрим, как можно преобразовать звуки в электрические сигналы. Ты догадываешься, что для этой цели пользуются микрофонами. Все преобразователи независимо от принципа работы имеют эластичную мембрану, вибрирующую под воздействием звуковых волн. Как ты видишь, микрофон в принципе можно уподобить электрическому уху. Для преобразования вибраций мембраны в переменный электрический ток или напряжение нужно заставить мембрану своими движениями воздействовать на активное сопротивление, индуктивность или емкость. Микрофон, используемый в домашних телефонах, относится к первому случаю. Пространство между металлической мембраной и металлической коробочкой заполнено угольным порошком. Под воздействием переменного давления мембраны сопротивление этого порошка изменяется: при каждом сжатии оно уменьшается, а затем, когда мембрана перестает сжиматься, вновь увеличивается (рис. 48). Теперь достаточно приложить напряжение между мембраной и коробочкой и мы получим ток, сила которого изменяется в такт звуковым волнам и пропорционально их амплитуде.

Рис. 48. Активное сопротивление угольного порошка в микрофоне изменяется под воздействием звуковых волн.

Можно также сделать микрофон, прикрепив к мембране маленькую катушку, помещенную в магнитное поле постоянного кольцевого магнита. Имеющий такую конструкцию динамический микрофон отличается высокой верностью воспроизведения (рис. 49). Легко понять, что перемещение катушки в результате пересечения силовых линий магнитного поля создает в катушке токи, точно соответствующие звуковым колебаниям.

Рис. 49. Динамический микрофон, в котором катушка колеблется в поле постоянного магнита.

И, наконец, воздействием звуковых волн можно изменять емкость электростатического микрофона. Такой микрофон состоит из очень тонкой мембраны, помещенной совсем близко к плоскому и параллельному ей электроду (проводнику). Под воздействием звуковых волн мембрана изменяет емкость конденсаторов, который она образует вместе с плоским электродом; емкость составляет несколько десятков пикофарад. К обкладкам этого конденсатора прилагается напряжение. Ты легко понимаешь, что таким образом изменения емкости определяют зарядные и разрядные токи конденсатора, характер изменения которых точно соответствует звуковым колебаниям.

Устройство передатчика

Микрофон любого типа позволяет нам получить токи низкой частоты (НЧ) или, иначе, звуковой частоты, которые используются для модуляции тока высокой частоты, создающего радиоволны. Модуляция заключается в изменении в соответствии с формой тока НЧ одной из двух основных характеристик тока высокой частоты (ВЧ): его амплитуды или частоты. На этом основаны два разных вида радиовещания: передачи с амплитудной модуляцией и передачи с частотной модуляцией. В первом случае частота тока, порождающего волны, остается постоянной; изменяется лишь амплитуда ее различных периодов (рис. 50).

Рис. 50. При амплитудной модуляции изменяется амплитуда тока в соответствии с изменением модулирующего сигнала (а), а при частотной модуляции — частота высокочастотных колебаний (б).

При частотной модуляции амплитуда тока высокой частоты остается постоянной. Изменения претерпевает сама частота, которая отклоняется в ту или иную сторону от своего среднего значения. Модулированный ток усиливается и только после усиления подается в передающую антенну, вокруг которой создает переносящие звук радиоволны (рис. 51).

Рис. 51. Структурная схема радиотелефонного передатчика.

Устройство приемника

Последуем за радиоволнами и посмотрим, что происходит с ними в приемниках. В приемных антеннах наши волны порождают токи, имеющие такую же форму, что и токи в передающих антеннах, но бесконечно уступающие им по величине. В самом деле, представьте себе, что мощность, которая в больших радиовещательных передатчиках может достигать нескольких сотен киловатт, затем рассеивается во всех направлениях на сотни и даже тысячи километров. Ты, несомненно, понимаешь, что твоя антенна примет лишь ничтожную долю энергии; исключение может иметь место в том случае, когда владелец радиоприемника живет в непосредственной близости от передатчика, но к тебе это, как мне известно, не относится.

Прежде всего необходимо усилить принятый слабый ток. Но усиливать надо не любой ток: ведь в одной и той же антенне наводятся токи от волн многочисленных передатчиков. Для отбора волны передатчика, который ты желаешь послушать, необходимо воспользоваться избирательностью входного колебательного контура, настроив его на частоту нужного передатчика.

Обычно для обеспечения хорошей избирательности в высокочастотной (ВЧ) части приемника используют несколько настроенных контуров. После того, как ток достаточно усилен, нужно выделить из него ток НЧ, который был использован для модуляции. Для этой цепи применяют демодулирующую схему, роль демодулятора в которой выполняет детектор (рис. 52). После выделения тока НЧ или, как принято говорить, детектирования его нужно усилить и затем преобразовать в звук.

Рис. 52. Упрощенная схема радиоприемника (а) и формы токов в его различных блоках (б).

Телефоны и громкоговорители

Эта последняя операция выполняется с помощью головного телефона, если ты хочешь слушать один, не нарушая покоя окружающих, или с помощью громкоговорителя, если ты любезно хочешь доставить удовольствие всем присутствующим.

Наиболее распространена электромагнитная модель телефона (рис. 53).

Рис. 53. Устройство телефонной трубки.

1 — электромагнит; 2 — корпус; 3 — мембрана; 4 — крышка, фиксирующая мембрану на корпусе.

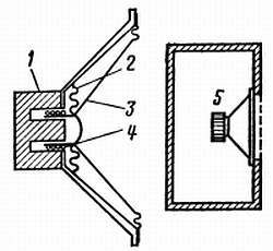
Он состоит из тонкой стальной мембраны, расположенной перед электромагнитом. Когда через обмотку электромагнита протекает ток НЧ, магнит заставляет мембрану вибрировать, создавая при этом звуковые волны. Громкоговорители, выпускавшиеся раньше, были основаны на том же принципе, что и описанный мною телефон. Перед мембраной устанавливался бумажный диффузор конической формы, который излучал звуковые волны.

В наши дни в основном используют электродинамические головки громкоговорителей, основанные на том же принципе, что и динамические микрофоны (рис. 54). В такой головке используется довольно большой диффузор конической формы, сделанный из пропитанной специальным составом бумаги. На узком конце диффузора укреплена катушка цилиндрической формы, через которую пропускается ток НЧ. Эта катушка помещается в зазор между полюсами мощного постоянного кольцевого магнита.

Рис. 54. Электродинамический громкоговоритель.

1 — постоянный магнит; 2 — эластичные подвески; 3 — диффузор; 4 — подвижная катушка; 5 — головка громкоговорителя.

Вы легко поймете, что здесь происходит явление, обратное тому, которое имеет место в динамическом микрофоне: при каждом полупериоде тока подвижная катушка смещается вперед или назад в зависимости от взаимодействия собственного переменного магнитного поля и поля постоянного магнита.

Катушка увлекает за собой диффузор, который приводит в колебание прилегающие к нему слои воздуха, образующие достаточно мощные звуковые волны (рис. 55).

Рис. 55. Волны, излучаемые громкоговорителем.

Однако то обстоятельство, что диффузор посылает эти волны как вперед, так и назад, приводит к ослаблению звуков низкой частоты. Дело в том, что соответствующие этим звукам волны имеют достаточно большую длину. Когда идущие сзади волны встречаются с волнами, исходящими от передней поверхности диффузора, они противодействуют друг другу и взаимно ослабляются.

Для устранения этого явления нужно каким-либо образом разделить распространяющиеся в разные стороны волны. Для этой цели можно использовать деревянный экран. Однако для достижения желаемой эффективности потребовалось бы сделать экран диаметром в несколько метров, который занял бы слишком много места, если только не использовать в качестве экрана стену, прорезав в ней отверстие по размерам диффузора. Более простое и практическое решение заключается в использовании ящика достаточных размеров, который поглощает волны, излучаемые задней поверхностью диффузора.

В настоящее время именно таким образом выполняется большинство громкоговорителей. Роль ящика в радиовещательных приемниках выполняет футляр самого приемника. У портативных приемников футляр слишком мал, чтобы обеспечить высокое качество звука. Вот почему в системах высококачественного воспроизведения звука, т. е. в установках высокой верности воспроизведения, головки размещают отдельно от всех прочих устройств в акустических колонках достаточного объема.

Я полагаю, что сегодня достаточно полно дал тебе общее представление об устройстве радиопередатчиков и радиоприемников. Но я совершенно не касался способов усиления, модуляции или детектирования и принципов создания высокочастотных колебаний. Для понимания этого необходимо предварительно изучить принципы работы электронных ламп, транзисторов и других компонентов.

Я думаю, что в своей следующей беседе вы с Любознайкиным займетесь этими вопросами.

Более 800 000 книг и аудиокниг! 📚

Получи 2 месяца Литрес Подписки в подарок и наслаждайся неограниченным чтением

ПОЛУЧИТЬ ПОДАРОК