4.4. Универсальный металлоискатель

Нечаев И. [13]

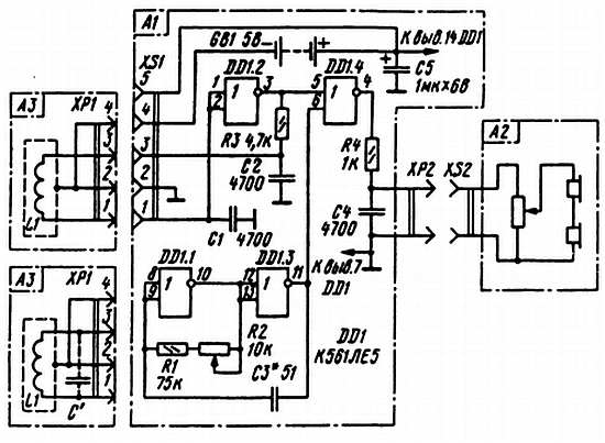
Универсальный металлоискатель, принципиальная схема которого приведена на рис. 20, способен обнаружить как крупные, так и мелкие металлические предметы. Он содержит сменные катушки диаметром от 25 до 250 мм, что позволяет обнаружить мелкие предметы на расстоянии нескольких сантиметров, а крупные — на расстоянии долей метра.

Рис. 20. Принципиальная схема универсального металлоискателя

Работа металлоискателя основана на традиционном принципе. Он содержит эталонный генератор на элементах DD1.1 и DD1.3 с частотой генерации около 100 кГц и поисковый генератор на элементе DD1.2 с одной из выносных катушек индуктивности, подключаемых к генератору соединителем XS1. Сигналы генераторов подаются на смеситель, собранный на элементе DD1.4, с выхода которого биения через срезающий высшие частоты фильтр R4, С4 поступают на головные телефоны (узел А2).

Пока вблизи выносной катушки нет металла, биения имеют определенную частоту, установленную переменным резистором R2, а звук в телефонах — какую-то тональность. При приближении катушки к металлу тональность изменится.

Напряжение питания подается на микросхему через контакты 2, 4 соединителя XS1 при подключении сменной катушки. Батарея GB1 содержит четыре последовательно соединенных аккумулятора Д-0,1.

Катушка диаметром 25 мм содержит 150 витков провода ПЭВ-1 0,1; диаметром 75 мм — 80 витков ПЭВ-1 0,18; диаметром 200 мм — 50 витков ПЭВ-1 0,3. Индуктивность каждой катушки составляет примерно 1,25 мГн.

Более 800 000 книг и аудиокниг! 📚

Получи 2 месяца Литрес Подписки в подарок и наслаждайся неограниченным чтением

ПОЛУЧИТЬ ПОДАРОК