8.4. Звуковое реле

 Лазовик В. [29]

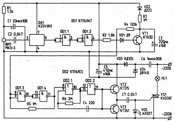
Принципиальная схема звукового реле представлена на рис. 42 и работает следующим образом. Звуковой сигнал воспринимается электретным микрофоном ВМ1 и поступает на вход усилителя низкой частоты, собранного на микросхеме DA1. Усиленный сигнал подается для формирования прямоугольных импульсов на усилитель-ограничитель из двух элементов 2И-НЕ микросхемы DD1, откуда - на базу транзистора VT1, который разряжает времязадающий конденсатор С3 триггера Шмитта, образованного остальными двумя элементами DD1. При этом на выходе 11 DD1.4 появляется логический 0, разрешающий работу мультивибратора, выполненного на двух элементах 2ИЛИ-НЕ микросхемы DD2. С выхода мультивибратора импульсы поступают на усилитель (VT2, VT3), откуда через разделительный конденсатор С7 - на управляющий электрод симистора VS1. Симистор открывается и включает нагрузку. Когда конденсатор СЗ зарядится до уровня логической 1, триггер Шмитта переключается, на выходе DD1.4 появляется логическая 1, мультивибратор выключается, закрывается симистор, и нагрузка отключается от сети. Время выдержки подбирается в зависимости от конкретного применения схемы. При емкости С3, указанной на схеме, время включенного состояния нагрузки составляет 4 минуты.

Рис. 42. Принципиальная схема звукового реле

Более 800 000 книг и аудиокниг! 📚

Получи 2 месяца Литрес Подписки в подарок и наслаждайся неограниченным чтением

ПОЛУЧИТЬ ПОДАРОК