Звонница на основе жестких дисков

В октябрьском номере журнала РАДИО за 2009 г. на с. 52 опубликована моя статья «Колокольный звон… из жестких дисков». Хочу предложить твоему вниманию читатель новый, изменённый вариант конструкции с другой схемой управления.

Внешний вид устройства представлен на рис. 27.

Основным элементом конструкции (помимо двух дисков) являются молоточки, закреплённые на шестерне, которая совершает колебательные движения. Поэтому молоточки поочерёдно ударяют по дискам, создавая перезвон.

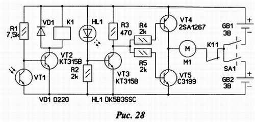
Схема управления устройством представлена на рис. 28.

Работает оно следующим образом. Если фототранзистор VT1 освещён, после включения питания транзистор VT2 закрыт, реле обесточено, его контакты реле К1.1 замкнуты и двигатель М1 подключен к источнику питания. Мигающий светодиод HL1 периодически вспыхивает и в момент вспышки ток через него резко возрастает, что приводит к открыванию транзистора VT3. Поэтому транзисторы VT4, VT5 будут поочередно открываться, меняя направление тока в обмотке электродвигателя M1, который приводит в движение шестерню и молоточки колеблются. При затенении фототранзистора напряжение на базе транзистора VT2 возрастёт, он откроется, реле сработает и контакты реле К1.1 разомкнутся — электродвигатель будет отключен от батареи и звон прекращается. Так с помощью фототранзистора можно управлять работой звонницы.

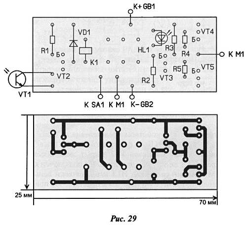
Большинство элементов схемы управления смонтированы на односторонней печатной плате из фольгированного стеклотекстолита толщиной 1,5 мм. Чертёж платы представлен на рис. 29.

В устройстве применены резисторы МЛТ, С2-23, транзисторы КТ315В можно заменить транзисторами КТ315Б, КТ315Г или любыми из серии КТ3102, а 2SA1267 — транзистором КТ361Б, КТ361Г, а также любым серии КТ3107. Мигающий светодиод — DK5B3SSC или другого цвета свечения из этой серии. Взамен диода Д220 подойдёт любой из серий КД103, КД503, КД521, КД522. Выключатель питания — любой малогабаритный, например серии ПД. Реле — DS2E-S-DC5V фирмы Matsushita с номинальным напряжением 5 В. Подойдут также реле типа BT-5S.

Конструкцию поясняет рис. 30.

В ней применены элементы и узлы от различных устройств компьютерной техники. Например, от DVD-привода. Из металлической крышки вырезано основание 3. К нему приклеены три опоры 1 (шестерни) в дух из которых закреплены Г-образные пластмассовые подвесы 2 и двигатель с редуктором 6, которые выпилены лобзиком из лицевой панели привода. От него же взяты молоточки 9 (винты) и металлическая ось 11. Диски 7 и 8 из винчестеров от НЖМД старых системных блоков компьютеров свободно подвешены в углублениях подвесов 2.

Ось 11 приклеивают к шестерне редуктора двигателя 6. Предварительно в шестерне круглым надфилем делают канавку. На концы оси 11 надеты отрезки резиновых трубок 10 длиной 20…25 мм. В отрезках трубок 10 сделан продольный овальный вырез, а в свободные концы вставлены молоточки 9. Благодаря резиновой трубке, молоточек имеет собственную частоту колебаний. Сдвигая трубку по оси можно регулировать зазоры между молоточками и дисками.

К боковой стенке двигателя 6 приклеен ограничитель амплитуды колебаний оси 11 — отрезок 13 из пластмассы. Плату 5 вставляют в пластмассовые направляющие, приклеенные с основанию 3 с помощью пластмассовых уголков. Футляр 12, в котором установлен выключатель питания, изготовлен из пластмассового цилиндрического контейнера. На пластмассовой стойке вставленной в опору 1 закреплён фототранзистор 4, который вместе с резиновыми трубками 10 использованы от автомобильного CD-проигрывателя.

Собирают звонницу в следующем порядке. Предварительно подвесы и стойки вклеивают в опоры 1 и подвешивают диски. Сначала к основанию 3 приклеивают двигатель с редуктором 6, затем, сообразно амплитуде колебаний молоточков 9 фиксируют положение подвесов 2 с дисками 7 и 8 и стойку с фототранзистором 4. В заключение к основанию приклеивают батарейные отсеки и футляр с выключателем. Монтаж выполняют тонким гибким изолированным проводом.

Налаживание сводится к регулировке зазоров между молоточками и дисками. При использовании различных мигающих светодиодов может возникнуть проблема, связанная с тем, что длительности паузы и свечения светодиода различны. В этом случае ось с молоточками при колебаниях будет прокручиваться в одну из сторон. Эту проблему можно устранить, применив подтягивающую пружину, натянутую между осью и редуктором двигателя (рис. 31) и закреплённую на крючках из проволоки от канцелярских скрепок.

Более 800 000 книг и аудиокниг! 📚

Получи 2 месяца Литрес Подписки в подарок и наслаждайся неограниченным чтением

ПОЛУЧИТЬ ПОДАРОК