Ночник «Ассорти»

В отличии от предыдущего варианта (статья-конструкция «Ночник Три цвета» из моей книги «Роботы своими руками. Игрушечная электроника», Солон-пресс, 2015), в данной конструкции светорассеиватель изготовлен из обломка трубки тонкой люминесцентной лампы, а в схеме существенно уменьшено число элементов. Динамика свечения лампы представлена на рисунке 13.

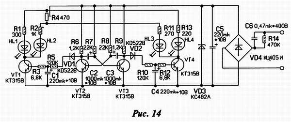
Схема светильника изображена на рис. 14.

В её основе — мультивибратор на транзисторах VT2,VT3. Цепочки R8, C3; R7, C2 — времязадающие поочерёдное открывание и закрывание транзисторов. При закрытом транзисторе VT3 конденсатор С4 начинает заряжаться через цепь R9, VD2, R10. С определённого момента транзистор VT4 плавно открывается, увеличивая ток через светодиоды HL3,HL4. При открытом транзисторе VT3 конденсатор разряжается через R12 и открытый переход база — эмиттер VT4, плавно закрывая его. Аналогично работает и левая часть схемы. Таким образом, создаётся плавное переключение цветов свечения ночника. Резистор R4 регулирует баланс свечения пар цветов. Кроме этого, каждый светодиод имеет индивидуальную зависимость «яркость свечения — сила тока», поэтому в сумме динамика свечения получается своеобразная.

Питается схема от сети переменного тока (можно и от батареи «КРОНА» на 9 В). Конденсатор С6 — балластный, ограничивает ток в обшей цепи до 20–25 мА. Пульсации «выпрямленного тока» сглаживает конденсатор С5 и, благодаря стабилитрону VD3 на мультивибратор подаётся около 8,2В.

О конструкции. Её изготовление следует начать с изготовления светодиодной лампы светильника (рис. 15).

При помощи стеклореза от обломка лампы отделяем отрезок трубки длиной 15–17 см. Торцы (они, как правило, неровные) заматываем изолентой. Согласно рисунку 16 изготавливаем плату-стержень и монтируем на ней светодиоды.

Из пробок от пластиковых бутылок делаем торцевые заглушки для лампы с прорезями под плату. Собираем лампу. Из отрезков корпуса старого фломастера делаем стойки, соединяющие лампу с вертикальным основанием. Соединяем выводы лампы при помощи проводов с основной платой, расположенной в подвале — подставке (рис. 17).

Эскиз платы и её внешний вид представлен на рисунке 18.

В конструкции применены разноцветные яркие светодиоды диаметром 5 мм в прозрачных корпусах красного, салатового, оранжевого и синего свечения (судя по цене — китайского производства). Транзисторы можно использовать любые серии КТ315, диоды серии КД522, КД521, импортные конденсаторы, резисторы МЛТ. Налаживание работы схемы светильника безопаснее производить от лабораторного источника напряжением 9В, монтируя элементы блока питания в последний момент. Вначале парно подбирают резисторы R5, R10, регулируя длительность перехода от одной пары цветов к другой (на фото 2 — центральная картинка) и обратно (6 фаза — такая же, не изображена на фото). Затем выставляют ползунок резистора R4, подбирая пропорции сине-красного и зелёно-оранжевого цветов в крайних фазах. Можно, изменяя соотношение номиналов пар R1, R11 и R2, R13 добиться преобладания в переходных фазах от красновато-оранжевого к синевато-зелёному цвету.

При отсутствии стеклянной трубки в качестве корпуса лампы можно использовать «сантехническую гофру» белого цвета. Это гофрированная тонкостенная пластмассовая труба диаметром около 45–50 мм. Линейные размеры основных элементов конструкции, конечно в этом варианте, придётся пересмотреть.

Более 800 000 книг и аудиокниг! 📚

Получи 2 месяца Литрес Подписки в подарок и наслаждайся неограниченным чтением

ПОЛУЧИТЬ ПОДАРОК