Игрушка-сувенир «Конический маятник»

Внешний вид игрушки представлен на рисунке 24.

Два шарика на стержнях шарнирно закреплены к оси вращения. При её движении стрежни расходятся на некоторый угол, образуя конус вращения — отсюда и название маятника.

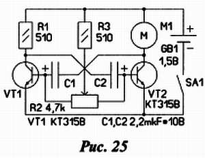
Схема конструкции дана на рисунке 25.

Работой двигателя M1 управляет мультивибратор, реализованный на транзисторах VT1, VT2. Резистором R2 регулируется длительность и скважность импульсов тока, питающих двигатель, а следовательно скорость вращения маятника и угол отклонения шариков.

Конструкцию сувенира поясняет рисунок 24. Подвижная часть состоит из оси вращения 11 (отрезок стальной проволоки диаметром 0,5–0,7 мм и длиной около 6 см), перекладины 10 из того же материала и двух стержней 9 с шариками и шарнирами на концах. Декоративные элементы 12 выполнены из медной проволоки ПЭЛ-0,35 и приклеены к стержням «секундным клеем». Ось вращения 11 соединяется с двигателем 7 посредством отрезка изоляции 8 (длина 10–12 мм) тонкого 3 мм (дно компьютерной клавиатуры). Сама рамка приклеивается к кольцу — основанию 2. Внизу к рамке приклеивается контактная панель 13 — прямоугольный отрезок фольгированного гетинакса. Выводы двигателя с панелькой соединяют витой проволокой 5 (ПЭЛ-0,15 намотанная на стержень-оправку диаметром 3 мм). Готовый маятник приклеивают к основанию 3 (оргстекло толщиной 4 мм и размером 30х105 мм). Снизу в углах приклеены четыре «ножки» 1 (отрезки резиновой трубки из привода автомобильного CD-проигрывателя).

Плата 4 с смонтированными элементами и проводными выводами к контактной панели 13 также приклеивается к основанию 3 через четыре резиновые опоры 1. В заключение производится электрическое соединение платы и двигателя маятника (панелька 13).

Большинство элементов схемы монтируется на плату из односторонне фольгированного текстолита. Эскиз топологии печатных проводников дан на рис. 26.

В конструкции применены резисторы МЛТ. Переменный резистор — импортный. Транзисторы можно использовать любые данного типа проводимости. Двигатель взят от виброзвонка сотового телефона, электролитические конденсаторы тоже импортные.

Более 800 000 книг и аудиокниг! 📚

Получи 2 месяца Литрес Подписки в подарок и наслаждайся неограниченным чтением

ПОЛУЧИТЬ ПОДАРОК