Кораблик-катамаран, управляемый светом

Эта игрушка предназначена для малых водоёмов со спокойной водой и естественным солнечным освещением. Конструктивно кораблик состоит из двух корпусов-поплавков, соединённых проволочными перемычками с закреплёнными на них печатными платами.

В кормовой части каждого корпуса установлен двигатель (электромотор от виброзвонка сотового телефона) снабжённый винтом. Движением кораблика можно управлять, заставляя его двигаться вперёд, назад или разворачиваться на месте, затеняя для этого соответствующие фототранзисторы. Питание осуществляется от батареи, составленной из двух литиевых дисковых элементов.

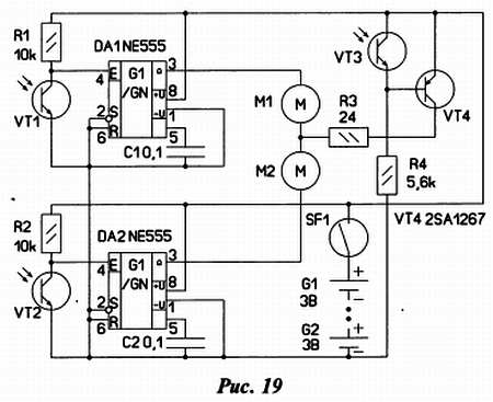
Схема управления двигателями показана на рис. 19.

Светочувствительными элементами, реагирующими на интенсивность падающего света, служат фототранзисторы VT1—VT3. Микросхемами таймеров DA1 и DA2 управляют фототранзисторы VT1 и VT2, a VT3 — транзистором VT4. Питание на элементы поступает через геркон SF1. Когда фототранзисторы освещены, их сопротивление мало. Поэтому на управляющем входе Е (вывод 4) таймеров DA1 и DA2 присутствует низкий уровень. Такой же уровень будет и на их выходах таймеров (вывод 3). Транзистор VT3 закрыт. В этом случае питание на двигатели не поступает и кораблик неподвижен.

При затенении фототранзистора VT1 его сопротивление резко увеличивается — на входе Е и выходе таймера DA1 установится высокий уровень и на последовательно включенные двигатели поступит питающее напряжение. Кораблик начнёт движение вперёд. При затенении фототранзистора VT2 состояние таймеров изменится на противоположное и роторы двигателей станут вращаться в другом направлении — кораблик поплывёт назад.

Если свет не попадает на фототранзистор VT3, открытым будет транзистор VT4 и на двигатели поступит питающее напряжение, но разной полярности. Поэтому винты станут вращаться в разные стороны и кораблик разворачивается. Резистор R3 — токоограничивающий.

Применены постоянные резисторы МЛТ, С2-23, конденсаторы — К10-17 В. Транзистор 2SA1267 можно заменить любым из серии КТ3107, фототранзисторы взяты от привода принтера «Роботрон», но подойдут и КТФ102А. Геркон — любой малогабаритный, его включают с помощью малогабаритного магнита от лазерной головки DVD-проигрывателя. Изготовление устройства удобнее начать с изготовления двигателей (рис. 20).

Для них надо применить два одинаковых виброзвонка. Технологии снятия эксцентрика с вала виброзвонка и изготовления гребного винта подробно рассмотрены в указанной выше статье. Из листовой пластмассы толщиной 2 мм изготавливают прямоугольные опоры 1, у каждой их которых есть отверстие для крепления к корпусу корабля и прорезь для приклеивания к U-образной скобе 5 (изготовлена из такой же пластмассы). К скобе приклеивают виброзвонок 2, а на его вал надевают отрезок 3 (ПВХ изоляция тонкого провода), в котором закреплён вал 4 (отрезок тонкой стальной проволоки от скрепки). С другой стороны вала 4 с помощью ещё одного отрезка 6 закреплён винт 7. Готовые двигатели испытывают. При напряжении 1,5…2,5 В на воздухе винты должны быстро вращаться, а каждый двигатель — потреблять ток не более 20…35 мА. Если винты вращаются с разной скоростью — для дальнейшей реализации конструкции это допустимо.

Следующий этап — изготовление плат с перемычками. Большинство элементов монтируют на односторонней монтажной печатной плате (рис. 21) из фольгированного стеклостекстолита толщиной 1,5 мм.

Применены таймеры в корпусах для поверхностного монтажа, их выводы вставляют в пазы и приклеивают к плате. Монтаж проводят с помощью тонкого (0,15…0,3 мм) лужёного провода. На шесть фольгированных площадок с отверстиями выводят питание, выходы и входы Е таймеров. Сверху (рис. 22) навесным монтажом крепят резисторы, конденсаторы, транзистор, фототранзистор VT3 и геркон.

Плата-держатель элементов питания с металлическими перемычками изготовлена из односторонне фольгированного стеклотекстолита, её чертёж показан так же на рис. 21. Две перемычки 1 из металлической проволоки, соединяющие корпуса катамарана вставлены в отверстия в плате 4 и припаяны к ней. Из металлической скрепки изготовлена стойка 3 и скоба 2, которая удерживает гальванические элементы 5. Для изоляции на перпендикулярные плате участки скобы 2 надеты отрезки 6 трубки ПВХ. Плату с деталями через изоляционную прокладку приклеивают к скобе 2, дополнительно к стойке 3 (она соединена с «+» батареи) припаяны некоторые детали на монтажной плате.

Далее изготавливают корпуса — поплавки (рис. 23).

Пластмассовое основание 6 вырезают в форме пули из прямоугольного куска чёрной пластмассы размерами 20x55 мм и толщиной 3 мм. Поплавок 10 из пенопласта размерами 13x25x65 мм вырезают терморезаком. Его окрашивают масляной краской, а на пластмассовое основание наклеивают рубку 4 (пластмассовая клавиша от компьютерной клавиатуры). Сбоку в основании делают два отверстия для вклеивания платы-перемычки 5, затем основание приклеивают к поплавкам. Двигатель 1 крепят к основанию 6 с помощью отрезков 3 канцелярских скрепок. Фототранзисторы VT1 и VT2 закреплены на выносных балках 9 и 2, которые припаяны к печатной плате, на которой размещён VT3. На все фототранзисторы надеты световые экраны — отрезки изоляции шнура от компьютерной клавиатуры.

Если один двигатель вращается быстрее второго, кораблик станет поворачивать в сторону. Чтобы устранить этот недостаток более «быстрый» двигатель можно развернуть к внешней стороне кораблика на 15…45 градусов или параллельно выводам виброзвонка подключить резистор сопротивлением 130…220 Ом, а последовательно — резистор сопротивлением 10…24 Ом. Осадка и крен вперёд или назад можно выровнять наклейкой на дно дополнительных поплавков 7 или балластных металлических шайб 8. Соответствие направления движения даваемым командам устанавливают экспериментально подключением подводящих проводов к виброзвонкам.

Управляют корабликом с помощью жезла (изготовленного из любого материала), на конце которого закреплён круг из непрозрачного материала диаметром 4…6 см, закрашенный чёрной краской.

Более 800 000 книг и аудиокниг! 📚

Получи 2 месяца Литрес Подписки в подарок и наслаждайся неограниченным чтением

ПОЛУЧИТЬ ПОДАРОК