Игрушка-сувенир «Привет! — Пока!»

Если вы смотрели мультфильм «Мадагаскар» то, наверное, помните реплику короля Джулиана в финальной сцене прощания лемуров с Алексом и его друзьями: «Морис! У меня рука устала! Помаши за меня!». Предлагаемая игрушка-сувенир прекрасно справляется с этой задачей: легкое нажатие на кнопку — и она тут же помашет вам «ручкой». Здесь же описан вариант, который реагирует непосредственно на помахивание рукой перед ним.

Схема основного варианта игрушки изображена на рис. 13.

По сути, это оптомеханический генератор, состоящий из фототранзистора VT1, конденсатора С1, усилителя постоянного тока на транзисторе VT2 и включенного в его коллекторную цепь миллиамперметра РА1. Транзистор VT3 выполняет функцию электронного ключа в цепи питания устройства. При нажатии на кнопку SB1 конденсатор С2 мгновенно заряжается и транзистор VT3 открывается, подключая устройство к батарее питания GB1.

При освещении фототранзистор VT1 также открывается, сопротивление его участка эмиттер — коллектор становится малым и конденсатор С1 начинает заряжаться Транзистор VT2 при этом закрыт и ток через миллиамперметр РА1 не течет.

По мере зарядки конденсатора Cl напряжение на нем растет, и когда оно достигает примерно 0,6…0,7 В, транзистор VT2 начинает открываться. При этом ток через миллиамперметр увеличивается, его стрелка отклоняется к середине рабочего угла (здесь и далее под рабочим понимается полный угол отклонения стрелки прибора до переделки) и закрепленная на ней бумажная «рука» перекрывает свет, падающий на фототранзистор. Сопротивление его участка эмиттер — коллектор резко возрастает, и конденсатор С1 начинает разряжаться через резистор R1 и эмиттерный переход транзистора VT2. По мере разрядки конденсатора напряжение на его базе понижается, и он плавно закрывается. В результате «ручка» падает, после чего процесс повторяется.

Помахивание продолжается до тех пор, пока на генератор поступает питание. После отпускания кнопки SB1 транзистор VT3 некоторое время поддерживается в открытом состоянии разрядным током конденсатора С2 который течет через его эмиттерный переход, резистор R4 и генератор…???…

Затем транзистор закрывается и генератор перестает работать до следующего нажатия на кнопку SB1.

Достоинством этого варианта генератора можно считать малое потребление тока в рабочем режиме (всего около 6 мА) и ничтожное (несколько микроампер) в дежурном. Недостаток этого варианта — необходимость «стабильного» внешнего источника света.

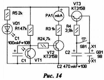
На рис. 14 представлена схема варианта генератора, работающего при любом внешнем освещении, но потребляющего больший ток в рабочем режиме из-за введения светодиода VD1.

Он в этой конструкции установлен напротив фототранзистора VT1, и размещены они вблизи от нулевого положения стрелки таким образом, что в исходном состоянии «ручка» находится между ними. При включении питания транзистор VT2 открывается, стрелка миллиамперметра с «ручкой» отклоняется от нулевого положения и между светодиодом и фототранзистором возникает оптическая связь. В результате сопротивление участка эмиттер-коллектор фототранзистора резко уменьшается, транзистор VT2 закрывается и «ручка» возвращается в исходное положение, перекрывая световой поток. Далее процесс повторяется до тех пор, пока не закроется транзистор VT3.

Иначе ведет себя устройство, собранное по схеме на рис. 15.

Пусковой кнопки здесь нет — игрушка откликается непосредственно на ваше приветствие — стоит медленно помахать перед ней рукой и она тут же отреагирует в ответ. Происходит это благодаря тому, что датчики — фототранзисторы VT1 и VT2 — соединены последовательно и отстоят один от другого на расстояние, чуть меньшее ширины ладони В исходном состоянии оба фототранзистора освещены сопротивление их участков эмиттер — коллектор мало и транзистор VT3 закрыт. При своем движении перед игрушкой ладонь вначале перекрывает свет к одному фототранзистору и сопротивление его участка увеличивается. Это приводит к открыванию транзистора VT3, и бумажная «ручка» начинает двигаться. При этом он остается открытым до тех пор, пока ладонь полностью не пройдет над фототранзистором. Этого времени достаточно чтобы «ручка» сделала полный взмах. Далее она оказывается над вторым датчиком и все повторяется. Таким образом, на каждый взмах руки игрушка отвечает двумя.

Детали монтируют на печатной плате, изготовленной из односторонне фольгированного стеклотекстолита и пригодной для сборки всех вариантов устройства. Её габаритные размеры 18 мм на 38 мм.

Резисторы — MЛT, С2-33, конденсаторы — оксидные К50-35 или аналогичные импортные, например, серии ТК фирмы Jamicon. В авторских вариантах игрушки применены фототранзисторы и оптопара IS03 фирмы Sharp, извлеченные из пятидюймового дисковода. При повторении конструкции можно применить фототранзисторы с максимальным рабочим напряжением не менее 10 В. Оптопару VD1,VT1 (см. рис. 14) либо составляют из отдельных светодиода красного цвета свечения и фототранзистора, либо используют оптрон с открытым оптическим каналом (например, АОТ147А, АОТ147Б).

В качестве основы узла управления «ручкой» используют механизм миллиамперметра магнитоэлектрической системы с током полного отклонения стрелки 1–3 мА. Часть его корпуса с защитным стеклом и шкалу удаляют, а к стрелке приклеивают бумажную «ручку» размерами примерно 20x30 мм. Затем из отрезка тонкой проволоки изготавливают ограничитель отклонения стрелки. Один его конец сгибают в виде колечка и зажимают правым винтом крепления шкалы, а другой изгибают так, чтобы стрелка упиралась в него при отклонении примерно на половину рабочего угла. Для установки узла на основании игрушки используют два уголка, согнутых из полосок листового алюминиевого сплава толщиной 1…1,5 мм и закрепленных с помощью гаек на шпильках-выводах прибора.

Готовый узел вместе с платой и батареей питания типоразмера 6F22 помещают внутрь прозрачного куба, склеенного из листового органического стекла (рис. 16).

Кнопочный выключатель питания размещают на его верхней грани. Фототранзистор первого варианта устройства устанавливают примерно в середине рабочего угла с таким расчетом, чтобы «ручка» перекрывала падающий на него свет при отклонении стрелки до ограничителя. Установку оптопары второго варианта игрушки иллюстрирует рис. 16 (местоположение указано стрелкой). В третьем варианте фототранзисторы удобнее расположить на верхней грани куба на расстоянии 60…70 мм один от другого. Для нормальной работы первого и третьего вариантов игрушки достаточно освещенности создаваемой стоваттной лампой накаливания на расстоянии 1…2 м.

Налаживание игрушки сводится в основном к подбору резистора R3 (чем тяжелее «ручка», тем меньше должно быть его сопротивление). От емкости конденсаторов C1, С2 зависит частота и продолжительность махания, поэтому их тоже желательно подобрать. Чувствительность фотодатчиков в некоторых пределах можно регулировать подбором резистора R1.

Более 800 000 книг и аудиокниг! 📚

Получи 2 месяца Литрес Подписки в подарок и наслаждайся неограниченным чтением

ПОЛУЧИТЬ ПОДАРОК