Робот усач

Забавная игрушка (рис. 27) жук-усач сделана, а точнее модернизирована по горячим следам робота пограничника. Теперь он бегает за пальцем, стараясь не упустить его из «поля действия своих усов», этакая игривая зверюшка…

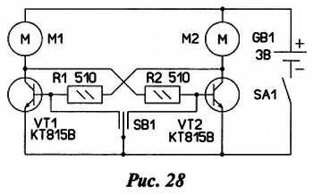
Принципиальная схема конструкции дана на рис. 28.

На транзисторах VT1, VT2 реализован триггер, управляющий работой двигателей M1, М2. «Перекидная кнопка» SB1, в свою очередь, управляет его работой.

Триггер действует, практически, как импульсное устройство. Его основу составляет пара транзисторов, работающих в ключевом режиме. Переход в новое состояние продолжается в течение очень короткого времени. Все триггеры отличаются особым свойством, заключающимся в способности запоминать двоичную информацию. На этом принципе и основано функционирование данных приборов. Сама память триггера заключается в возможности сохранять каждое состояние после того, как прекратит свое действие переключающий сигнал. Если одно состояние принять за единицу, а другое — за ноль, то, по сути, получается запоминание одного числового разряда, из которого состоит двоичный код. В данной конструкции это свойство заключается в том, что переключение моторов происходит при кратковременном касании датчика — уса о препятствие. Следующее переключение моторов произойдёт только при новом касании уса о преграду.

Рассмотрим работу схемы. После замыкания контактов выключателя SA1 (магнитная шайба) произвольно первым откроется любой транзистор, например VT1. Тогда база транзистора VT2 через резистор R2 и коллектор — эмиттерный переход транзистора VT1 окажется соединённой с «минусом батареи питания». В итоге будет работать двигатель М1, а М2 не будет. Робот начнёт разворачиваться на месте. Проволочный ус столкнётся с пальцем — произойдёт кратковременное замыкание центрального контакта датчика с левым контактом (по рисунку).

Транзистор VT1 закрывается и база транзистора VT2 через токоограничительный резистор и обмотку мотора М1 подключается к «плюсу батареи питания». Включается мотор М2. Ротор двигателя M1 останавливается. Робот разворачивается в обратном направлении до следующего касания уса датчика. Далее цикл повторяется, робот следует за подвижной (палец) преградой «след в след».

Конструктивно шасси робота мало чем отличается от исходной версии. V-образная проволочная скоба-усы 2 (рис. 29) изготовлена из отрезка стальной проволоки диаметром 1–2 мм. Посредством отрезка резиновой трубки 3 она крепится на движок переключателя 4 (SB1). На концах усов закреплены два пластмассовых шарика 1. Они придают выразительности игрушке и не несут никакой функциональной нагрузки. Как и в исходной конструкции, монтаж элементов навесной.

На рисунке 30 показан один из приёмов управления роботом. Жук всё время смотрит на палец и стремится его догнать.

Более 800 000 книг и аудиокниг! 📚

Получи 2 месяца Литрес Подписки в подарок и наслаждайся неограниченным чтением

ПОЛУЧИТЬ ПОДАРОК