Светодиодная «кисть» для фризлайта

В продолжение темы фризлайта хочу предложить тебе, читатель, описание ещё одного инструмента для рисования — светодиодной «кисти». С её помощью «изображение» создаётся следующим образом. При открытом затворе фотоаппарата в затемнённом помещение знакомый тебе художник «рисует» в воздухе кистью за предметом или трафаретом (картон или другой непрозрачный материал). В результате на фотографии на тёмном фоне остаётся светлое поле трафарета (рис. 7), или его тень на фоне «закрашенного поля» (рис. 8). «Кистью» можно рисовать и как «карандашом», но только широкими «мазками».

Внешний вид «кисти» показан на рис. 9, а способ фиксации в руке на рис. 10.

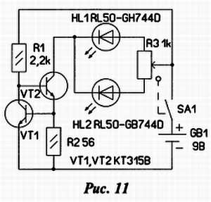
«Кисть» содержит источник света, составленный из двух ярких светодиодов, например зелёного и синего цвета свечения. Они вставлены в отрезок пластиковой матовой трубки для коктейля. Между трубкой и платой установлен светоотражающий пластиковый экран. Он защищает от засветки пальцы при съёмке. Меняя ток через светодиоды, можно менять цвета свечения трубки во время рисования. Схема устройства представлена на рис. 11.

На транзисторах VT1, VT2 собран ограничитель тока. При указанном на схеме номинале резистора R2 суммарный ток через светодиоды не превысит 12… 15 мА. С помощью резистора R3 перераспределяют этот ток между светодиодами, изменяя тем самым цвет «кисти».

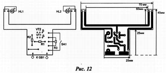
Все элементы монтируются на односторонней печатной плате из стеклотекстолита, её чертёж показан на рисунке 12.

В конструкции применены постоянные резисторы MЛT, С2-23, переменный резистор с выключателем — СП3-3в. Транзисторы можно применить любые серий КТ315, КТ3102. Батарея питания — «Крона», «Корунд», для её подключения применена контактная колодка от отслужившей «Кроны». Колодку соединяют с контактными дорожками платы с помощью отрезков стальной проволоки от скрепок. Светодиоды могут быть любого цвета свечения повышенной яркости. Чтобы быстро сменить цвет «кисти» их устанавливают в гнёзда, которые можно изготовить из панели для установки микросхем в корпусе DIP.

Более 800 000 книг и аудиокниг! 📚

Получи 2 месяца Литрес Подписки в подарок и наслаждайся неограниченным чтением

ПОЛУЧИТЬ ПОДАРОК