Игровые электронные кубики в схемах

Электронная версия игрового кубика довольно часто встречается в радиолюбительской литературе и имеет много разнообразных схемных решений. Все грани реального кубика можно имитировать светодиодным индикатором, состоящим из семи светодиодов. Светодиоды объединяются в четыре сегмента — три парных и один одиночный светодиод. Переключаясь в различных сочетаниях они, имитируют выпавшую грань при остановке переключений. Рассмотрим наиболее «популярную схемотехнику» данного типа изделий.

Принципиальная схема варианта устройства изображена на рис. 4.

На элементах DD1.1— DD1.3 микросхемы DD1 по стандартной схеме собран генератор импульсов. Импульсы подаются на вход С2 (вывод 1) счетчика, выполненного на микросхеме DD2. Благодаря обратным связям на входы & и R (выводы 3 и 2) счетчик работает с коэффициентом пересчета 6. Диоды VD1—VD5, элемент DD1.4 и элементы микросхемы DD3 образуют преобразователь двоичного кода в «код граней кубика». Сигналы последнего подаются на светодиоды HL1—HL7, индицирующие выпавшее число. Для ограничения тока через светодиоды установлены резисторы R2—R8.

Работает устройство так: пока контакты кнопочного выключателя SB1 разомкнуты, генератор подает тактовые импульсы на счетчик и на индикаторе с большой частотой переключаются светодиоды, индицируя «грани кубика» последовательно от 1 до 6. Как только контакты SB1 замкнут, нажав на кнопку, генерация импульсов прекратится. На выходах микросхемы DD2 зафиксируется число в двоичном коде, а на индикаторе — соответствующее «выпавшее число». Таким образом, чтобы «запустить» кубик, надо включить его выключателем SA1, а чтобы остановить — нажать кнопку выключателя SB1.

Теперь скажем несколько слов о конструкции и деталях устройства: микросхемы DD1 и DD3 — К155ЛАЗ, К555ЛАЗ; DD2 — К155ИЕ5, К555ИЕ5; диоды VD1 — VD5 — КД522Б или серий КД102, КД103; резисторы R2—R8 любые, подходящие по размерам, номиналом от 120 до 470 Ом (от их сопротивления зависит яркость свечения диодов индикатора); конденсатор С1 должен быть керамическим, его допустимо заменить оксидным емкостью 1…2 мкФ. При отсутствии таких конденсаторов можно использовать два оксидных полярных (электролитических), включив их последовательно, «навстречу» друг другу.

Если емкость конденсатора С1 увеличить до 50—100 мкФ, а вместо постоянного резистора R1 поставить переменный, с большим сопротивлением, то частоту переключения индикатора можно будет изменять в широких пределах. Тогда, при малых значениях сопротивления резистора R1, выпавшее значение на индикаторе носит случайный характер (устройство выполняет функцию кубика). При больших значениях сопротивления резистора R1 частота переключений «граней кубика» уменьшается, что позволит визуально контролировать и фиксировать число на индикаторе (игры на реакцию).

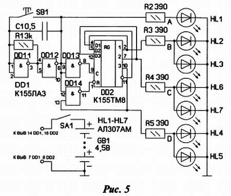
Устройство можно существенно упростить, если сразу преобразовывать импульсы генератора в коды индикатора. Этого можно добиться, используя три D-триггера, например, входящих в микросхему К155ТМ8, соединив их в кольцевой счетчик. Схема модифицированного устройства показана на рис. 5.

Генератор импульсов собран на логических элементах микросхемы DD1. Прямоугольные импульсы с его выхода (вывод 8) подаются на счетный вход микросхемы DD2 (вывод 9). По фронту четвертого импульса, благодаря обратным связям через элемент DD1.4, происходит обнуление триггеров (в начале седьмого такта). В остальном работа устройства происходит так же, как и предыдущего.

Далее рассмотрим несколько вариантов схем на KMOП-микросхемах. Электронный кубик (рис. 6) собран на микросхеме CD4060BE (DD1). Она представляет собой двоичный счётчик с дешифратором и встроенными элементами для построения генератора импульсов. Светодиоды HL1-HL5 образуют индикатор. Частота следования переключающих импульсов определяется параметрами элементов С1 и R2. Для упрощения схемы и в целом конструкции вариант кубика реализован с использованием индикатора, в котором грань «6» заменена гранью «пусто — зеро».

Порядок расположения светодиодов на индикаторе и последовательность переключений граней поясняет рис. 7 (элемент 1).

Работает схема следующим образом. После включения питания (SA2), при разомкнутых контактах выключателя SA1 запускается генератор микросхемы и происходит «перебор граней кубика». Процесс преобразования двоичного кода на выходах счётчика DD1 (выводы 5, 4, 6) в «код» граней происходит так. При коде 000 ни один из светодиодов не горит это грань «пусто». При коде 001 (высокий уровень на выводе 5) загорается светодиод HL1 — грань «1», при коде 010 светят светодиоды HL4, HL5 это грань «2» и т. д. Когда на выходах счётчика установится код 110 (цифра 6) благодаря обратным связям через диоды VD1, VD2 на входе R счётчика установится высокий уровень. Произойдёт его обнуление и рабочий цикл повторится вновь.

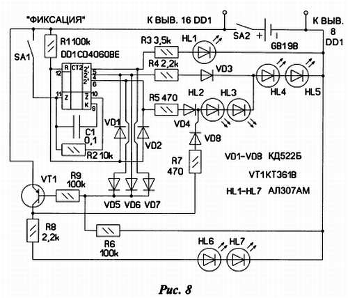
При желании создания традиционного кубика (рис. 7 — элемент 3) схему можно доработать в соответствии с рисунком 8.

Если применять «восьмигранный кубик» то его можно реализовать по схеме рисунка 9.

Сделать его, правда, можно только в электронном виде.

Появление ярких светодиодов с током потребления в доли миллиампера при заметном свечении сделало возможным реализацию кубика в шесть граней согласно схеме рисунка 10.

Её основа микросхема К561ИЕ8. Это десятичный счётчик с дешифратором. При подаче тактовых импульсов, например, на вход СР происходит последовательное появление логической единицы на каждом выходе 0–9. Диодная матрица VD1-VD11 преобразует последовательный код в код граней кубика. При наличии единицы на выходе 3 ток через диод VD1 поступает на светодиод HL1. Например, при наличии высокого уровня на выводе 1 ток поступает через диод VD10 на светодиоды HL3, HL4, а через диод VD11 на светодиоды HL5, HL6. Непосредственно элементы HL7, HL8 питаются с выхода микросхемы. Мигающий светодиод HL1 создаёт импульсы, переключающие триггеры счётчика.

Более 800 000 книг и аудиокниг! 📚

Получи 2 месяца Литрес Подписки в подарок и наслаждайся неограниченным чтением

ПОЛУЧИТЬ ПОДАРОК