Страж

Игрушка, изображение которой представлено на рис. 1, имитирует преданное хранение вверенного имущества. Зоркий страж, постоянно поворачиваясь, пытливо всматривается в окрестности, защищая добро от посягательств. Выполненная в «традициях БИМов», игрушка не содержит химических источников тока. Работает конструкция от энергии солнца, используя в качестве преобразователя солнечную батарею G1 (pис. 2). Игрушка будет интересна как настольный сувенир, может стать завсегдатаем подоконников окон солнечной стороны в качестве предмета релакса.

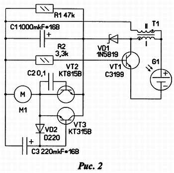
Схема управления двигателем M1 представлена на рис. 2. Трансформатор Т1 и транзистор VT1 образуют блокинг-генератор. После помещения конструкции под яркие солнечные лучи в моменты времени, когда транзистор закрыт, импульсы тока индуцированного суммарного напряжения обмоток трансформатора через развязывающий диод VD1 заряжают конденсатор С1. Резистор R2 ограничивает импульсы тока, управляющие работой транзистора. С течением времени напряжение на конденсаторе растёт. При его значении около 11 В происходит лавинообразное открывание транзистора VT2. Через развязывающий диод VD2 заряжается конденсатор С3. Статор мотора М1 начинает вращаться. При снижении напряжения конденсатора С1 до 8–9 В транзистор закрывается, однако открывается транзистор VT3.

Происходит дальнейший разряд накопительного конденсатора С1 на обмотки двигателя. Статор с закреплённой на нём конструкцией совершает поворот на угол около 120 градусов относительно ротора-основания. Далее цикл работы схемы повторяется. Конденсатор С2 обеспечивает устойчивый «лавинный пробой» транзистора VT2.

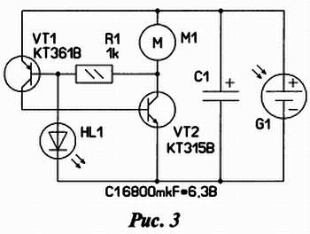
Таким образом, схема представляет собой так называемый солнечный двигатель. Его отличие от «классического двигателя Марка Тилдена» по схеме (рис. 3) — в наличии повышающего преобразователя напряжения и иного «спускового механизма» (транзисторы VT2,VT3). За счёт зарядки накопительного конденсатора до напряжения 11В энергия разряда существенно увеличивается, что повышает «тяговые возможности двигателя».

Резистор R1 является своего рода предохранителем на случай обрыва в цепях транзисторов. В таких ситуациях он защищает конденсатор С1 от перезаряда.

Конструктивно игрушка выполнена в «вертикальном наращивании». Элементы схемы смонтированы объёмно-навесным способом монтажа. Рисунок 4 поясняет её исполнение. На вал двигателя 3 надевают пластмассовый круг-основание 2. Снизу к поверхности основания приклеено резиновое кольцо 1. К контактным лепесткам мотора через сквозные отверстия припаяна плата 4, изготовленная из односторонне фольгированного гетинакса, её диаметр 25 мм. К плате, в свою очередь, припаяна стойка 6 для крепления солнечной батареи. На неё предварительно натянута переходная муфта 5. Муфта скручена на оправке (велосипедной спице) из проволоки канцелярских скрепок. К концам муфты на заключительном этапе сборки припаивают руки стража. Таким образом, получается шарнирное соединение рук.

Солнечная батарея вырезается из газонного светильника. Чтобы не повредить рабочий слой солнечной батареи (рис. 5), удобнее при приклеивании бруска 7 предварительно закрепить на обратной стороне элемента пластмассовую планку-переходник 8, используя для крепления боковые пластмассовые бортики лицевой панели светильника. Клей лучше использовать вязкий. Стержень Г-образной стойки 6 должен входить в сквозное отверстие бруска 7 с небольшим усилием. Такая конструкция позволит регулировать угол наклона батареи G1 на солнце. Утром, когда света ещё мало, страж сможет отворачиваться даже при слабой освещённости. А для того, чтобы обеспечить стабильное вращение игрушки, можно воспользоваться зеркальцем. Солнечный зайчик, играющий на панели батареи, заставит её работать на заряд конденсатора.

Оружие стража изготовлено из пластиковой шпажки для коктейлей, глаза из шариков — пулек от пневматики. Они помещены внутрь ячеек отрезка «таблетного блистера». Сзади отрезок заклеен плотным картоном, вырезанным по контуру глаз. Нос изготовлен из отрезка резиновой трубки. В торец вставлен пластмассовый шарик (пулька детского пружинного пистолета). Лицо «приклеено» к бруску 7. Опорное резиновое кольцо 1 склеено секундным клеем из отрезка шнура скакалки. Двигатель 3 и основание 2 изъяты из DVD привода компьютера.

Настройка изделия сводится к подбору ёмкости конденсатора С1 в пределах 220-2200 мкФ для регулировки угла поворота стража. При подборе следует учесть, что с увеличением ёмкости увеличивается и время заряда конденсатора. Экземпляр транзистора VT2 на необходимое напряжение лавинного режима, возможно, придётся также подбирать.

В конструкции допустимо применение резисторов MЛT, С2-23, R2 — его номинал может быть в интервале 1…10 кОм. Транзистор С3199 заменим отечественными транзисторами КТ315Б, КТ315Г, или любым из серии КТ3102. Вместо транзистора КТ815В подойдут и транзисторы серии КТ315. Трансформатор намотан вдвое сложенным проводом ПЭЛ-0,2 (25 витков) на магнитопроводе К7х5,5х2 из феррита с проницаемостью 1000…2000. Диод Шоттки можно использовать импортный, серий 1N5818, 1N5817 или 1N5819, или заменить обычным серии Д220, Д223.

Более 800 000 книг и аудиокниг! 📚

Получи 2 месяца Литрес Подписки в подарок и наслаждайся неограниченным чтением

ПОЛУЧИТЬ ПОДАРОК