4.4. Электромеханический «рыболов»

Виноградов Ю. [19]

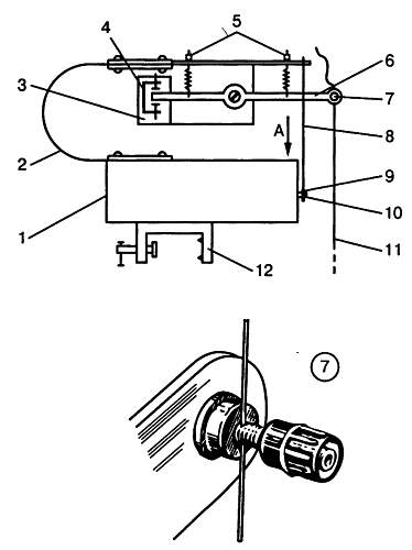
Устройство предназначено для автоматической подсечки рыбы после нескольких поклевок, число которых определено схемой. Принцип действия конструкции поясняется кинематической схемой, приведенной на рис. 29.

Рис. 29. Кинематическая схема автомата

Здесь:

1. Футляр из пластмассы, в котором размещается электронный блок;

2. Плоская пружина из фосфористой бронзы;

3. Изоляционная пластина;

4. Контактная скоба;

5. Узлы крепления пружин;

6. Подпружиненное коромысло;

7. Зажим лески;

8. Стальная тяга;

9. Серьга зацепа с резьбой;

10. Вал редуктора с резьбой;

11. Леска;

12. Струбцинка крепления автомата.

В настороженном состоянии, показанном на рисунке, леска 11 натянута грузилом и закреплена на конце коромысла в узле 7. Пружина 2 является движителем автомата: в согнутом состоянии она удерживается тягой 8, на конце которой находится серьга 9. В резьбовое отверстие серьги на несколько витков ввернут хвостовик вала редуктора 10. При подаче питания на электродвигатель шестерня его вала вращает шестерню редуктора, его вал выворачивается из серьги, они разъединяются, и пружина 2 резко распрямляется, дергая леску и производя подсечку. Момент включения двигателя определяется электрической схемой автомата, приведенной на рис. 30.

Рис. 30. Принципиальная схема автомата

SF1 — Контакты между коромыслом и скобой, в настороженном состоянии разомкнуты и замыкаются при поклевке;

SF2 — Контакты между валом редуктора и серьгой;

SA1 — Двухполюсный тумблер-переключатель, при налаживании и насадке наживки контакты SA1.1 замкнуты, a SA1.2 разомкнуты;

SA2 — Переключатель, которым устанавливается число поклевок, после которых происходит подсечка;

SA3 — Переключатель, которым устанавливается временной интервал, в течение которого осуществляется счет числа поклевок.

Элементы 2И-НЕ DD1.1 и DD1.2 образуют одновибратор, назначение которого состоит в устранении дребезга контактов SF1. При первой поклевке сигнал датчика SF1 активизирует счетчик DD3, положительный перепад с его вывода 3 через диод VD1 запускает генератор импульсов, собранный на элементах DD2.2 и DD2.3. Импульсы с частотой повторения около 1 Гц поступают на счетчик DD4, и в зависимости от положения переключателя SA3 через 2, 4 или 8 с сигнал поступает на вход 13 элемента DD2.1, а с выхода 11 DD1.3 — нa входы R счетчиков DD3 и DD4, возвращая их в нулевое состояние. Таким образом, если за время указанного промежутка не поступили следующие сигналы поклевок, первый сигнал считается ошибочным, и схема возвращается в исходное состояние.

Кроме того, при первом сигнале поклевки с вывода 3 DD3 перепадом напряжения запускается генератор звуковой частоты, собранный на элементах DD2.4 и DD1.4. Звуковой сигнал усиливается транзисторами VT3, VT4 и воспроизводится динамической головкой НА1, извещая рыбака о начале поклевки.

Если за первым сигналом поступают следующие, микросхема DD3 их считает, и, когда их число соответствует установке переключателя SA2, сигнал через R5 поступает на выходной усилитель, собранный на транзисторах VT1, VT2, которыми включается электродвигатель M1. В результате происходит подсечка, а размыкание контактов SF2 приводит к обнулению счетчиков DD3 и DD4.

Более 800 000 книг и аудиокниг! 📚

Получи 2 месяца Литрес Подписки в подарок и наслаждайся неограниченным чтением

ПОЛУЧИТЬ ПОДАРОК