6.3. Сенсорный выключатель светильника

Нечаев И. [26]

Предлагаемое устройство обеспечивает включение лампы светильника с помощью сенсора, то есть с полной гальванической развязкой пользователя и электросетью.

Принципиальная схема сенсорного выключателя приведена на рис. 40.

Рис. 40. Принципиальная схема сенсорного выключателя

Устройство питается от сети переменного тока напряжением 220 В с помощью выпрямительного моста VD5-VD8. В одну диагональ моста включена лампа светильника, а в другую — тиристор VS1. Лампа горит только в том случае, если тиристор открыт. Максимальная мощность лампы определяется допустимым выпрямленным током диодов моста и при использовании диодов КД105Б составляет 100 Вт.

Цифровая часть схемы содержит микросхемы DD1 — четыре триггера Шмитта и DD2 — два D-триггера, из которых используется только один. В исходном состоянии после подключения схемы к сети триггер Шмитта DD1.1 благодаря положительной обратной связи через резистор R1 генерирует положительные импульсы с частотой повторения примерно равной 10 кГц. Через резистор R2 и конденсатор связи С2 эти импульсы поступают на вход 12 триггера DD1.2. Переменным резистором R2 устанавливают минимальный уровень импульсов, при котором срабатывает DD1.2. Импульсная последовательность на выходе 11 DD1.2 приводит к заряду конденсатора С4 через диод VD1 во время импульса и к разряду этого конденсатора через резистор R4 — во время паузы. В связи с тем, что постоянная времени заряда меньше, чем разряда, напряжение на С4 нарастает и достигает максимума. Тогда на выходе элемента DD1.3 образуется низкий уровень, также низким будет уровень на прямом выходе 1 элемента DD2.1, и высокий уровень создается на выходе элемента DD1.4 и на базе транзистора VT1. Поэтому транзистор заперт и также заперт тиристор VS1, а лампа светильника не горит.

Прикосновение к сенсору Е1 приводит к появлению емкости на землю, благодаря чему уровень импульсов, поступающих на вход 12 DD1.2, уменьшается. Поэтому элемент DD1.2 не переключается, конденсатор С4 не заряжается, на выходе DD1.3 и на выходе 1 элемента DD2.1 образуется высокий уровень, а на выходе DD1.4 и на базе транзистора VT1 — низкий. В результате отпираются транзистор VT1 и тиристор VS1, что приводит к зажиганию лампы светильника.

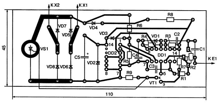
Эскиз печатной платы с размещенными на ней элементами схемы приведен на рис. 41.

Рис. 41. Эскиз печатной платы сенсорного выключателя

Необходимо заметить, что указанный на схеме тиристор КУ202К допускает приложение к нему в запертом состоянии напряжения, не превышающего 300 В, а амплитудное значение напряжения сети составляет 311 В. Поэтому вместо тиристора КУ202К следует использовать КУ202М или КУ202Н, рассчитанные на приложение напряжения до 400 В.

Более 800 000 книг и аудиокниг! 📚

Получи 2 месяца Литрес Подписки в подарок и наслаждайся неограниченным чтением

ПОЛУЧИТЬ ПОДАРОК