3.4. Приемник с синхронным детектором

Руднев А. [15]

В отличие от супергетеродинов в синхронном приемнике частота местного гетеродина равна частоте несущей сигнала и синхронизируется им. Синхронные приемники отличаются высокой избирательностью и линейностью характеристики детектора при амплитудной модуляции сигнала. Принципиальная схема этого приемника приведена на рис. 18.

Рис. 18. Принципиальная схема приемника с синхронным детектором

Входное устройство образовано широкополосным колебательным контуром L1, С3, который настраивают на середину того участка СВ-диапазона, который подлежит приему. На полевом транзисторе VT1 выполнен смеситель: сигнал через резистор R2 подается на исток, а колебания гетеродина — на затвор. Гетеродином служит генератор RC на транзисторах VT2 и VT3 с триггером Шмитта на микросхеме DD1. Частота гетеродина зависит от элементов R1, С2, С4 и сопротивление канала транзистора VT2. На его затвор поступает синхронизирующий сигнал через конденсатор С5. Переменный резистор R1 определяет среднюю частоту диапазона, а конденсатор С2 — плавную перестройку. Когда частота гетеродина приближается к частоте сигнала, возникает захват, и они становятся равны. На выходе смесителя включен фильтр нижних частот С6, L2, С7 с частотой среза 5 кГц, пропускающий сигнал звука на вход усилителя низкой частоты, собранный на транзисторах VT4, VT5. Выходной каскад усилителя нагружен головными телефонами ТА-56М с сопротивлением 50 Ом.

Резистор R8 ограничивает ток выходного каскада. Для питания приемника можно использовать батарею 3336Л. Потребляемый приемником ток составляет около 30 мА.

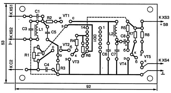
Почти все элементы схемы приемника размещены на печатной плате, чертеж которой приведен на рис. 19.

Обе катушки наматываются проводом ПЭЛ диаметром 0,2 мм. Катушка L1 намотана на кольце К7х4х2 из феррита 600НН и содержит 30 витков, катушка L2 — на кольце К18х9х5 из феррита 2000НН и содержит 2000 витков.

Рис. 19. Печатная плата приемника с синхронным детектором

Более 800 000 книг и аудиокниг! 📚

Получи 2 месяца Литрес Подписки в подарок и наслаждайся неограниченным чтением

ПОЛУЧИТЬ ПОДАРОК