Беседа 15 ОТ ПРИЕМНИКА ПРЯМОГО УСИЛЕНИЯ — К СУПЕРГЕТЕРОДИНУ

Практическое знакомство с радиоприемной аппаратурой начинается, как правило, с освоения приемников прямого усиления. Так поступил и ты. Затем наступает следующий, более сложный этап радиолюбительского творчества — изучение и конструирование супергетеродинного приемника, обладающего лучшими, чем приемник — прямого усиления, селективностью и чувствительностью. Этому основному современному типу радиовещательных приемников и посвящается эта беседа.

ОСОБЕННОСТИ СУПЕРГЕТЕРОДИНА

Чем принципиально отличается супергетеродин от приемника прямого усиления? В основном — методом усиления модулированных колебаний радиочастоты. В приемнике прямого усиления принятый сигнал усиливается без какого-либо изменения его частоты. В супергетеродине же принятый сигнал преобразуется в колебания так называемой промежуточной частоты, на которой и происходит основное усиление принятого радиосигнала. Что же касается детектирования, усиления колебаний звуковой частоты и преобразования их в звуковые колебания, то эти процессы в приемниках обоих типов происходят принципиально одинаково.

Структурную схему супергетеродина ты видишь на рис. 233.

Рис. 233. Структурная схема супергетеродина

Его входной настраиваемый колебательный контур такой же, как в приемнике прямого усиления. С него принятый сигнал радиостанции поступает в смеситель. Сюда же, в смеситель, подается еще сигнал от местного маломощного генератора колебаний радиочастоты, называемого гетеродином. В смесителе колебания гетеродина преобразуются в колебания промежуточной частоты (ПЧ), равной обычно разности частот гетеродина и принятого сигнала, которые затем усиливаются и детектируются. В большинстве случаев промежуточная частота супергетеродина равна 465 кГц. Колебания звуковой частоты, выделенные детектором, также усиливаются и далее преобразуются головкой громкоговорителя в звуковые колебания.

Смеситель вместе с гетеродином преобразуют принятый сигнал радиостанции в колебания промежуточной частоты, поэтому этот каскад супергетеродина называют преобразователем.

В выходную цепь преобразователя включены колебательные контуры, настроенные на частоту 465 кГц. Они образуют фильтр промежуточной частоты (ФПЧ), выделяющий колебания промежуточной частоты и отфильтровывающий колебания частот входного сигнала, гетеродина и их комбинаций.

При любой настройке супергетеродина частота его гетеродина должна быть выше (или ниже) частоты входного сигнала на 465 кГц, т. е. на значение промежуточной частоты. Так, например, при настройке приемника на радиостанцию, несущая частота которой 200 кГц (длина волны 1500 м), частота гетеродина должна быть 665 кГц (665–200 = 465 кГц), для приема радиостанции, частота которой 1 МГц (длина волны 300 м), частота гетеродина должна быть 1465 КГц (1465 кГц — 1 МГц = 465 кГц) и т. д. Чтобы получить постоянную промежуточную частоту при настройке приемника на радиоволну любой длины, нужно, чтобы диапазон частот гетеродина был сдвинут по отношению к диапазону, перекрываемому входным контуром, на частоту, равную промежуточной, т. е. на 465 кГц. На этой частоте и происходит усиление принятого радиосигнала до уровня, необходимого для нормальной работы детектора.

В чем же суть преимуществ супергетеродина перед приемником прямого усиления?

В супергетеродине основное усиление принятого радиосигнала происходит на фиксированной, к тому же сравнительно низкой промежуточной частоте. Это позволяет путем увеличения числа каскадов усилителя ПЧ получить очень большое и весьма стабильное усиление принятого радиосигнала, не опасаясь возбуждения усилителя ПЧ. Селективные свойства приемника прямого усиления определяются обычно одним входным колебательным контуром. В супергетеродине же несколько колебательных контуров, постоянно настроенных на промежуточную частоту. Эти контуры, образующие фильтры ПЧ, и обеспечивают супергетеродину более высокую, чем в приемнике прямого усиления, селективность. Ко всему этому надо еще добавить, что чувствительность и селективность супергетеродина сохраняются примерно постоянными на всех диапазонах, в том числе и на коротковолновых, для которых приемники прямого усиления практически непригодны.

ПРЕОБРАЗОВАТЕЛЬ ЧАСТОТЫ

Разобраться в принципе работы транзисторного преобразователя частоты тебе поможет его упрощенная схема, изображенная на рис. 234.

Рис. 234. Упрощенный преобразователь частоты

Сигнал радиостанции, на частоту которой настроен входной контур L1C1, через катушку связи L2 подается на базу транзистора, V1. Одновременно на базу транзистора через катушку связи L2 (или непосредственно на базу) подается и сигнал гетеродина, частота которого на 465 кГц выше несущей частоты радиостанции. В коллекторной цепи колебания частот принятого сигнала и гетеродина смешиваются, в результате чего в ней возникают колебания различных частот, в том числе и промежуточной. Контур же L3C2, включенный в коллекторную цепь, настроен на промежуточную частоту, поэтому он выделяет в основном только колебания этой частоты и отфильтровывает колебания всех других частот. Выделенные контуром колебания промежуточной частоты через катушку связи L4 поступают на вход усилителя ПЧ для усиления.

Сигнал гетеродина можно подавать и в эмиттерную цепь транзистора смесительного каскада. Результат будет таким же.

В преобразователе частоты супергетеродина могут работать два транзистора: в смесителе и гетеродине. Подобные каскады называют преобразователями с отдельным гетеродином. Преобразователи же частоты подавляющего большинства любительских супергетеродинов однотранзисторные. Их называют преобразователями с совмещенным гетеродином, так как один и тот же транзистор выполняет одновременно роль гетеродина и смесителя.

Принципиально так работают преобразователи частоты и ламповых супергетеродинов.

Преобразователи частоты многих транзисторных супергетеродинов, в том числе и массовых промышленных, рассчитаны на прием радиовещательных станций только двух диапазонов — средневолнового и длинноволнового. Коротковолновый диапазон у них часто отсутствует. Объясняется это тем, что введение коротковолнового диапазона связано со значительными усложнениями преобразователей частоты, которые не всегда оправдываются при их эксплуатации. Радиолюбители же чаще всего собирают еще более простые транзисторные супергетеродины — однодиапазонные с учетом местных условий радиоприема, но обязательно с усилителем ПЧ. Без усилителя ПЧ транзисторный супергетеродин работает плохо.

Это краткое отступление может навести тебя на грустные размышления: есть ли смысл собирать транзисторный супергетеродин? Есть, конечно! Потому что селективность супергетеродина лучше, чем у приемника прямого усиления, и чувствительность более равномерна по всему диапазону волн, перекрываемому приемником. В этом ты убедишься сам.

ТРАНЗИСТОРНЫЙ СУПЕРГЕТЕРОДИН

Принципиальная схема радиочастотной части и детектора такого супергетеродина с совмещенным гетеродином показана на рис. 235.

Рис. 235. Принципиальная схема радиочастотной части и детектора транзисторного супергетеродина

Усилитель 3Ч (на схеме не показан) ничем не отличается от усилителя 3Ч приемника прямого усиления. Им может быть любой из тех усилителей, которые ты уже конструировал. Но в принципе усилитель 3Ч необязателен — нагрузкой детектора могут быть головные телефоны, включенные в его цепь вместо резистора R6.

Входная цепь супергетеродина, состоящая из контура L1C1C2 магнитной антенны W1 и катушки связи L2, ничем не отличается от входной цепи радиочастотного каскада приемника прямого усиления. Катушка L4, включенная в коллекторную цепь транзистора, и контур L5C6C7C8, соединенный через конденсатор С5 с эмиттером транзистора V1, образуют гетеродинную часть преобразователя. Благодаря индуктивной связи между катушками L4 и L5 в контуре L5C6C7C8 возбуждаются электрические колебания, частота которых определяется данными контура и регулируется конденсатором переменной емкости С8.

Часть энергии колебаний радиочастоты, возникающих в гетеродинном контуре, через конденсатор С5 подается в цепь эмиттера транзистора V1, усиливается ими через катушку обратной связи L4 вновь попадает в гетеродинный контур, поддерживая в нем колебания той частоты, на которую он настроен. Таким образом, на ток транзистора воздействуют одновременно колебания сигнала принимаемой радиостанции и гетеродинного контура. Смешиваясь, они образуют колебания промежуточной частоты, которые выделяются коллекторной нагрузкой транзистора — контуром L6C4, настроенным на промежуточную частоту. Через катушку связи L7 они подаются к усилителю ПЧ.

Резистор R3 в этом однотранзисторном преобразователе можно рассматривал» как нагрузку контура гетеродина, на котором выделяется переменное напряжение радиочастоты, вводимое в эмиттерную цепь транзистора. Конденсатор С5 является переходным элементом, связывающим контур гетеродина с транзистором.

Обеспечение сравнительно постоянной разности между частотами настройки гетеродинного и входного контуров, равной 465 кГц, носит название сопряжения контуров. Сопряжение достигается соответствующим выбором индуктивности катушек для каждого диапазона и одновременным изменением емкости конденсаторов настройки этих контуров. А поскольку емкости конденсаторов настройки одинаковы, индуктивность гетеродинной катушки должна быть несколько меньше индуктивности катушки входного контура.

Обращаю твое внимание на конденсатор С6. Его называют сопрягающим. Будучи включенным последовательно с конденсатором настройки, он уменьшает общую емкость контура и тем самым сужает диапазон частот гетеродина. Благодаря сопрягающему конденсатору частота колебаний гетеродина по всему диапазону превышает частоту колебаний принимаемого сигнала на промежуточную частоту 465 кГц. Сопряжение настроек контуров достигается: на высокочастотном участке диапазона — подстроечными конденсаторами С2 и С7, подключенными параллельно конденсаторам настройки С1 и С8, а на низкочастотном — соответствующей подгонкой индуктивностей входной и гетеродинной катушек.

Запомни: сопряжение входного и гетеродинного контуров в соответствии с промежуточной частотой — непременное условие для работы супергетеродина.

Если сопряжение сделано недостаточно тщательно, приемник будет работать плохо.

Чтобы стабилизировать работу преобразовательного транзистора, смещение на его базу подается с делителя напряжения R1, R2. Наивыгоднейший режим работы транзистора устанавливают подбором резистора R1. Резистор R4 и конденсатор С10 образуют развязывающий фильтр.

Для повышения дальности действия приемника предусмотрена возможность подключения к нему комнатной антенны, штыря или отрезка проволоки длиной около 1,5 м. В этом случае связь внешней антенны, подключаемой к гнезду X1, с входным контуром преобразователя индуктивная, через катушку L3.

Однокаскадный усилитель ПЧ образуют транзистор V2, контур L8C11 и резистор R5, через который на базу транзистора подается начальное напряжение смещения. Работает он так же, как усилитель РЧ приемника прямого усиления, с той лишь разницей, что нагрузкой транзистора этого каскада служит резонансный контур L8C11, настроенный, как и контур L6C4, на промежуточную частоту. Входная цепь этого каскада посредством катушки L7 связана индуктивно с нагрузкой преобразователя, а выходная — с детектором.

Начиная с катушки связи L9, связывающей каскад усиления промежуточной частоты с детекторным каскадом, все идет, как в приемнике прямого усиления: выделенные диодом V3 колебания звуковой частоты с его нагрузочного резистора R6, блокированного конденсатором С12, через электрический конденсатор С13 подаются на вход двух-трех каскадного усилителя 3Ч.

Данные большинства деталей радиочастотной части супергетеродина указаны на принципиальной схеме. Не указаны лишь емкости конденсаторов С1 и С8 настройки контуров и сопрягающего конденсатора С6. Объясняется это тем, что неизвестно, каким блоком конденсаторов переменной емкости ты располагаешь, на какой диапазон волн намерен рассчитывать приемник и какой сердечник будешь использовать для гетеродинной катушки L5. Эти данные взаимосвязаны и определяют емкость сопрягающего конденсатора С6.

В приемнике можно использовать любой блок конденсаторов, в том числе типовой для ламповых приемников, с наибольшей емкостью 495 пФ. Желательно, однако, чтобы он был малогабаритным, таким, как в промышленных транзисторных супергетеродинах. Но и в промышленных приемниках стоят разные по конструкции и емкости блоки конденсаторов. В приемниках «Спутник» и «Сюрприз», например, блоки конденсаторов с наибольшей емкостью 170 пФ, в «Соколе» — 240 пФ, в «Атмосфере» — 250 пФ, в «Спидоле» — 365 пФ.

Высокочастотные сердечники, которые можно использовать для гетеродинной катушки L5, тоже могут быть разными. Можно, например, использовать броневой (горшкообразный) карбонильный сердечник марки СБ-12а, в который помещается катушка (рис. 236, б), или ферритовый стержень, находящийся внутри самодельного каркаса катушки (рис. 236. в).

Рис. 236. Катушки транзисторного супергетеродина

Различные сердечники — разные числа витков катушек.

Ориентировочные данные катушек L1 и L5 с учетом использования в приемнике разных блоков конденсаторов переменной емкости и сердечников для гетеродинной катушки L5 приведены в таблице на стр. 241. В ней указана и емкость сопрягающего конденсатора С6, соответствующая этим данным.

Если приемник рассчитывать на средневолновый диапазон, катушку L1 следует наматывать в один слой, виток к витку. Если же на длинноволновый, эту катушку нужно наматывать секциями внавал. Катушка связи L2 должна иметь 8-12 витков. Окончательное число витков этой катушки — будешь подбирать опытным путем при налаживании приемника. Число витков катушки L3 должно быть примерно в 2–3 раза больше числа витков катушки L2 (намотка внавал).

Для гетеродинных катушек желательно использовать броневой карбонильный сердечник СБ-12а (рис. 236, б). На секционированный полистироловый каркас, предназначенный для этого сердечника, сначала намотай проводом ПЭВ-1 0,1–0,12 контурную катушку L5, распределив витки в ее секциях поровну. Отвод, идущий к эмиттеру транзистора, сделай от 4-го витка (для средних волн) или от 6-го витка (для длинных волн), считая от заземленного конца. Затем поверх витков средней секции намотай таким же проводом катушку обратной связи L4. Она должна содержать 20 витков. Каркас с катушками помести внутрь сердечника, предварительно надев на их выводы короткие отрезки изоляционной трубки, чтобы не испортить изоляцию провода. Горшкообразные половинки сердечника склей лаком или клеем БФ-2. Если не будет карбонильного сердечника, можно использовать для гетеродинной катушки самодельный секционированный каркас и отрезок ферритового стержня (рис. 236, в). Высота гильзы каркаса 13–15 мм, длина сердечника 18–20 мм. Каркас склей из плотной бумаги с таким расчетом, чтобы сердечник с трением входил внутрь гильзы и удерживался в ней. Сначала на каркас намотай внавал гетеродинную катушку L5, затем катушку обратной связи L4.

Отвод в гетеродинной катушке сделай от 5-7-го витка, считая от заземленного конца. Число витков катушки обратной связи — 15; провод ПЭВ-1 0,1 0,12.

Устройство катушек фильтров ПЧ L6 и L8 и катушек святи L7 и L9 аналогично устройству гетеродинных катушек. Для них, как и для гетеродинных катушек, можно использовать карбонильные броневые сердечники или отрезки ферритового стержня. В первом случае катушки L6 и L8 должны содержать по 75–80 витков, во втором но 45–50 витков провода ПЭВ-1 0,1. Катушки связи L7 и L9 наматывай поверх катушек фильтров таким же проводом, но диаметром 0,12-0,15 мм. В первом случае катушка L7 должна содержать 15 витков, L9 — 30 витков, а во втором случае соответственно 10 и 20 витков.

Для преобразовательного каскада используй транзистор с коэффициентом h21Э 40–50, а для каскада усиления промежуточной частоты с h21Э  60–80. Подстроечные конденсаторы С2 и С7 могут быть любыми.

Полагаю, что преобразователь частоты усилитель ПЧ и детектор, а также один-два каскада усиления колебаний звуковой частоты (или включенные

в цепь детектора головные телефоны), ты сначала соберешь и наладишь на макетной панели. Включив питание, измерь коллекторные токи транзисторов V1, V2 и, если они значительно отличаются от указанных на схеме, подгони их подбором резисторов R1 и R5. Эта предварительная, грубая проверка даст возможность судить только о том, нет ли ошибок, плохих контактов или неисправных деталей в цепях приемника. Затем подключи к приемнику внешнюю антенну и попытайся настроить его на какую-либо радиостанцию. При этом подстроечные конденсаторы С2 и С7 входного и гетеродинного контуров установи в положение средней емкости. Если попытка не удастся, значит, гетеродин не генерирует или нет сопряжения контуров преобразователя.

Прежде всего проверь, работает ли гетеродин. Подключи параллельно резистору R3 вольтметр постоянного тока и замкни накоротко катушку L5. При исправной работе гетеродина после закорачивания катушки напряжение на эмиттере должно немного уменьшиться.

Если напряжение не изменится, значит, гетеродин не генерирует. В этом случае надо поменять местами включение выводов катушки обратной связи L4 или, уменьшив сопротивление резистора R1, немного увеличить напряжение на базе транзистора V1.

При исправной работе гетеродина тебе удастся настроиться на какую-либо радиостанцию. Если радиоприем будет сопровождаться свистом, искажающим передачу, отодвинь антенную катушку L3 и катушку связи L2 от контурной катушки L1. Теперь, изменяя индуктивность катушек фильтров промежуточной частоты (подстроечными сердечниками или перемещая катушки по ферритовым стержням) — сначала катушки L8, а затем катушки L6, добейся наибольшей громкости приема сигналов этой станции.

Теперь переходи к самому кропотливому делу — сопряжению настроек входного и гетеродинного контуров. Блок конденсаторов С1 и С8 установи в положение максимальной емкости и только подстроечным сердечником гетеродинной катушки L5 настрой приемник на какую-либо радиостанцию наиболее низкочастотного участка диапазона. Далее изменением индуктивности катушки L1 входного контура путем перемещения ее по ферритовому стержню магнитной антенны добейся наибольшей громкости приема сигналов этой радиостанции. Затем настрой приемник на радиостанцию высокочастотного участка диапазона (емкость конденсаторов блока КПЕ наименьшая). Теперь, не трогая катушек, сопрягай контуры только подстроечными конденсаторами С2 и С7. При этом ты можешь увеличивать емкость первого конденсатора и уменьшать емкость второго или, наоборот, уменьшать емкость первого и увеличивать емкость второго. Задача одна — добиться наибольшей громкости приема этой станции.

На этом налаживание супергетеродина еще не заканчивается. Надо еще раз подстроить гетеродинный и входной контуры в конце и начале диапазона, затем еще раз подстроить контуры L8C11 и L6C4 фильтра промежуточной частоты и снова вернуться к контурам преобразователя приемника. И может быть даже не один, а два-три раза, пока никакие подстроечные элементы уже не будут улучшать работу приемника.

Не исключено, что приемник станет самовозбуждаться. Причиной самовозбуждения может быть неудачное размещение контура гетеродина и контуров промежуточной частоты относительно магнитной антенны и по отношению друг к другу. Ищи лучшее размещение этих элементов приемника. Если не поможет, то попробуй менять местами выводы катушек связи L7 и L9, укорачивать или разносить проводники цепей баз и коллекторов транзисторов. А если возникает генерация из-за связи каскадов через цепи питании, включи в цепь коллектора транзистора V2 усилителя ПЧ точно такой же развязывающий фильтр, как в цепи транзистора преобразователя частоты.

Когда устранишь все неполадки и наладишь приемник, начнется завершающий этап — сборка деталей на монтажной плате и монтаж приемника в футляр. Здесь все зависит от твоей смекалки, инициативы и твоих возможностей. Можно, например, походный приемник прямого усиления (по схеме на рис. 204) преобразовать в супергетеродин. При этом тебе придется только перемонтировать радиочастотную часть, превратив ее в каскад усиления промежуточной частоты и преобразователь частоты. Место на монтажной плате для новых деталей там есть. А детекторный каскад и усилитель 3Ч приемника останутся без изменений.

Если решишь делать новый приемник, то, учитывая габариты и особенности имеющихся деталей, продумай хорошенько его монтажную схему, конструкцию футляра и только тогда принимайся за дело. Опыт у тебя есть, так что решай самостоятельно все эти практические вопросы.

Впрочем, супергетеродин может быть и на электронных лампах.

ЛАМПОВЫЙ СУПЕРГЕТЕРОДИН

Принципиальная схема такого варианта супергетеродина изображена на рис. 237.

Рис. 237. Принципиальная схема лампового супергетеродина

Если ты строил приемник прямого усиления 1-V-1 (см. рис. 228), то большая часть схемы этого варианта супергетеродина тебе уже знакома. Действительно, все, что находится справа от конденсатора С12, является точным повторением аналогичного участка схемы того приемника. Его каскад усиления радиочастоты заменен преобразователем. Получился трехламповый однодиапазонный супергетеродин.

В преобразователе частоты используется специально предназначенная для этой цели комбинированная электронная лампа 6И1П (V1). Это триод-гептод. Ее триодная часть работает в гетеродине, а гептодная — в смесителе. Следовательно, преобразователь частоты этого супергетеродина выполнен с отдельным гетеродином.

В смесительную часть преобразователя кроме гептода лампы 6И1П входят: контур L2C3C2, связанный индуктивно с антенной катушкой L1, и контур L5C10, включенный в анодную цепь гептода. Гетеродинную часть образуют триод лампы и контур L3C6C7C8, индуктивно связанный с катушкой обратной связи L4. Контур L5C10 в анодной цепи гептода и индуктивно связанный с ним точно такой же контур L6C11, настроенные на частоту 465 кГц, образуют двухконтурный фильтр промежуточной частоты.

Как работает этот каскад приемника? Через катушку L1 протекают переменные токи разных радиочастот, возникающие в антенне под действием волн многих радиостанций. В контуре же L2C2C3, связанном индуктивно с катушкой L1, возбуждаются колебания в основном только той частоты, на которую он настроен в резонанс. Эти колебания передаются на первую от катода (управляющую) сетку гептода и воздействуют на его анодный ток.

Вторая и четвертая сетки, соединенные вместе, выполняют функции экранирующих сеток гептода. Положительное напряжение на них подается через резистор R1. Возникновение в этой цепи колебания радиочастоты предотвращается конденсатором С4. Третья сетка гептода-смесительная, а пятая, соединенная с катодом, — защитная.

Катушка обратной связи гетеродина L4 подключена через конденсатор С9 параллельно анодной цепи триода. Колебательный контур гетеродина через конденсатор С5 включен в сеточную цепь триода. При таком включении катушек часть энергии из анодной цепи триода попадает обратно в цепь сетки, благодаря чему гетеродин возбуждается и генерирует электрические колебания, частота которых определяется индуктивностью катушки L3 и емкостью конденсаторов С6, С7 и С8. Колебания гетеродина с управляющей сетки триода подаются на смесительную сетку гептода и, так же как колебания во входном контуре L2C3C2, воздействуют на его анодный ток. В результате в анодной цепи гептода, а также в контуре L5C10, создаются модулированные колебания разностной частоты гетеродина и принятого сигнала — промежуточной. А поскольку этот контур заранее настроен на промежуточную частоту, он выделяет колебания только этой частоты.

Колебания такой же частоты возбуждаются и в контуре L6C11, включенном в цепь управляющей сетки лампы 6ЖЗП (V2), работающей в режиме сеточного детектирования — точно так же, как и в приемнике прямого усиления. Сопряжение настроек входного и гетеродинного контуров в высокочастотном участке диапазона осуществляется подстроечными конденсаторами С2 и С8, а в низкочастотном — подгонкой индуктивностей катушек L2 и L3. Конденсатор С7 в контуре гетеродина — сопрягающий. Конденсатор С3 и резистор R2 в сеточной цепи обеспечивают триоду работу в режиме генерации.

В этом приемнике нет каскада усиления промежуточной частоты, как в транзисторном супергетеродине. Но в нем, как и в приемнике прямого усиления, детекторная лампа работает как регенератор, что повышает чувствительность приемника.

Чтобы приемник прямого усиления 1-V-1 стал супергетеродином, надо лишь перемонтировать каскад усиления радиочастоты, превратив его в преобразователь частоты супергетеродина. Для этого надо прежде всего заменить ламповую панель этого каскада на девятиштырьковую и между ней и панелькой детекторной лампы укрепить двухконтурный фильтр промежуточной частоты. Резистор R1 и конденсатор С4 приемника прямого усиления надо удалить, так как они теперь не нужны. Резистор же R2, который теперь будет резистором R1 цепи экранирующей сетки гептода лампы 6И1П, следует заменить на резистор с номинальным сопротивлением 18–22 кОм. Входная цепь остается без изменения.

Контур L3C9C8 и катушка обратной связи L4 детекторного каскада приемника прямого усиления в супергетеродине будут соответственно контуром L3C6C8 и катушкой обратной связи L4 гетеродина. Надо только уменьшить число витков катушек примерно на 1/5 часть и включить в контур сопрягающий конденсатор С7. Если контур рассчитан на прием станций средневолнового диапазона, то емкость сопрягающего конденсатора должна быть 510–620 пФ. Для длинноволнового диапазона емкость этого конденсатора должна составлять 180–220 пФ, и, кроме того, параллельно катушке L3 (или параллельно подстроечному конденсатору С8) надо подключить конденсатор емкостью 47–51 пФ, необходимый для согласования начальных емкостей контуров в высокочастотном участке диапазона.

Двухконтурный полосовой фильтр промежуточной частоты должен быть рассчитан на частоту 465 кГц. Подойдет фильтр от любого лампового радиовещательного супергетеродина, в том числе и устаревшей модели. Внешний вид и конструкция одного из таких фильтров от приемника «Родина-52» показаны на рис. 238.

Рис. 238. Фильтр промежуточной частоты

Его контурные катушки помещены в карбонильные чашки броневого сердечника СБ-12а и приклеены к гетинаксовой плате. Здесь же находятся и конденсаторы контуров фильтра. Чтобы использовать такой (или аналогичный ему) фильтр в твоем приемнике, надо только намотать на сердечник катушки того контура, который будешь включать в цепь сетки детекторной лампы, 25–30 витков провода ПЭВ-1 0,1–0,12; она будет катушкой обратной связи (L7) детекторного каскада супергетеродина.

Во время переделки приемника переменный резистор обратной связи R6 целесообразно перенести на заднюю стенку шасси или укрепить на горизонтальной панели шасси возле фильтра промежуточной частоты. Пользоваться им ты будешь только при налаживании приемника. Впрочем, его можно заменить постоянным резистором такого же номинала, а глубину положительной обратной связи подбирать подстроечным конденсатором. В этом случае схема анодной цепи лампы детекторного каскада будет иметь вид, показанный на рис. 239.

Рис. 239. Видоизмененная схема цепи обратной связи

Это схема параллельной обратной связи. Резистор R6 здесь выполняет роль-нагрузки лампы V2. Наивыгоднейшую величину обратной связи устанавливают подстроечным конденсатором С с наибольшей емкостью 100–150 пФ. Укрепи его возле фильтра промежуточной частоты. Если в процессе налаживания приемника выяснится, что емкость этого конденсатора мала, параллельно ему подключишь дополнительный конденсатор постоянной емкости.

После проверки монтажа включи питание и проверь напряжение на электродах преобразовательной лампы. На аноде гептода должно быть почти полное напряжение выпрямителя, а на аноде триода 40–50 В. После этого переходи к настройке контуров фильтра промежуточной частоты и сопряжению контуров преобразователя.

Вначале сердечники контурных катушек фильтра промежуточной частоты установи примерно в среднее положение, а цепь обратной связи детекторного каскада временно отключи. Подключи антенну, заземление и настрой приемник на какую-либо радиостанцию. Если приема нет, то поменяй местами выводы катушки L4 гетеродина. Медленно вращая сердечники катушек фильтра промежуточной частоты — сначала катушки контура сеточной цепи детекторной лампы, потом катушки анодного контура гептода преобразователя — добейся наибольшей громкости приема радиостанции. Затем, не изменяя настройки приемника, включи цепь обратной связи. Величину обратной связи подбери такой, чтобы детекторный каскад был близок к порогу генерации, но не возбуждался. Это будет соответствовать наибольшей чувствительности приемника.

Сопряжение гетеродинного и входного контуров в низкочастотном и высокочастотном участках диапазона делай так же, как об этом я рассказывал применительно к транзисторному супергетеродину.

Окончательно налаженный приемник при наружной антенне и хорошем заземлении должен обеспечить громкий прием не только местной, но и некоторых отдаленных радиовещательных станций.

И все же чувствительность этого приемника по сравнению с промышленными супергетеродинами даже самого низкого класса мала. Чтобы он стал более чувствительным, надо добавить каскад усиления промежуточной частоты. При этом сеточное детектирование можно будет заменить диодным, что повысит качество звуковоспроизведения, появится возможность ввести автоматическое регулирование усиления (АРУ) для борьбы с «замираниями» радиоприема. Приемник может стать трехдиапазонным.

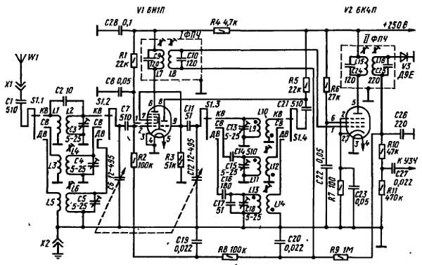
Ты, конечно, сразу же спросишь, как все это сделать? Отвечаю: надо радиочастотную часть и детектор приемника смонтировать по схеме, показанной на рис. 240.

Рис. 240. Радиочастотная часть трехдиапазонного супергетеродина с АРУ

Рассмотри внимательно эту схему. Что в ней тебе знакомо, а что пока еще нет? Знаком преобразователь частоты, только он стал трехдиапазонным. Катушки L1, L2, L9 и L10 — катушки коротковолнового диапазона, L3, L4, L11 и L12 — катушки средневолнового диапазона, L5, L6, L13 и L14 — катушки длинноволнового диапазона. Из них: L1, L3 и L5- катушки антенной цепи; L2, L4 и L6 — катушки входных контуров преобразователя; L9, L11 и L13 — катушки контуров гетеродина; L10, L12 и L14 — катушки обратной связи гетеродина. Переход с одного диапазона волн на другой осуществляется переключателем S1, секции S1.1, S1.2, S1.3 и S1.4 которого действуют одновременно. Когда включен один из диапазонов, катушки других диапазонов в работе приемника участия не принимают. Конденсатор С2 усиливает связь между катушками входной цепи коротковолнового диапазона. Но его может и не быть, тогда связь между катушками будет только индуктивной.

Напряжение с контура L8C10 фильтра промежуточной частоты (в исходном варианте он был контуром L6C11) подается на управляющую сетку лампы V2 (6К4П) усилителя ПЧ. Начальное напряжение смешения на управляющей сетке этой лампы создается катодным резистором R7, зашунтированным конденсатором С23. Нагрузкой лампы V2 служит контур L15C24, настроенный, как и контуры L7C9 и L8C10 преобразовательного каскада, на частоту 465 кГц. С ним связан индуктивно точно такой же контур L16C25. Колебания промежуточной частоты с этого контура подаются на диод V3 и детектируются им. Нагрузкой детектора служит резистор R11. Напряжение звуковой частоты, создающееся на нем, через конденсатор С27 подается на вход усилителя 3Ч, лампа 6ЖЗП которая теперь должна работать как предварительный усилитель колебаний 3Ч. Резистор R10 и конденсатор С26 образуют ячейку фильтра цепи детектора.

Как же осуществляется автоматическое регулирование усиления? За счет тока в цепи детектора. Во время радиоприема через резисторы R10 и R11 идет постоянная составляющая продетектированного сигнала, которая создает на цепочке этих резисторов некоторое напряжение с отрицательной полярностью на верхнем (по схеме) конце ее. Это напряжение находится в прямой зависимости от силы сигнала принимаемой радиостанции; чем сильнее сигнал радиостанции, тем значительнее это напряжение. Управляющие сетки ламп V1 и V2 соединены с концом цепочки резисторов R10, R11, на которой действует минус напряжения относительно противоположного конца ее, соединенного с заземленным проводником. Значит, и на управляющих сетках этих ламп относительно их катодов действует изменяющееся отрицательное напряжение, смещающее их рабочие точки. При сильных сигналах станции напряжение смещения возрастет, а усиление автоматически падает. При слабых же сигналах, наоборот, напряжение смещения уменьшается, а усиление автоматически возрастает. Резисторы R9, R8 и R2, через которые на управляющие сетки ламп V1 и V2 подастся напряжение АРУ, в сочетании с конденсаторами С19 и С20 образуют фильтры, не пропускающие к сеткам ламп составляющую 3Ч продетектированного сигнала. Конденсатор С7, которого не было в преобразователе исходного супергетеродина, нужен для того, чтобы постоянная составляющая сигнала АРУ не замыкалась на общий минус питания цепей приемника через контурные катушки.

Я должен тебя предупредить: система АРУ не повышает общее усиление, которое дает приемник, а лишь автоматически поддерживает на некотором среднем уровне чувствительность приемника и, следовательно, громкость звуковоспроизведения.

Катушки средневолнового и длинноволнового диапазонов остаются такими же, как в супергетеродине по схеме на рис. 237. Катушки коротковолнового диапазона намотай на картонные гильзы диаметром 18–20 мм, например от патронов охотничьего ружья (рис. 241).

Рис. 241. Катушки КВ диапазона

Катушка L2 должна содержать восемь витков провода ПЭВ-1 0,6–0,8, катушка L9 семь с половиной витков такого же провода. Их витки укладывай на каркасы с таким расчетом, чтобы общая длина намотки составила 12 мм. Витки катушек L1 и L10 укладывай равными порциями по обе стороны от контурных катушек. Первая из них должна содержать 20–25 витков провода ПЭВ-1 или ПЭЛШО 0,12-0,15, вторая — шесть витков такого же провода.

Фильтр II ФПЧ каскада усиления промежуточной частоты точно такой же, как фильтр I ФПЧ преобразовательного каскада.

Дополняя простейший вариант лампового супергетеродина каскадом усиления промежуточной частоты, воспользуйся схемой монтажа, показанной на рис. 242.

Рис. 242. Размещение деталей трехдиапазонного супергетеродина с каскадом усиления промежуточной частоты

Лампа V2 этого каскада (6К4П) должна занять место бывшего сеточного детектора. Рядом с ней крепи второй полосовой фильтр промежуточной частоты (II ФПЧ), а возле него смонтируй панельку лампы 6ЖЗП. Она будет теперь лампой V4, а выходная лампа 6П1П — лампой V5 этого варианта приемника.

Переключатель диапазонов укрепи в подвале шасси с таким расчетом, чтобы проводники цепей управляющих сеток преобразовательной лампы были возможно короткими. При этом ось переключателя займет место оси верньерного механизма, а ось верньера придется перенести на место бывшего регулятора обратной связи.

В связи с тем, что лампа 6ЖЗП (V4) теперь будет работать только как предварительный усилитель 3Ч, на ее управляющую сетку надо подавать напряжение смещения, детали цепи обратной связи (рис. 237 — L7, R6) и конденсатор С12 следует исключить, а нагрузочный резистор (на рис. 237 — R7) лампы соединить непосредственно с ее анодом. Короче говоря, схема этого каскада должна принять вид, показанный на рис. 243 (цифры в скобках соответствуют нумерации деталей простейшего супергетеродина). В этом случае имеет смысл добавить и разъем Х3 для звукоснимателя, чтобы усилитель 3Ч приемника можно было использовать для воспроизведения грамзаписи.

Рис. 243. Каскад предварительного усиления звуковой частоты

В таком каскаде начальное смещение на управляющей сетке лампы создается автоматически падением напряжения на катодном резисторе R13. Конденсатор С29, шунтирующий этот резистор, устраняет отрицательную обратную связь по переменному току, снижающую усилительные свойства каскада.

При подключении к разъему Х3 пьезокерамического звукоснимателя и проигрывании грампластинки на резисторе R12 создается переменное напряжение звуковой частоты, которое усиливается лампой. Усиленный сигнал снимается с нагрузочного резистора R14 и далее через разделительный конденсатор С32 поступает на регулятор громкости.

Закончив переделку приемника, испытай сначала его усилитель 3Ч, проигрывая грампластинку. Затем, подключив антенну и заземление, настрой приемник на какую-либо радиостанцию в любом диапазоне и подстрой контуры фильтров промежуточной частоты, а затем займись сопряжением контуров преобразователя. На это время проводник цепи АРУ, идущий от управляющих сеток ламп V1 и V2 к резистору R10, временно переключи на заземленную панель шасси. А когда наладишь приемник, восстановишь эту цепь — приемник станет работать с системой АРУ.

Приступая к настройке и сопряжению контуров, антенну можешь подключить непосредственно к незаземленным статорным пластинам конденсатора С6 настройки входных контуров. Этим ты усилишь связь антенны с преобразователем частоты. Если на каком-то из диапазонов прием сигналов станций не получается, причиной тому неправильное включение выводов катушек гетеродина, из-за чего он не возбуждается. В этом случае надо поменять местами включение выводов катушки гетеродина неработающего диапазона.

Если же преобразователь или усилитель ПЧ вообще не работает, неполадки ищи с помощью пробников и измерительных приборов.

А если ламповый супергетеродин простейшего варианта (по схеме на рис. 237) вообще не подает признаков «жизни»? В таком случае раздели приемник символически на составляющие его части и, пользуясь пробниками и измерительными приборами, в каждой из них ищи неисправности.

Сначала удали из приемника все лампы, кроме сигнальной, включи питание и сразу же измерь напряжение на выходе фильтра выпрямители. Это напряжение должно соответствовать или быть близким указанному на принципиальной схеме приемника. Если оно мало, то отключи от выпрямителя плюсовой проводник цени питания анодов и экранирующих сеток ламп и снова измерь напряжение. Если и теперь напряжение мало или совсем его нет, значит, неисправность надо искать в деталях и цепях самого блока питания. В случае появления на выходе выпрямителя нормального напряжения после временного отключения от него проводника анодно-экранных цепей ламп, значит, в этих цепях надо искать короткозамкнутый участок или пробитый конденсатор.

Затем вставь в панельки все лампы. При этом напряжение на выходе выпрямителя несколько снизится. Коснись отверткой вывода управляющей сетки детекторной лампы. В динамической головке должен появиться громкий звук низкого тона (фон переменного тока), являющийся признаком работоспособности тракта звуковой частоты приемника.

Работоспособность радиочастотного каскада проверяй путем измерения напряжений на электродах его лампы, а входной контур на роботу его как контура детекторного приемника с (помощью универсального пробника).

Так, постепенно переходя от выхода ко входу, ты проверишь каждую часть приемника. В этом деле многое зависит от тебя самого. Если ты хорошо усвоил назначение каждой детали, работу каждого каскада и приемника в целом, ты успешно справишься с этой задачей.

* * *

Супергетеродин, будь он транзисторным или ламповым — безразлично, относится к приемникам повышенной сложности. Однако он будет чувствительным и селективным только в том случае, когда хорошо сопряжены входной и гетеродинный контуры по всему диапазону и тщательно настроены фильтры промежуточной частоты. А это не всегда удается сделать, не имея генератора стандартных сигналов, чувствительного индикатора выхода и некоторых других измерительных приборов. Но такие приборы есть в радиошколах и спортивно-технических клубах ДОСААФ, радиолабораториях станций и клубов юных техников, Домов и Дворцов пионеров и школьников. И если ты обратишься туда за помощью, тебе ее окажут.

Более 800 000 книг и аудиокниг! 📚

Получи 2 месяца Литрес Подписки в подарок и наслаждайся неограниченным чтением

ПОЛУЧИТЬ ПОДАРОК