Беседа 16 ЗНАКОМСТВО С АВТОМАТИКОЙ

Однажды, проводя занятия радиокружка, я попросил ребят вспомнить и назвать автоматически действующие устройства и приборы, с которыми им приходится встречаться дома. Любые: тепловые, механические, электрические, электронные. Поначалу кое-кто даже растерялся: автоматы на заводах — понятно, а дома?

Однако это было временным замешательством. Назвали массу вещей и систем, содержащих элементы автоматики: авторучка, часы, центральное отопление, водопроводный вентиль, электрохолодильник, сливной бачок туалетной комнаты, электросчетчик, электрозвонок, барометр, регулятор нагрева электроутюга, плавкий предохранитель электросети и многое другое. Да, все это автоматы, своеобразные роботы. Взять хотя бы плавкий предохранитель. Стоит превысить ток, на который он рассчитан, как он тут же накалится и расплавится — перегорит. А если вспомнить различные детские игрушки — каталки с заводными и электрическими двигателями, игры-аттракционы? В них ведь тоже заложена автоматика. Еще больше автоматики ты можешь увидеть в школе, особенно в мастерских и физическом учебном кабинете, на улице, в кинотеатре…

А какие электромеханические и электронные автоматы, полезные для дома, школы, можно сделать своими руками? Вот об этом-то и пойдет разговор в этой беседе.

Но прежде поговорим об электрических датчиках и электромагнитных реле, являющихся важнейшими элементами электронной автоматики. Начнем с фотоэлементов приборов, преобразующих световую энергию в электрическую.

ФОТОЭЛЕМЕНТЫ

Честь изобретения фотоэлемента принадлежит русскому ученому Александру Григорьевичу Столетову.

Будучи профессором физики Московского университета, А. Г. Столетов в 1888 г. провел такой опыт (рис. 244).

Рис. 244. Опытная установка А. Г. Столетова (справа рисунок из его сочинения, на котором А — дуговой фонарь; Б — батарея; С — два плоскопараллельных диска; G — гальванометр)

Неподалеку друг от друга он расположил металлический диск и тонкую металлическую сетку, укрепив их на стеклянных стойках. Диск соединил с отрицательным, а сетку — с положительным полюсами батареи. Между сеткой и батареей он включил чувствительный электроизмерительный прибор — гальванометр с зеркальцем на подвижной рамке вместо стрелки. Против гальванометра находился фонарик, а под ним полоса бумаги с делениями — шкала. Пучок света от фонаря направлялся на зеркальце гальванометра, а отраженный от него зайчик падал на шкалу. Даже при незначительном токе зеркальце гальванометра поворачивалось, заставляя световой зайчик бежать по делениям шкалы. На некотором расстоянии от диска и сетки А. Г. Столетов установил другой фонарь, свет которого, пронизывая сетку, освещал диск. Пока шторка дугового фонаря была закрыта, световой зайчик покоился на нуле шкалы. Но стоило шторку приоткрыть, как зайчик тотчас начинал перемещаться по шкале, указывая на наличие тока в, казалось бы, разорванной цепи.

Этот опыт позволил ученому сделать вывод: свет «рождает» электрический ток. Это явление мы теперь называем фотоэлектрическим эффектом (от греческого слова «фото» — свет и латинского слова «эффект» — действие). А. Г. Столетов, кроме того, экспериментальным путем доказал, что некоторые материалы под действием света подобно нагретому катоду радиолампы могут испускать электроны. В его опытах свет выбивал из металлического диска «рой» электронов, который притягивался положительно заряженной сеткой, образуя в цепи электрический ток. Этот ток мы сейчас называем фототоком.

В опытной установке А. Г. Столетов использовал два электрода, подобные электродам двухэлектродной лампы: диск — катод, сетка — анод. Когда диск освещался, в цепи возникал электрический ток, потому что в пространстве между электродами появлялся поток электронов, выбитых светом из диска-катода.

Такая установка и была первым в мире фотоэлементом. Значение фототока такого прибора зависело от свойств металла, из которого был сделан катод, напряжения батареи и освещенности катода.

Катоды современных фотоэлементов делают из полупроводников. При этом образование свободных электронов, способных вылетать из катодов, идет во много раз интенсивнее, чем при использовании катодов из металлов.

Характерным представителем первых светочувствительных приборов был фотоэлемент ЦГ-3, внешний вид и устройство которого показаны на рис. 245, а. Такие фотоэлементы использовались, например, в кинопроекторах для преобразования пучка света, направленного на фонограмму киноленты, в электрический сигнал звуковой частоты. Это небольшая шарообразная стеклянная колба с двумя металлическими цилиндриками — выводами электродов. На внутреннюю поверхность колбы нанесен тончайший слой серебра, называемый подкладкой, а поверх него — слой цезия (буква Ц в названии прибора). Это катод. Он соединен с выводом меньшего диаметра, обозначенным знаком минус. В центре колбочки на стержне укреплено металлическое кольцо — анод. Он соединен с выводом большого диаметра, который обозначают знаком плюс. Колба фотоэлемента наполнена нейтральным газом (буква Г в его названии), благодаря чему можно получить большой фототок. Объясняется это тем, что электроны, летящие от катода к аноду, сталкиваются по пути с атомами газа и выбивают из них новые электроны, которые также летят к аноду. Остатки атомов — положительные ионы — летят к катоду. В результате общее количество электронов, летящих к аноду, получается большим, чем в вакууме.

Возможная схема включения такого фотоэлектрического датчика в электрическую цепь показана на рис. 245, б.

Рис. 245. Газонаполненный фотоэлемент ЦГ-3 (а) и его включение в электрическую цепь (б)

Здесь V фотоэлемент; Rн - eгo нагрузка, Uи.п - источник высокого постоянного напряжения. Ток в цепи с фотоэлементом ЦГ-3 при сильной освещенности катода и напряжении на аноде 250 В не превышает 200 мкА. Но он почти в 200 раз больше тока при полном затемнении фотоэлемента. Это значит, что при перекрывании пучка света, направленного на фотоэлемент, фототок может измениться примерно от 1 до 200 мкА. Но ведь этот изменяющийся фототок можно усилить до значения, способного управлять другим электрическим прибором, например электродвигателем, включая его освещением и выключая затемнением фотоэлемента. Получится фотореле.

Фотоэлемент, о котором я сейчас рассказывал, относится к группе фотоэлементов с внешним фотоэффектом. Называют их так потому, что у них электроны под действием света вылетают из катода в окружающее их пространство.

Другая группа фотоэлементов — приборы с внутренним фотоэффектом. Это фоторезисторы, фотодиоды, фототранзисторы и некоторые другие светочувствительные приборы.

Фоторезистор (рис. 246) представляет собой тонкий слой полупроводника, нанесенный на стеклянную или кварцевую пластинку, запрессованную в круглый, овальный или прямоугольный пластмассовый корпус небольших размеров.

Рис. 246. Внешний вид (а), схематическое обозначение (б), устройство и включение (в) фоторезистора

Полупроводниковый слой с двух сторон имеет контакты для включения его в электрическую цепь. Электропроводность слоя полупроводника изменяется в зависимости от его освещенности: чем сильнее он освещен, тем меньше его сопротивление и, следовательно, больше ток, который через него проходит. Таким образом, этот прибор под действием света, падающего на него, также может быть использован для автоматического включения и выключения различных электрических приборов, механизмов.

Фотодиод, являющийся светочувствительным элементом с запирающим слоем, по своему устройству напоминает плоскостной полупроводниковый диод (рис. 247).

Рис. 247. Внешний вид (а), обозначение на схемах (б), устройство и схема включения (в) фотодиода

На пластину кремния с электронной электропроводностью наплавлен тонкий слой бора. Проникая в кремний, атомы бора создают в нем зону, обладающую дырочной электропроводностью. Между ними обращается электронно-дырочный переход. Снизу на слой типа n нанесен сравнительно толстый контактный слой металла. Поверхность слоя типа р покрыта тончайшей, почти прозрачной пленкой металла, являющейся контактом этого слоя.

Действует фотодиод так. Пока он не подвергается световому облучению, его запирающий слой препятствует взаимному обмену электронов и дырок. При облучении свет проникает сквозь прозрачную пленку в слой р и рождает в нем электронно-дырочные пары. Дырки остаются в слое р, электроны переходят в слой n. В результате верхний электрод заряжается положительно, а нижний — отрицательно. Если к этим электродам присоединить нагрузку, то через нее потечет постоянный ток. Следовательно, фотодиод является прибором, в котором световая энергия превращается непосредственно в электрическую.

Ты, вероятно, видел, а может быть, и сам имеешь фотоэкспонометр — прибор для определения выдержки при фотосъемке. Важнейшей частью этого прибора является кремниевый фотодиод. К нему подключен чувствительный гальванометр, по отклонению стрелки которого и определяют освещенность снимаемого предмета.

Фотодиод, имеющий площадь поверхности светочувствительного слоя около 1 см2, при прямом солнечном освещении может дать ток примерно 20–25 мА при напряжении около 0,5 В. Но ведь фотодиоды, как и гальванические элементы, можно соединять в батареи, чтобы получать большие напряжения и токи. Примерно так устроены, например, солнечные батареи, устанавливаемые на космических кораблях для питания аппаратуры.

Перспективы применения фотодиодов очень и очень заманчивы. И не только в автоматике. В жарких южных районах, например, где обилие солнечного света, от фотобатарей с большими площадями можно получать огромное количество электроэнергии. Из фотобатарей можно даже делать кровли домов: днем под действием света они будут заряжать аккумуляторные батареи, а по вечерам накопленная электроэнергия будет использоваться для освещения.

Фототранзисторы — светочувствительные приборы, основой которых служат транзисторы. Почти любой биполярный транзистор может быть превращен в фототранзистор. Дело в том, что у транзистора ток коллектора сильно зависит от освещенности коллекторного р-n перехода. Чтобы в этом убедиться, осторожно спили верхнюю часть корпуса низкочастотного транзистора, например серии МП39-МП42, включи транзистор в цепь постоянного тока и освети его (рис. 248).

Рис. 248. Фототранзистор и схема era включения

Если в коллекторную цепь включить миллиамперметр, он при сильном освещении кристалла транзистора покажет возрастающий до нескольких миллиампер коллекторный ток. Это свойство транзисторов, аналогичное свойствам фотоэлементов с внутренним фотоэффектом, широко используется радиолюбителями-экспериментаторами в самодельных приборах-автоматах.

Чем мощнее такие фотоэлементы и сильнее источники света, тем значительнее изменения коллекторных токов, тем эффективнее работа приборов.

У транзистора серии П213, например, при освещении его кристалла электролампой мощностью 75-100 Вт коллекторный ток возрастает до 1 А и больше. Такой ток достаточен для питания, например, малогабаритного электродвигателя «Пионер», начинающего автоматически работать при освещении фоторезистора.

ЭЛЕКТРОМАГНИТНЫЕ РЕЛЕ

Электромагнитное реле — это электромеханический прибор, который может управлять каким-либо другим электрическим прибором (механизмом) или электрической цепью. Схематическое устройство и принцип работы электромагнитного реле иллюстрирует рис. 249. Реле представляет собой стержень из мягкого железа — сердечник, на который насажена катушка, содержащая большое число витков изолированного провода. На Г-образном корпусе, называемом ярмом, удерживается якорь пластинка тоже мягкого железа, согнутая под тупым углом. Сердечник, ярмо и якорь образуют магнитопровод реле. На ярме же укреплены пружины с контактами, замыкающие и размыкающие питание исполнительной цепи, например цени питания сигнальной лампы накаливания Н1. Пока ток через обмотку реле не идет, якорь под действием контактных пружин находится на некотором расстоянии от сердечника. Как только в обмотке появляется ток, его магнитное поле намагничивает сердечник и он притягивает якорь. В этот момент другой конец якоря налавливает на контактные пружины и замыкает исполнительную цепь. Прекращается ток в обмотке исчезает магнитное поле, размагничивается сердечник, и контактные пружины, выпрямляясь и разрывая цепь исполнения, возвращают якорь реле в исходное положение.

В зависимости от конструктивных особенностей контактных пружин различают реле с нормально разомкнутыми, нормально замкнутыми и перекидными контактами. Нормально разомкнутые контакты при отсутствии тока в обмотке реле разомкнуты (рис. 249, а), а при токе в обмотке они замыкаются. Нормально замкнутые контакты, наоборот, при отсутствии тока в обмотке замкнуты (рис. 249, б), а при срабатывании реле они размыкаются. У перекидных контактов (рис. 249, в) средняя пружина, связанная с якорем и при отсутствии тока замкнутая с одной из крайних пружин, при срабатывании реле перекидывается на другую крайнюю пружину и замыкается с ней.

Рис. 249. Схематическое устройство, включение и обозначение электромагнитного реле и его контактов

Многие реле имеют не одну, а несколько групп контактных пружин, позволяющих с помощью импульсов тока, создающихся в обмотке реле, управлять на расстоянии несколькими цепями исполнения одновременно, что и используется в автоматике.

На принципиальных схемах обмотки электромагнитных реле обозначают прямоугольником и буквой К с цифрой порядкового номера реле в устройстве.

Контакты этого реле обозначают той же буквой, но с двумя цифрами, разделенными точкой: первая цифра указывает порядковый номер реле, а вторая — порядковый номер контактной группы этого реле.

В зависимости от назначения электромагнитные реле имеют разные конструкции корпусов и якорей, пружинных контактов, различные данные обмоток. Но принцип работы всех реле одинаков: при некотором значении тока, протекающего через обмотку, реле срабатывает и его якорь, притягиваясь к намагниченному сердечнику, замыкает или размыкает контакты исполнительной цепи.

Для автоматически действующих устройств, о которых речь пойдет в этой и некоторых других беседах, а также для аппаратуры телеуправления, которой будет посвящена специальная беседа, желательно использовать малогабаритные реле постоянного тока, например РЭС-9, РЭС-10, РСМ (рис. 250).

Рис. 250. Электромагнитное реле типа РСМ

Основные данные таких реле приведены в приложении 12.

Основной характеристикой электромагнитного реле является его чувствительность мощность тока, потребляемого обмоткой, при которой реле срабатывает. Чем меньше электрическая мощность, необходимая для срабатывания реле, тем реле чувствительнее.

Пригодность реле для того или иного автоматического устройства обычно оценивают тем минимальным значением тока, при котором оно срабатывает. Если сравнить два реле, одно из которых срабатывает при потребляемой мощности 80 мВт, а второе при мощности 40 мВт, то второе реле считается более чувствительным, чем первое. Как правило, обмотка более чувствительного реле содержит большее число витков и имеет большее сопротивление.

Для наших целей нужны будут реле, надежно срабатывающие при токе 6-10 мА и напряжении источника питания 4,5–9 В, что соответствует мощности 27–90 мВт. Сопротивление обмоток таких реле должно быть 120–700 Ом. Этим требованиям могут отвечать, например, реле РЭС-10 с паспортом РС4.524.302 или РС4.524.303. Сопротивление обмотки первого из этих реле 630, второго 120 Ом.

Для проверки электромагнитного реле, паспортные данные которого тебе неизвестны, можно воспользоваться батареями GB1 напряжением 9-12 В (две-три батареи 3336Л) и GB2 — напряжением 4,5 В (батарея 3336Л), переменным резистором R сопротивлением 1–1,5 кОм, миллиамперметром РА на ток 20–30 мА, сигнальной лампой Н (индикатором) на напряжение 3,5 В (рис. 251).

Рис. 251. Схема проверки электромагнитного реле

При замыкании контактов К1.1 лампа Н загорается, а при размыкании гаснет. Изменяя сопротивление цепи резистором R и следя за показаниями миллиамперметра, легко определить токи, соответствующие моментам срабатывания и отпускания реле. Эти сведения облегчат и ускорят работы по налаживанию приборов-автоматов.

У большинства реле якорь возвращается в исходное положение при давлении на него контактных пружин. Если пружины немного отогнуть, чтобы они слабее давили на якорь, то чувствительность реле несколько улучшится. Таким способом можно подгонять токи срабатывания и отпускания реле.

Электромагнитное реле может быть и самодельным. Внешний вид и чертежи деталей реле, с изготовлением которого ты, полагаю, можешь справиться, показаны на рис. 252.

Рис. 252. Самодельное электромагнитное реле

Его конструкция и размеры напоминают реле типа РСМ. Разница между ними заключается в основном лишь в креплении пружинных контактов: у реле РСМ запрессованы в пластмассовое основание, а здесь они зажаты между изоляционными прокладками и прикреплены винтами к корпусу-ярму.

Как и промышленное, самодельное реле состоит из следующих деталей: обмотки электромагнита 1 с сердечником 2, якоря 3 со скобой 4, контактных пружин 5 со стопорными пластинами 6, выводных пластин 8 (7 — изоляционные прокладки), ярма 9. Изготовление реле начинай с ярма, используя для него хорошо отожженную листовую сталь толщиной 1,2–1,5 мм. Сердечник электромагнита можно выточить из керна подходящего телефонного реле или мягкой, хорошо отожженной стали. Щечки 10 обмотки электромагнита вырежь из любого изоляционного материала, включая хорошо проклеенный картон толщиной 0,5–0,8 мм. Насади щечки на сердечник, после чего поверхность сердечника и щечек покрой тонким слоем клея БФ-2. После высыхания клей станет изолятором и одновременно скрепит щечки. Для обмотки электромагнита используй провод ПЭВ-1 0,1. Намотку нужно стараться производить виток к витку до заполнения пространства между щечками. Чем большее число витков поместится на сердечнике, тем более чувствительным будет реле. Сопротивление аккуратно намотанной катушки электромагнита должно быть 200–220 Ом.

Якорь реле также делай из мягкой листовой стали толщиной 1,2–1,5 мм. Чтобы предотвратить залипание якоря из-за остаточного магнетизма сердечника, в верхней части его якоря, согласно чертежу, просверли отверстие диаметром 1 мм и вклепай в него медный штифт. Высота штифта со стороны сердечника должна быть 0,1–0,2 мм. К нижней части якоря клеем БФ-2 приклей толкатель, сделанный из органического стекла.

Сборку реле производи строго по чертежу. Чем плотнее сердечник будет прилегать к ярму, тем меньше будут потери в магнитопроводе и тем чувствительнее будет реле. Ход якоря в собранном реле может быть от 0,5 до 0,75 мм, в то время как ход средней контактной пружины в месте контакта должен быть равен 1 мм. Выводами обмотки реле служат латунные или жестяные пластинки. Реле крепи на монтажной плате с помощью гайки, навертывая ее на «хвостик» сердечника.

Собранное реле должно надежно срабатывать от источника постоянного тока напряжением 4,0–4,5 В (батарея 3336Л).

ЭЛЕКТРОННОЕ РЕЛЕ

И все же чувствительность электромагнитных реле, о которых я здесь рассказал, мала, чтобы реагировать на изменения тока в цепи фотоэлемента, фоторезистора или иного датчика электрических сигналов. Только так называемые поляризованные реле, обладающие очень высокой чувствительностью, могут срабатывать при малых мощностях электрических сигналов.

Невольно возникает вопрос: как повысить чувствительность электромагнитного реле? Сделать это можно с помощью транзисторных или ламповых усилителей электрических сигналов. Такие усилители в сочетании с электромагнитными реле называют электронными реле.

Схема простейшего электронного реле показана на рис. 253, а. Это обычный однотранзисторный усилитель тока, работающий в режиме переключения, на выход которого включено электромагнитное реле. В зависимости от структуры транзистора и полярности управляющего сигнала, поданного на вход усилителя, транзистор закрывается (для транзистора структуры р-n-р — при положительном напряжении на базе) либо, наоборот, открывается (при отрицательном напряжении на базе транзистора р-n-р). Когда транзистор закрыт, сопротивление его участка эмиттер-коллектор велико и ток коллектора не превышает 20–25 мкА, чего слишком мало для срабатывания реле. В это время контакты К1.1 реле К1 разомкнуты и исполнительная цепь не включена. Когда же транзистор открывается, сопротивление его участка эмиттер-коллектор резко уменьшается и ток коллектора возрастает до значения, необходимого для срабатывания реле — включается исполнительная цепь.

Запомни очень важное условие: для четкой работы электронного реле напряжение его источника питания должно быть на 20–30 % больше напряжения срабатывания используемого в нем электромагнитного реле.

В коллекторную цепь транзистора вместо электромагнитного реле можно включить иной электрический прибор, например, маломощный электродвигатель М, как показано на рис. 253, б. Получится бесконтактное электронное реле. В этом случае ротор электродвигателя станет вращаться всякий раз, когда открывается транзистор. Вполне понятно, что ток, проходящий через транзистор, не должен превышать допустимого для него значения.

Электронное реле — обязательный элемент большей части электронных автоматов, включающих и выключающих те или иные исполнительные механизмы.

Рис. 253. Схема электронного реле

ФОТОРЕЛЕ

Ток светочувствительного элемента, изменяющийся под действием падающего на него света, мал. Но если этот ток усилить, а на выход усилителя включить электромагнитное реле, то получится фотореле — устройство, позволяющее при изменении силы света, падающего на его светочувствительный элемент, управлять различными другими приборами или механизмами.

Структурная схема такого автоматически действующего устройства и графики токов, иллюстрирующие его работу, изображены на рис. 254.

Рис. 254. Структурная схема фотореле, в котором функцию светочувствительного элемента выполняет фоторезистор

Допустим, что фоторезистор R (на его месте может быть любой другой фотоэлемент) затемнен, например закрыт рукой. В это время (на графиках — участки Оа) ток цепи фотоэлемента Iф и ток усилителя Iу малы, а ток в исполнительной цепи вообще отсутствует, так как контакты К1.1 реле К1 разомкнуты. Если теперь открыть фотоэлемент или направить на него пучок света, токи фотоэлемента и усилителя резко увеличатся (на графиках — участки аб), сработает электромагнитное реле и своими контактами включит цепь питания механизма исполнения. Но стоит снова затемнить фотоэлемент, как тут же разомкнется (или переключится) цепь исполнения.

Главное в работе фотореле — перепад тока, заставляющий срабатывать электромагнитное реле. При этом в зависимости от выбранного усилителя электромагнитное реле может срабатывать не при освещенном, а, наоборот, при затемненном фотоэлементе. Итог же один — свет, падающий на фотоэлемент, управляет цепью исполнительного механизма, которым могут быть электродвигатель, система освещения, приборы и многое другое.

Предлагаю для экспериментов и конструирования три варианта фотореле с разными светочувствительными датчиками.

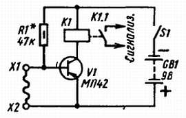
Схема первого варианта фотореле приведена на рис. 255, а. В нем в качестве фотоэлемента используется маломощный низкочастотный транзистор V1 (МП39-МП42). Отбери транзистор с коэффициентом h21Э не менее 50 и с возможно меньшим током IКБО. Верхнюю часть корпуса транзистора осторожно спили лобзиком, а затем поверхность кристалла очисти от попавших на нее металлических опилок. Во избежание попадания пыли и влаги на кристалл корпус необходимо закрыть тонкой прозрачной полиэтиленовой или лавсановой пленкой. Получается фототранзистор.

Как работает такой вариант фотореле? В исходном состоянии, когда светочувствительный элемент затемнен, оба транзистора закрыты. При освещении кристалла транзистора V1 обратное сопротивление его коллекторного перехода уменьшается, что ведет к резкому возрастанию тока коллектора. Этот ток усиливается транзистором V2. При этом реле К1, являющееся нагрузкой транзистора V2, срабатывает и своими контактами К1.1 включает цепь управления.

Регулировка фотореле сводится к установке режимов работы транзисторов. Надо, подобрать такое сопротивление резистора R1, чтобы при затемненном фототранзисторе через обмотку реле протекал ток 5–8 мА. Резистор R2 в этом автомате выполняет роль ограничителя тока базовой цепи транзистора V1, a R4 — в коллекторной. Электромагнитное реле К1 может быть типа РСМ, РЭС с обмоткой сопротивлением 200–700 Ом или самодельное.

Фотореле будет работать значительно лучше, если световой поток будет попадать на фототранзистор через небольшую линзу, в фокусе которой находится его кристалл.

Схема второго варианта фотореле показана на рис. 255, б. Оно отличается от первого варианта фотореле в основном лишь тем, что в нем светочувствительным датчиком служит фоторезистор R1. Включен он в цепь базы транзистора V1 последовательно с резистором R2, ограничивающим ток в этой цепи. Темновое сопротивление фоторезистора велико. Коллекторный ток транзистора в это время мал. При освещении фоторезистора его сопротивление уменьшается, что приводит к увеличению тока базовой цепи. Возросший и усиленный двумя транзисторами фототок течет через обмотку электромагнитного реле К1 и заставляет его срабатывать — контакты К1.1 включают цепь управления. Для такого варианта фотореле можно использовать фоторезисторы типов ФСК-1, ФСК-2. Электромагнитное реле должно быть рассчитано на ток срабатывания 10–12 мА (сопротивление обмотки 200–400 Ом).

В третьем варианте фотореле, схема которого изображена на рис. 255, в, роль датчика выполняет фотодиод V1 типа ФД-1 или ФД-2.

Рис. 255. Варианты фотореле

Электромагнитное реле К1 такое же, как в первых вариантах фотореле. Здесь фотоэлемент и резистор R1 образуют делитель напряжения источника питания, с которого на базу транзистора V2 подается отрицательное напряжение смещения. Пока фотодиод не освещен, его обратное сопротивление (а включен он в цепь делителя в обратном направлении) очень большое. В это время напряжение смещения на базе транзистора определяется в основном только сопротивлением резистора R1. Транзистор V2 при этом открыт, а транзистор V4 закрыт. Контакты К1.1 реле К1 разомкнуты. Но стоит осветить фотодиод, как тут же его обратное сопротивление и падение напряжения на нем уменьшатся, отчего транзистор V2 почти закроется, а транзистор V4, наоборот, откроется. При этом реле К1 сработает и его контакты К1.1, замыкаясь, включат исполнительную цепь. При затемнении фотодиода его обратное сопротивление вновь увеличится, транзистор V2 откроется, транзистор V4 закроется, а реле К1, отпуская, своими контактами разорвет исполнительную цепь.

Какова в этих фотореле роль диодов V3, шунтирующих обмотки электромагнитных реле? В те моменты времени, когда транзистор усилителя переходит из открытого состояния в закрытое и ток коллекторной цепи резко уменьшается, в обмотке реле возникает электродвижущая сила самоиндукции, поддерживающая убывающий ток в коллекторной цепи. При этом мгновенное суммарное напряжение ЭДС самоиндукции и источника питания электронного реле значительно превышает максимальное допустимое напряжение на коллекторе и р-n переходы транзистора могут быть пробиты. По отношению к источнику питания автомата диод включен в обратном направлении, а по отношению к ЭДС самоиндукции в прямом и, следовательно, гасит ее, предотвращая тем самым порчу транзисторов. Диод может быть как точечным, так и плоскостным, с обратным напряжением не менее 30 В.

Питать фотореле и освещающую его лампу можно как от батарей, так и от выпрямителя с выходным напряжением 9-12 В. Выпрямитель можно смонтировать в том же светонепроницаемом ящичке (рис. 256), где будет само фотореле. Прямой посторонний яркий свет не должен попадать на датчик фотореле.

Рис. 256. Конструкции фотореле и осветитeля

Четкость срабатывания любого из фотореле, о которых я здесь тебе рассказал, в значительной степени зависит от его осветителя. Наиболее эффективно фотореле будет работать, если осветитель дает узкий и яркий пучок света в направлении точно на фотоэлектронный датчик. Осветитель можно сделать в виде металлический или картонной трубки длиной 120–220 и диаметром 28–30 мм. Внутри трубки на одном конце укрепи малогабаритную лампу накаливания, рассчитанную на напряжение 9-12 В (например, автомобильную), а на другом собирательную линзу (например, круглое очковое стекло) с фокусным расстоянием 100–120 мм. Взаимное расположение линзы и лампы в осветителе подбери опытным путем так, чтобы свет выходил из осветителя узким пучком.

Как можно использовать фотореле? По-разному. Можно, например, фотореле установить у входа в школу, чтобы оно включало светящуюся надпись: «Добро пожаловать». Или смонтировать его перед стенной газетой, чтобы автоматически включалась подсветка газеты, когда к ней подходят ребята. Его можно установить на модели конвейера, имитирующего погрузку ящиков с готовой продукцией. Всякий раз, когда «ящик» пересекает луч света, срабатывает электромеханический счетчик, включенный в исполнительную цепь, или вспыхивает сигнальная лампа.

Вообще же фотореле является полезнейшим учебно-наглядным пособием для физического кабинета школы. Большим успехом оно будет пользоваться и на вечерах, посвященных технике сегодняшнего дня.

АВТОМАТ ВКЛЮЧЕНИЯ УЛИЧНОГО ОСВЕЩЕНИЯ

Датчик фотореле можно разместить и на улице, защитив его от прямого попадания искусственного света. Тогда реле будет срабатывать с наступлением ночного времени суток и автоматически включать питание лампы уличного освещения или лестничной клетки, а утром выключать ее.

Принципиальную схему возможного варианта такого автомата ты видишь на рис. 257. Он аналогичен фотореле по схеме на рис. 255, б, но более чувствителен, так как для его питания используется более высокое напряжение — около 18 В.

Рис. 257. Схема автомата включения освещения

Контакты К1.1 электромагнитного реле К1, используемого в автомате, нормально замкнутые. В ночное и вечернее время суток фоторезистор R1 (ФСК-1) освещен очень слабо и его сопротивление составляет несколько сотен килоом. При этом коллекторные токи транзистора V1, в базовую цепь которого включен фоторезистор, и транзистора V2, база которого соединена непосредственно с эмиттером первого транзистора, не превышает тока опускания электромагнитного реле К1. В это время осветительная лампа Н1, подключенная к электроосветительной сети через нормально замкнутые контакты К1.1 реле, горит.

С наступлением рассвета фоторезистор освещается все сильнее и его сопротивление уменьшается до 80-100 кОм. При этом коллекторные токи транзисторов усилителя увеличиваются. При токе 20–25 мА реле срабатывает и его контакты, размыкаясь, разрывают цепь питания осветительной лампы. А вечером, когда сопротивление фоторезистора снова начнет увеличиваться, а коллекторные токи соответственно уменьшаться, реле отпустит и замыкающимися контактами включит освещение.

Выпрямитель автомата двухполупериодный. Он выполнен на диодах V6-V9 серии Д226А (или Д7Ж), включенных по мостовой схеме. Выпрямленное напряжение сглаживается фильтрующим конденсатором С1 и стабилизируется двумя стабилитронами V4 и V5 серии Д809 (можно Д814Б), соединенными последовательно. Номинальное напряжение конденсатора С1 не должно быть меньше 25 В. Конденсатор С2, роль которого аналогична резистору, гасит избыточное напряжение переменного тока, подаваемое от сети к выпрямителю. Конденсатор должен быть бумажным на номинальное напряжение не менее 300 В. Для сети напряжением 127 В емкость его должна составлять 1 мкФ.

В автомате используются транзисторы серии МП26 (можно МП20, МП21, МП25 с любым буквенным индексом, МП40А), рассчитанные на более высокое, чем аналогичные им маломощные транзисторы, коллекторное напряжение. Реле K1 — типа РЭС-22 (паспорт РФ4.500.131), РСМ-1 (паспорт Ю.171.81.37) или другое с обмоткой сопротивлением. 650–750 Ом и нормально замкнутыми контактами.

Если автомат смонтирован из заведомо исправных деталей, то единственно, что, возможно, придется сделать дополнительно, это подобрать момент выключения осветительной лампы Н1, соответствующий определенной освещенности фоторезистора. Для увеличения задержки времени выключения осветительной лампы питающее напряжение автомата надо уменьшить на 3–4 В, а для уменьшения, т. е. более раннего выключения, наоборот, увеличить на 3–4 В. Это можно сделать при использовании в блоке питания стабилитронов с другими напряжениями стабилизации: в первом случае — стабилитронов Д808 или одного (вместо двух) стабилитрона Д813, во втором — трех стабилитронов Д808 или двух стабилитронов Д811 или Д814Г. Чувствительность автомата можно также регулировать подбором резистора R3.

РЕЛЕ ВЫДЕРЖКИ ВРЕМЕНИ

Если ты увлекаешься фотографией, то можешь сделать прибор, который бы автоматически включал лампу фотоувеличителя на время выдержки для печати. Такую автоматизацию включения и выключения того или иного устройства ты можешь сделать с помощью электронного реле выдержки времени.

Чтобы лучше разобраться в работе такого автомата, проведи опыт по схеме, изображенной на рис. 258.

Рис. 258. Опыт, иллюстрирующий принцип работы реле выдержки времени

При не нажатом кнопочном выключателе S1 вольтметр PU покажет отсутствие напряжения на обкладках конденсатора С1. Теперь нажми на несколько секунд кнопку S1 и внимательно наблюдай за поведением стрелки вольтметра. Отклоняясь от нуля, она остановится против деления шкалы, примерно соответствующего напряжения батареи GB1. Происходит это вследствие зарядки конденсатора. Чтобы изменить время отклонения стрелки прибора, т. е. время зарядки конденсатора, достаточно заменить этот конденсатор или резистор R1. Увеличишь, скажем, емкость конденсатора вдвое, стрелка будет в два раза медленнее отклоняться. Тот же эффект ты получишь, вдвое увеличив сопротивление резистора R1.

Что произойдет, если к обкладкам заряженного конденсатора подключить электронное реле на транзисторе с относительно большим входным сопротивлением? Увеличить входное сопротивление транзистора можно включением резистора R2 в цепь его эмиттера. Конденсатор станет разряжаться через эмиттерный переход и эмиттерный резистор R2 транзистора электронного реле. При этом транзистор откроется, реле К1 сработает и контактами К1.1 включит исполнительную цепь. Как только конденсатор разрядится, транзистор закроется, реле К1 отпустит и размыкающимися контактами разорвет исполнительную цепь. Время разрядки конденсатора, а значит, и время выдержки открытого состояния транзистора определяется емкостью конденсатора и сопротивлением цепи, через которую он разряжается. Таков принцип работы электронного реле выдержки времени.

Автомат выдержки времени для фотопечати можно собрать по схеме, изображенной на рис. 259.

Рис. 259. Схема реле выдержки времени

Оба транзистора автомата работают в режиме переключения, обеспечивая надежное срабатывание реле К1 при подаче на вход транзистора V1 напряжения около 2 В. Время срабатывания реле определяется временем разрядки конденсатора С1 через резисторы R2, R3, эмиттерный переход транзистора V1 и резистор R4. Изменяя сопротивление переменного резистора R3, можно устанавливать время выдержки примерно от 0,1 до 5 с.

Работает реле времени следующим образом. В исходном состоянии, когда контакты кнопочного выключателя S1 разомкнуты, напряжение на конденсаторе С1 равно нулю. В это время оба транзистора закрыты, ток через обмотку электромагнитного реле К1 практически не течет и его контакты К1.1, включающие питание лампы увеличителя Н1, разомкнуты. При кратковременном нажатии кнопки S1 конденсатор С1 заряжается и тут же начинает разряжаться через уже знакомые тебе цепи. С момента нажатия кнопки до момента, когда конденсатор С1 разрядится до напряжения 2 В, реле К1 остается включенным, замыкая своими контактами цепь питания лампы фотоувеличителя. Лампа выключится, как только напряжение на обкладках конденсатора С1 станет меньше 2 В. Чтобы снова включить лампу фотоувеличителя, надо опять нажать кнопку S1 пуска автомата. Время нажатия пусковой кнопки автомата входит в общее время выдержки.

Питается прибор от сети переменного тока через трансформатор Т1, понижающий напряжение сети до 10–12 В, и однополупериодный выпрямитель на диоде V3 серии Д226 или Д7 с любым буквенным индексом. Конденсатор С2 сглаживает пульсации выпрямленного напряжения.

Сетевой трансформатор Т1 наматывай на магнитопроводе из пластин Ш-16, толщина набора пластин 18 мм. Обмотка I, рассчитанная на напряжение сети 220 В, должна содержать 2800 витков провода ПЭВ-1 0,12 (для сети напряжением 127 В — 1600 витков), обмотка II — 100 витков провода ПЭВ-1 0,3. На выходе выпрямителя должно быть напряжение не менее 10 В.

Электромагнитное реле типа РЭС-10 (паспорт РС4.525.302, РС4.524.303) или самодельное. Данные остальных деталей автомата указаны на его схеме.

После того как реле времени смонтируешь и убедишься в его работоспособности, откалибруй переменный резистор R3. Калибровка резистора сводится к тому, что для положений его движка через каждые 10–15° по хронометру определяется время включения реле. Полученные данные нанеси в виде шкалы вокруг ручки резистора, снабженной стрелкой-указателем.

Только ли для фотопечати пригоден такой прибор-автомат? Нет, конечно, его можно приспособить для включения на заданное время других приборов, например электродвигателей моделей на выставке работ юных техников.

АКУСТИЧЕСКОЕ РЕЛЕ

Основой акустического или, что то же самое, звукового реле также служит электронное реле, а датчиком управляющих сигналов — микрофон или какой-либо другой преобразователь звуковых колебаний воздуха в электрические колебания низкой частоты.

Схема наиболее простого варианта такого электродного автомата приведена на рис. 260.

Рис. 260. Схема акустического реле

Рассмотри ее внимательно. Здесь многое, если не все, тебе должно быть знакомо. Микрофон В1 выполняет функцию датчика управляющих сигналов. Транзисторы V1 и V2 образуют двухкаскадный усилитель колебаний 3Ч, создаваемых микрофоном, а диоды КЗ и V4, включенные по схеме удвоения напряжения — выпрямитель этих колебаний. Каскад на транзисторе V5 с электромагнитным реле К1 в коллекторной цепи и накопительным конденсатором С4 в базовой цепи — это электронное реле. Лампа накаливания Н1, подключаемая к источнику питания контактами К1.1 реле К1, символизирует исполнительную (управляющую) цепь.

В целом автомат работает так. Пока в помещении, где установлен микрофон, сравнительно тихо, транзистор V5 электронного реле практически закрыт, контакты К1.1 реле К1 разомкнуты и, следовательно, лампа исполнительной цепи не светится. Это исходный дежурный режим работы автомата. При появлении звукового сигнала, например шума или громкого разговора, колебания звуковой частоты, созданные микрофоном, усиливаются транзисторами V1 и V2 и далее выпрямляются диодами V3, V4. Диоды включены так, что выпрямленное ими напряжение поступает на базу транзистора V5 в отрицательной полярности и одновременно заряжает накопительный конденсатор С4. Если звуковой сигнал достаточно сильный и накопительный конденсатор зарядится до напряжения 0,25-0,3 В, то коллекторный ток транзистора V5 увеличится настолько, что реле К1 сработает и его контакты К1.1 включают исполнительную цепь — загорится сигнальная лампа Н1.

Исполнительная цепь будет включена все время, пока на накопительном конденсаторе и на базе транзисторе V5 будет поддерживаться такое же или несколько большее отрицательное напряжение. Как только шум или разговор перед микрофоном прекратится, накопительный конденсатор почти полностью разрядится через эмиттерный переход транзистора, коллекторный ток уменьшится до исходного состояния, реле К1 отпустит, а его контакты, размыкаясь, обесточат исполнительную цепь.

Подстроечным резистором R1 можно изменять (как регулятором громкости) напряжение сигнала, поступающего от микрофона на вход усилителя 3Ч, и тем самым регулировать чувствительность акустического реле.

Функцию микрофона может выполнять абонентский громкоговоритель или телефонный капсюль ДЭМ-4М. Статический коэффициент передачи тока транзисторов должен быть не менее 30. Электромагнитное реле может быть типа РЭС-9, РЭС-10, РКН с током срабатывания до 30–40 мА. Напряжение источника питания должно быть на 25–30 % больше напряжения срабатывания подобранного электромагнитного реле. Сопротивление и мощность рассеяния резистора R7, зависящие от используемой сигнальной лампы Н1, рассчитай сам.

Приступая к налаживанию и испытанию акустического автомата, движок подстроечного резистора R1 поставь в нижнее (по схеме) положение и подбором резистора R6 установи в коллекторной цепи транзистора V5 ток 2–4 мА. Он должен быть меньше тока отпускания электромагнитного реле. Затем параллельно резистору R6 подключи другой резистор сопротивлением 15–20 кОм. При этом коллекторный ток транзистора должен резко увеличиться, а реле сработать. Удали этот резистор — коллекторный ток должен уменьшиться до исходного значения, реле отпустить якорь, а лампа исполнительной цепи погаснуть. Так ты проверишь работоспособность электронного реле автомата. Коллекторные токи транзисторов V1 и V2 (1–1,5 мА) устанавливай подбором резисторов R2 и R4.

Затем движок резистора R1 установи в верхнее (по схеме) положение и негромко произнеси перед микрофоном протяжный звук «а-а-а» — автомат сработает и включит исполнительную цепь. Он должен реагировать даже на негромкий разговор перед микрофоном, на хлопок в ладоши.

Проведи такой опыт. Параллельно конденсатору С4 подключи второй электролитический конденсатор емкостью 100–200 мкФ на номинальное напряжение 6-10 В. В коллекторную цепь транзистора V5 включи миллиамперметр и, следя за его стрелкой, хлопни в ладоши. Что получилось? Коллекторный ток возрос, но электромагнитное реле не сработало. Хлопни в ладоши 5-10 раз подряд. С каждым хлопком коллекторный ток увеличивается и, наконец, реле срабатывает и включает исполнительную цепь. Если звуковые сигналы прекратить, то через некоторое время ток в коллекторной цепи транзистора уменьшится до исходного, реле отпустит и выключит исполнительную цепь.

О чем говорит этот опыт? Электромагнитное реле автомата стало срабатывать и отпускать с задержкой времени. Объясняется это тем, что теперь требуется больше времени как для зарядки накопительного конденсатора, так и для его разрядки. Вывод напрашивается сам собой: подбором емкости накопительного конденсатора можно регулировать время включения и выключения исполнительной цепи.

Где и как можно применить такое акустическое реле? Например, использовать его как автомат «Тише». Для этого сигнальную лампу исполнительной цепи надо поместить в ящичек, одна из стенок которого выполнена из матового стекла, и на нем сделана надпись «Тише». Как только уровень шума или громкость разговора в комнате превысит некоторый предел, установленный подстроечным резистором R1, световое табло тут же на него среагирует. Или, скажем, можно установить автомат вместе с малогабаритным микрофоном на самоходной модели или игрушке, а ее микроэлектродвигатель включить в исполнительную цепь вместо сигнальной лампы накаливания. Несколько хлопков в ладоши или команда голосом — и модель начинает двигаться вперед А еще как? Подумай!

Следующий пример автоматики…

ЭЛЕКТРОННЫЙ СТОРОЖ

Простейшее сторожевое устройство можно смонтировать по схеме, приведенной на рис. 261.

Рис. 261. Простейшее сторожевое устройство

Это опять-таки знакомое тебе электронное реле на транзисторе V1, между базой и эмиттером которого (зажимы X1 и Х2) включен охранный шлейф. Этот шлейф, обозначенный на схеме волнистой линией, представляет собой медный провод диаметром 0,1–0,12 мм, например ПЭВ-1 0,1, протянутый вдоль границы охраняемого объекта. Его сопротивление небольшое — всего 1,5–2 Ом на погонный метр. Поэтому можно считать, что база транзистора соединена с эмиттером непосредственно. Следовательно, пока шлейф дал, транзистор закрыт. Но вот кто-то, может быть собака, желая попасть в охраняемый объект, оборвала шлейф. При этом на базе транзистора оказывается отрицательное напряжение (подаваемое через резистор R1), транзистор открывается, электромагнитное реле К1 срабатывает и его контакты К1.1, замыкаясь, включают сигнализацию — электрозвонок, сирену или просто электролампу, питающуюся от электросети.

Вот, собственно, и все, что можно сказать о принципе работы такого сторожа. Сопротивление резистора R1 зависит от сопротивления шлейфа и коэффициента передачи тока h21Э используемого транзистора. Его надо подобрать таким, чтобы без подключенного шлейфа надежно срабатывало электромагнитное реле. Но с технической точки зрения наибольший интерес представляет сторожевое устройство, схему которого ты видишь на рис. 262.

Рис. 262. Усложненный вариант сторожевого устройства

Защитный шлейф этого устройства состоит из двух сложенных вместе тонких изолированных проводов (ПЭВ-1 0,1–0,12), оканчивающихся резистором R3. Другим концом он через зажимы X1 и Х2 включен в эмиттерную цепь транзистора V1. Этот транзистор совместно со сторожевым шлейфом и другими, относящимися к нему деталями, образуют генератор электрических колебаний, подобный гетеродину знакомого тебе преобразовательного каскада супергетеродинного приемника. Генерируемые им колебания частотой около 50 кГц через конденсатор С4 поступают на базу транзистора V2, усиливаются им и через конденсатор С6 подаются к выпрямителю на диодах V3 и V4, включенных по схеме удвоения выходного напряжения. Выпрямленное напряжение в отрицательной полярности поступает через резистор R4 на базу того же транзистора V2, резко уменьшает отрицательное напряжение смещения и, таким образом, закрывает его.

Это дежурный режим работы устройства, при котором потребляемый им ток от батареи питания не превышает 2–3 мА. Такое состояние устройства сохраняется, пока шлейф не поврежден. При обрыве одного из проводов шлейфа цепь питания транзистора V1 будет разорвана, а генерация сорвана. При этом резко увеличится отрицательное напряжение на базе транзистора V2, подаваемое на нее через резистор R5, транзистор откроется, реле К1 сработает и его контакты К1.1 включат систему сигнализации. То же произойдет и при замыкании проводов шлейфа. В этом случае эмиттер транзистора V1 окажется соединенным с общим (плюсовым) проводником цепи питания непосредственно, режим его работы нарушится, из-за чего генерация сорвется и контакты К1.1 реле включат сигнализацию.

В таком сторожевом устройстве надо использовать транзисторы с коэффициентом h21Э не менее 50, причем транзистор ГТ403 можно заменить любым другим транзистором средней мощности структуры р-n-р, например ГТ402, П201, П601. Электромагнитное реле К1 — с обмоткой сопротивлением 200–250 Ом, например РСМ-1 (паспорт Ю.171.81.43) или аналогичное другое, срабатывающее при напряжении не более 9 В. Дроссель L1 самодельный. Он состоит из 650–700 витков провода ПЭВ-1 0,1, намотанных на каркасе диаметром 10–12 мм между щечками, приклеенными к каркасу на расстоянии 20 мм одна от другой.

Резистор R5 надо подобрать так, чтобы при срыве генерации первого каскада устройства реле четко срабатывало, а во время генерации отпускало якорь.

И еще пример автоматики…

КОДОВЫЙ ЗАМОК

Замки с «секретом» в виде закодированного набора цифр известны давно. Механические замки такого типа ты, конечно, видел — они продаются в хозяйственных магазинах. Кодовые замки широко используются для автоматических камер хранения вещей на железнодорожных вокзалах, в аэропортах, в подъездах домов. Вообще же кодовые замки могут быть как электромеханическими, так и электронными. Исполнительным механизмом кодового замка может служить электромагнит, подвижный сердечник которого механически связан с защелкой дверного замка.

Схема наиболее простого электромеханического кодового замка показана на рис. 263: Y1 — электромагнит, S1-S6 — кнопочные переключатели, S7-S11 — тумблеры. Пульт кнопок, с помощью которых можно отвести защелку замка, находится с наружной, а тумблеры S7-S11 кодирования замка — с внутренней стороны двери. Чтобы электромагнит сработал и таким образом позволил открыть дверь, надо знать код замка и с учетом этого шифра одновременно нажать соответствующие ему кнопки.

Рис. 263. Электромеханический кодовый замок

Набор (установку) кода замка производят переводом контактов нескольких тумблеров из положения а в положение б. На рис. 263 в положение б переведены тумблеры S8 и S11, значит, для этого случая код нашего замка будет 2 и 5. И если ты, зная этот код, нажмешь одновременно кнопки S2 и S5, то цепь питания электромагнита окажется замкнутой, электромагнит сработает и его сердечник, втягиваясь в обмотку, оттянет защелку замка — дверь можно открывать.

А если кроме этих двух кнопок нажать еще какую-то кнопку? Эта третья кнопка разорвет цепь питания замка и электромагнит не сработает. Ну, а если одновременно нажать все кнопки? Если код тот же, то ничего не получится.

Трудность подбора нужного кода при попытке угадать его возрастет с увеличением числа кодирующих тумблеров и кнопок замка. Если число тумблеров и кнопок увеличить до десяти, то для расшифровки кода замка надо перебрать более тысячи вариантов. Однако и при пяти кнопках (32 варианта) код замка не так-то легко расшифровать.

А если придет человек, не знающий код замка? Для него есть кнопка S6 «Вызов». Если ее нажать, в помещении зазвенит звонок Н1. Но тебя как радиолюбителя должен, видимо, интересовать электронный кодовый замок. Ну что же, рекомендую замок с емкостной «памятью», разработанный знакомым мне радиолюбителем Н. А. Дробницей из г. Запорожье.

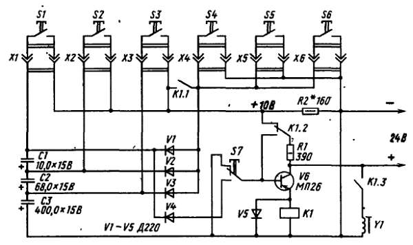
Схема такого кодового замка показана на рис. 264. Он состоит из трех электролитических конденсаторов С1-С3 разной емкости, являющихся «памятью» замка, четырех диодов V1-V4, транзистора V6 с электромагнитным реле К1 в эмиттерной цепи, семи кнопок SI — S7, шесть из которых входят в пульт управления замком, и электромагнита Y1, сердечник которого механически связан с защелкой дверного замка. Штепсельные разъемы X1-Х6 образуют кодировочный узел замка.

Рис. 264. Схема кодового замка с емкостной «памятью»

Кодирование осуществляется изменением порядка подключения кнопок пульта управления к штепсельным разъемам этого узла. Для питания замка используется двухполупериодный выпрямитель с выходным напряжением 24 В.

Исходное состояние элементов замка: контакты кнопок S1-S6 разомкнуты, транзистор закрыт, так как его база через нормально замкнутые контакты кнопки S7 соединена с плюсовым проводником источника питания, а его коллекторный резистор R1 и резистор R2 в общей минусовой цепи, соединенный через нормально замкнутые контакты К1.2 (реле К1), образуют делитель напряжения. В точке соединения резисторов делителя R1, R2 напряжение должно быть около 10 В.

Код замка трехзначный. Первая цифра кода соответствует номеру кнопки, подключенной к гнездовой части штепсельного разъема S1, вторая — номеру кнопки, подключенной к гнездовой части разъема Х2, третья — номеру разъема Х3. Показанный на схеме порядок подключения кнопок S1-S3 к кодировочному узлу соответствует коду 123. Незадействованные в коде кнопки S4-S6 подключены (в любом порядке) к гнездовым частям разъемов Х4-Х6. Чтобы замок открыть, надо последовательно, и только в порядке установленного кода, нажать кнопки S1-S3, а затем кнопку S7. Если ошибок нет, то, сработает электромагнит и дверь можно будет открыть.

При нажатии кнопок, соответствующих установленному коду, конденсаторы С1-С3 кодового замка заряжаются напряжением, поступающим на них с делителя R1, R2. Емкости конденсаторов и сопротивления резисторов делителя подобраны так, что при нажатии первой кнопки кода конденсатор С1 заряжается до 0,85 части этого напряжения (примерно 8.5 В), при нажатии второй кнопки кода до такого же напряжения заряжается конденсатор С2, а при нажатии третьей кнопки кода конденсатор С3 заряжается до полного напряжения, снимаемого с делителя R1, R2 (около 10 В). После правильного, набора кода суммарное напряжение на последовательно соединенных конденсаторах памяти составит 2,6 части этого напряжения, т. е. примерно 27 В. Если теперь нажать кнопку S7, то все это напряжение через диод V4 будет подано в отрицательной полярности на базу транзистора V6 и откроет его. Одновременно сработает реле К1, его контакты К1.3 включат питание электромагнита, контакты К1.2 переключат резистор R1 на базу транзистора (чтобы поддерживать его в открытом состоянии), а контакты К1.1, замыкаясь, через себя, диоды V1-V3 и резистор R2 разрядят конденсаторы С1-С3. При отпускании кнопки S7 база транзистора вновь окажется соединенной с плюсовым проводником цепи питания. Транзистор при этом закроется, электромагнитное реле отпустит якорь и устройство в целом примет исходное состояние. Если конденсаторы памяти имеют небольшие токи утечки, то напряжение на них, достаточное для срабатывания реле, электромагнита и открывания двери сохраняется не менее 3 мин. Это позволяет в случае ошибки, допущенной при наборе кода, нажать на одну из кнопок, не участвующих в коде, чтобы разрядить конденсаторы, и вновь правильно набрать код. В момент нажатия кнопки S7 суммарное напряжение на конденсаторах памяти обязательно должно быть больше удвоенного напряжения, снимаемого с делителя R1, R2 и больше напряжения срабатывания электромагнитного реле К1. При неполном наборе кода, например при нажатии только первой и третьей закодированных кнопок, это напряжение не превысит удвоенного напряжения делителя, что окажется недостаточным для срабатывания замка.

Оно будет мало и в том случае, если закодированные кнопки нажимать не в той последовательности. А если при попытке подбора кода будет нажата хотя бы одна из нескольких кнопок, заряженные конденсаторы тут же разрядятся через диоды V1-V3.

Конструкция замка показана на рис. 265.

Рис. 265. Монтаж электронной части кодового замка

Все детали, кроме кнопок, смонтированы на гнездовой части штепсельного разъема, являющейся одновременно и кодировочной колодкой замка. Штепсельная часть этого разъема распилена поперек на части, образующие двухполюсные штепсельные вилки разъемов Х1-Х6.

Для замка использованы: транзистор с коэффициентом h21Э не менее 20; электромагнитное реле типа РЭС-22 (паспорт РФ4.500.163); конденсаторы С1 и C3 - K53-1, С3 — ЭТО (можно заменить конденсатором К50-6); резисторы R1 и R2-MЛT; кнопки — микровыключателем КМ 1–1. Транзистор МП26 можно заменить аналогичным ему транзистором МП25, диоды Д220 — диодами Д219 с любым буквенным индексом. Кнопки могут быть любой конструкции, в том числе самодельными.

Электромагнит сделан из низкочастотного дросселя фильтра выпрямителя лампового радиоприемника (или телевизора). Обмотка дросселя должна иметь сопротивление постоянному току 20–25 Ом. Конструкция передельного магнитопровода дросселя (без каркаса с обмоткой) показана на рис. 266.

Рис. 266. Конструкция магнитопровода электромагнита кодового замка

Пакет Ш-образных пластин распилен по штриховым линиям. Его средняя часть используется как якорь 6, а боковые части и набор замыкающих пластин в качестве магнитопровода 1 тягового электромагнита. Части магнитопровода скреплены вместе с помощью металлических накладок и заклепок. Чтобы внутри каркаса с обмоткой, находящейся в магнитопроводе, якорь мог перемещаться без заметного трения, в его наборе на 4–5 пластин меньше, чем в наборе магнитопровода. Якорь электромагнита соединяют с ручкой защелки 4 дверного замка 3 тягой 5 из двух склепанных вместе полосок листовой стали толщиной 0,5–1 мм. Магнитопровод вместе с обмоткой крепят на стальной пластине 2 толщиной 2–2,5 мм, которую подкладывают под дверной замок и вместе с ним укрепляют на двери. Такой электромагнит при включении потребляет ток около 1 А. На такой ток должны быть рассчитаны и диоды выпрямителя, питающего этот вариант кодового замка.

Налаживание замка сводится к подбору резистора R2. Его сопротивление должно быть таково, чтобы при правильно набранном коде создающееся на нем падение напряжения заряжало конденсаторы памяти до напряжения четкого срабатывания электромагнитного реле. В то же время при нажатии только двух кнопок, соответствующих первой и третьей цифрам установленного кода, реле не должно срабатывать.

Где наиболее целесообразно установить кодовый замок? Лучше всего, пожалуй, на двери комнаты, где занимается технический кружок. Это, во-первых, интересно, и, во-вторых, удобно — каждый кружковец, зная код на день занятия, входит в комнату, не отвлекая от дела других.

Конструкция этого варианта кодового замка может быть, конечно, иной — все зависит от имеющихся деталей, творческой смекалки конструктора и, кроме того, от того, где предполагается его устанавливать. В любом случае электронную часть замка вместе с копировочной колодкой и выпрямителем можно смонтировать на одной общей плате подходящих размеров — гнездовой частью кодировочной колодки могут служить ламповые панельки, а штырьковыми частями разъемов — объединенные попарно отрезки медной луженой проволоки. Общее число разъемов и кнопок может быть не шесть, как в описанном замке, а больше, что значительно усложнит попытку подбора кода.

Для выпрямителя потребуется трансформатор мощностью 40–50 Вт, понижающий напряжение электроосветительной сети до 17–18 В при токе не менее 1 А. После двухполупериодного выпрямления напряжение вторичной обмотки и сглаживания пульсации выпрямленного напряжения на электронной части замка будет 24–25 В. О расчете самодельного сетевого трансформатора блока питания я рассказывал в одиннадцатой беседе.

Диоды выпрямителя, включаемые по мостовой схеме, могут быть серий КД202, КД206, Д242, Д243. Можно также использовать выпрямительный блок средней мощности КЦ402 или КЦ403 с буквенными индексами А-Е, что упростит монтаж выпрямителя. Электролитический конденсатор, сглаживающий пульсации выпрямленного напряжения, может быть емкостью 500-1000 мкФ на номинальное напряжение 50 В.

В футляре электронной части, сделанном из толстой фанеры, обязательно надо предусмотреть отверстие, прикрываемое крышкой или дверцей, необходимое для доступа к кодировочной колодке при смене кода.

Кодовые кнопки могут быть любыми. Важно лишь, чтобы их контакты надежно замыкались и размыкались без заеданий. Монтировать их желательно на одной общей планке и прикрыть сверху защитным кожухом с отверстиями против нажимных кнопок.

Ты правильно поступишь, если сначала подберешь все необходимые радиодетали, сделаешь электромагнит и, если надо, трансформатор выпрямителя, смонтируешь и испытаешь электронную часть на макетной панели и только после этого приступишь к окончательной сборке кодового замка. Если подобранный трансформатор окажется массивным, то блок питания, выполненный в виде самостоятельной конструкции, целесообразно укрепить на стене возле дверного проема и соединить его двухпроводным гибким кабелем с электронной частью и электромагнитом, размещенными на внутренней стороне двери.

* * *

Те приборы и устройства, с которыми я познакомил тебя в этой беседе, всего лишь небольшая часть примеров обширнейшей области техники — автоматики. И разговор о ней не окончен — он будет продолжен в следующей беседе, а также в беседе, посвященной телеуправлению моделями.

Более 800 000 книг и аудиокниг! 📚

Получи 2 месяца Литрес Подписки в подарок и наслаждайся неограниченным чтением

ПОЛУЧИТЬ ПОДАРОК