Беседа 12 УСИЛИТЕЛЬ ЗВУКОВОЙ ЧАСТОТЫ

Усилитель колебаний 3Ч — составная часть каждого современного радиоприемника, радиолы, телевизора или магнитофона. Усилитель является основой радиовещания по проводам, аппаратуры телеуправления, многих измерительных приборов, электронной автоматики и вычислительной техники, кибернетических устройств. Но в этой беседе я буду говорить о немногом: об элементах и работе транзисторных усилителей применительно к очень узкой области радиотехники — для усиления и преобразования электрических колебаний звуковой частоты в звук.

КАСКАДЫ УСИЛИТЕЛЯ

Усилительным каскадом принято называть транзистор с резисторами, конденсаторами и другими деталями, которые обеспечивают ему условия работы как усилителя. Усилитель, который ты делал к детекторному приемнику (см. рис. 92), был однокаскадным. Его транзистор может быть составным (см. рис. 95), но усилитель все равно останется однокаскадным. Но однокаскадный транзисторный усилитель не может обеспечить усиление сигнала звуковой частоты, достаточное для громкого звуковоспроизведения.

Для громкого воспроизведения колебаний звуковой частоты транзисторный усилитель должен быть минимум двух-трехкаскадным. В усилителях, содержащих несколько каскадов, различают каскады предварительного усиления и выходные, или оконечные, каскады. Выходным называют последний каскад усилителя, работающий на телефоны или динамическую головку громкоговорителя, а предварительными — все находящиеся перед ним каскады.

Задача одного или нескольких каскадов предварительного усиления заключается в том, чтобы увеличить напряжение звуковой частоты до значения, необходимого для работы транзистора выходного каскада. От транзистора выходного каскада требуется повышение мощности колебаний звуковой частоты до уровня, необходимого для работы динамической головки.

Для выходных каскадов наиболее простых транзисторных усилителей радиолюбители часто используют маломощные транзисторы, такие же, что и в каскадах предварительного усиления.

Объясняется это желанием делать усилители более экономичными, что особенно важно для переносных конструкций с питанием от батарей. Выходная мощность таких усилителей небольшая — от нескольких десятков до 100–150 мВт, но и ее бывает достаточно для работы телефонов или маломощных динамических головок. Если же вопрос экономии энергии источников питания не имеет столь существенного значения, например при питании усилителей от электроосветительной сети, в выходных каскадах используют мощные транзисторы.

Каков принцип работы усилителя, состоящего из нескольких каскадов?

Схему простого транзисторного двухкаскадного усилителя 3Ч ты видишь на рис. 173. Рассмотри ее внимательно.

Рис. 173. Двухкаскадный усилитель на транзисторах

В первом каскаде усилителя работает транзистор V1, во втором — транзистор V2. Здесь первый каскад является каскадом предварительного усиления, второй — выходным. Между ними — разделительный конденсатор С2. Принцип работы любого из каскадов этого усилителя одинаков и аналогичен знакомому тебе принципу работы однокаскадного усилителя. Разница только в деталях: нагрузкой транзистора V1 первого каскада служит резистор R2, а нагрузкой транзистора V2 выходного каскада — телефоны В1 (или, если выходной сигнал достаточно мощный, головка громкоговорителя). Смещение на базу транзистора первого каскада подается через резистор R1, а на базу транзистора второго каскада — через резистор R3. Оба каскада питаются от общего источника Uн. п, которым может быть батарея гальванических элементов или выпрямитель. Режимы работы транзисторов устанавливают подбором резисторов R1 и R3, что обозначено на схеме звездочками.

Действие усилителя в целом заключается в следующем. Электрический сигнал, поданный через конденсатор С1 на вход первого каскада и усиленный транзистором V1, с нагрузочного резистора R2 через разделительный конденсатор С2 поступает на вход второго каскада. Здесь он усиливается транзистором V2 и телефонами В1, включенными в коллекторную цепь транзистора, преобразуется в звук.

Какова роль конденсатора С1 на входе усилителя? Он выполняет две задачи: свободно пропускает к транзистору переменное напряжение сигнала и предупреждает замыкание базы на эмиттер через источник сигнала. Представь себе, что этого конденсатора во входной цепи нет, а источником усиливаемого сигнала служит электродинамический микрофон с малым внутренним сопротивлением. Что получится? Через малое сопротивление микрофона база транзистора окажется соединенной с эмиттером. Транзистор закроется, так как будет работать без начального напряжения смещения. Он будет открываться только при отрицательных полупериодах напряжения сигнала. А положительные полупериоды, еще больше закрывающие транзистор, будут им «срезаны». В результате транзистор станет искажать усиливаемый сигнал. Конденсатор С2 связывает каскады усилителя по переменному току. Он должен хорошо пропускать переменную составляющую усиливаемого сигнала и задерживать постоянную составляющую коллекторной цепи транзистора первого каскада. Если вместе с переменной составляющей конденсатор будет проводить и постоянный ток, режим работы транзистора выходного каскада нарушится и звук станет искаженным или совсем пропадет.

Конденсаторы, выполняющие такие функции, называют конденсаторами связи, переходными или разделительными.

Входные и переходные конденсаторы должны хорошо пропускать всю полосу частот усиливаемого сигнала — от самых низких до самых высоких. Этому требованию отвечают конденсаторы емкостью не менее 5 мкФ. Использование в транзисторных усилителях конденсаторов связи больших емкостей объясняется относительно малыми входными сопротивлениями транзисторов. Конденсатор связи оказывает переменному току емкостное сопротивление, которое будет тем меньшим, чем больше его емкость. И если оно окажется больше входного сопротивления транзистора, на нем будет падать часть напряжения переменного тока, большая, чем на входном сопротивлении транзистора, отчего будет проигрыш в усилении. Емкостное сопротивление конденсатора связи должно быть по крайней мере в 3–5 раз меньше входного сопротивления транзистора. Поэтому-то на входе, а также для связи между транзисторными каскадами ставят конденсаторы больших емкостей. Здесь используют обычно малогабаритные электролитические конденсаторы с обязательным соблюдением полярности их включения.

Таковы наиболее характерные особенности элементов двухкаскадного транзисторного усилителя 3Ч.

Для закрепления в памяти принципа работы транзисторного двухкаскадного усилителя 3Ч предлагаю смонтировать, наладить и проверить в действии несколько его вариантов.

ПРОСТОЙ ДВУХКАСКАДНЫЙ УСИЛИТЕЛЬ

Принципиальные схемы двух вариантов такого усилителя изображены на рис. 174. Они, по существу, являются повторением схемы разобранного сейчас транзисторного усилителя. Только на них указаны данные деталей и введены три дополнительных элемента: R1, С3 и S1. Резистор R1 — нагрузка источника колебаний звуковой частоты (детекторного приемника или звукоснимателя); С3 — конденсатор, блокирующий головку В1 громкоговорителя по высшим звуковым частотам; S1 — выключатель питания. В усилителе на рис. 174, а работают транзисторы структуры р-n-р, в усилителе на рис. 174, б — структуры n-р-n. В связи с этим полярность включения питающих их батарей разная: на коллекторы транзисторов первого варианта усилителя подается отрицательное, а на коллекторы транзисторов второго варианта - положительное напряжение. Полярность включения электролитических конденсаторов также разная. В остальном усилители совершенно одинаковые.

Рис. 174. Двухкаскадные усилители 3Ч на транзисторах структуры р-n-р (а) и на транзисторах структуры n-р-n (б)

В любом из этих вариантов усилителя могут работать транзисторы со статическим коэффициентом передачи тока h21Э 20–30 и больше. В каскад предварительного усиления (первый) надо поставить транзистор с большим коэффициентом h21Э. Роль нагрузки В1 выходного каскада могут выполнять головные телефоны, телефонный капсюль ДЭМ-4м или абонентский громкоговоритель. Для питания усилителя используй батарею 3336Л или сетевой блок питания (о котором я рассказал в предыдущей беседе).

Предварительно усилитель собери на макетной панели, чтобы всесторонне изучить и научиться налаживать его, после чего перенесешь его детали на постоянную плату.

Сначала на панели смонтируй детали только первого каскада и конденсатор С2. Между правым (по схеме) выводом этого конденсатора и заземленным проводником источника питания включи головные телефоны. Если теперь вход усилителя соединить с выходными гнездами детекторного приемника, настроенного на какую-либо радиостанцию, или подключить к нему звукосниматель и проиграть грампластинку, в телефонах появится звук радиопередачи или грамзаписи. Подбирая сопротивление резистора R2 (так же, как при подгонке режима работы однотранзисторного усилителя, о чем я рассказывал в седьмой беседе), добейся наибольшей громкости. При этом миллиамперметр, включенный в коллекторную цепь транзистора, должен показывать ток, равный 0,4–0,6 мА. При напряжении источника питания 4,5 В это наивыгоднейший режим работы транзистора.

Затем смонтируй детали второго (выходного) каскада усилителя, телефоны включи в коллекторную цепь его транзистора. Теперь телефоны должны звучать значительно громче. Еще громче, возможно, они будут звучать после того, как подбором резистора R4 будет установлен коллекторный ток транзистора 0,4–0,6 мА.

Можно, однако, поступить иначе: смонтировать все детали усилителя, подбором резисторов R2 и R4 установить рекомендуемые режимы транзисторов (по токам коллекторных цепей или напряжениям на коллекторах транзисторов) и только после этого проверять его работу на звуковоспроизведение. Такой путь более техничный. А для более сложного усилителя, а тебе придется иметь дело в основном именно с такими усилителями, он единственно правильный.

Надеюсь, ты понял, что мои советы по налаживанию двухкаскадного усилителя в равной степени относятся к обоим его вариантам. И если коэффициенты передачи тока их транзисторов будут примерно одинаковыми, то и громкость звучания телефонов — нагрузок усилителей должна быть одинаковой. Но, как я уже говорил, нагрузкой усилителя может быть телефонный капсюль ДЭМ-4м или абонентский громкоговоритель. Режим работы выходного транзистора при этом должен измениться. С капсюлем ДЭМ-4м, сопротивление которого 60 Ом, ток покоя транзистора каскада надо увеличить (уменьшением сопротивления резистора R4) до 4–6 мА, а с абонентским громкоговорителем (сопротивление первичной обмотки его согласующего трансформатора, используемого как выходной трансформатор, еще меньше) — увеличить до 8-10 мА.

Принципиальная схема третьего варианта двухкаскадного усилителя показана на рис. 175.

Рис. 175. Усилитель на транзисторах разной структуры

Особенностью этого усилителя является то, что в первом его каскаде работает транзистор структуры р-n-р, а во втором - структуры n-р-n. Причем база второго транзистора соединена с коллектором первого не через связующий конденсатор, как в усилителе первых двух вариантов, а непосредственно или, как еще говорят, гальванически. При такой связи расширяется диапазон частот усиливаемых колебаний, а режим работы второго транзистора определяется в основном режимом работы первого, который устанавливают подбором резистора R2. В таком усилителе нагрузкой транзистора первого каскада служит не резистор R3, а эмиттерный р-n переход второго транзистора. Резистор же нужен лишь как элемент смещения: создающееся на нем падение напряжения открывает второй транзистор. Если этот транзистор германиевый (МП35-МП38), сопротивление резистора R3 может быть 680–750 Ом, а если кремниевый (МП111-МП116, КТЗ15) — около 3 кОм.

К сожалению, стабильность работы такого усилителя при изменении напряжения питания или температуры невысока. В остальном все то, что сказано применительно к усилителям первых двух вариантов, относится и к этому усилителю.

Можно ли усилители питать от источника постоянного тока напряжением 9 В, например от двух батарей 3336Л, или, наоборот, от источника напряжением 1,5–3 В — от одного-двух элементов 332 или 316? Разумеется, можно: при более высоком напряжении источника питания нагрузка усилителя — головка громкоговорителя — должна звучать громче, при более низком — тише. Но при этом несколько иными должны быть и режимы работы транзисторов.

Кроме того, при напряжении источника питания 9 В номинальные напряжения электролитических конденсаторов С2 первых двух вариантов усилителя должны быть не менее 10 В. Пока детали усилителя смонтированы на макетной панели, все это нетрудно проверить опытным путем и сделать соответствующие выводы.

Смонтировать детали налаженного усилителя на постоянной плате — дело несложное. Для примера на рис. 176 показана монтажная плата усилителя первого варианта (по схеме на рис. 174, а).

Рис 176. Монтажная плата двухкаскадного усилителя

Плату выпили из листового гетинакса или текстолита толщиной 1,5–2 мм. Ее размеры, указанные на рисунке, примерные и зависят от габаритов имеющихся у тебя деталей. Например, на схеме мощность резисторов обозначена 0,125 Вт, емкости электролитических конденсаторов — по 10 мкФ. Но это не значит, что только такие детали надо ставить в усилитель. Мощности рассеяния резисторов могут быть любыми. Вместо электролитических конденсаторов К50-3 или K52-1, показанных на монтажной плате, могут быть конденсаторы К50-6, к тому же на большие номинальные напряжения. В зависимости от имеющихся у тебя деталей может измениться и монтажная схема усилителя.

О самом монтаже я уже говорил в девятой беседе. Если забыл, загляни в нее еще раз.

Любой из усилителей, о которых я рассказал в этой части беседы, пригодится тебе в будущем, например для портативного транзисторного приемника. Аналогичные усилители можно использовать и для проводной телефонной связи с живущим неподалеку приятелем.

ДВУСТОРОННИЙ ТЕЛЕФОН

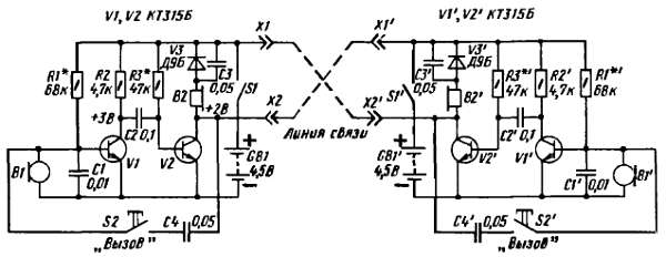
Схему аппаратуры для двухсторонней телефонной связи, о которой я хочу здесь рассказать, ты видишь на рис. 177.

Рис. 177. Схема двустороннего телефона

Слева приведена принципиальная схема первого аппарата, например твоего, справа второго — находящегося в доме твоего приятеля. Через разъемы X1, Х2 и Х1', Х2' аппараты соединены между собой двухпроводной линией связи (на схеме обозначена штриховыми линиями), длина которой может достигать 40–50 м. Разъем X1 первого аппарата должен соединяться с разъемом Х2' второго, а разъем Х2 — с разъемом Х1'. При невыполнении этого совершенно обязательного правила телефонная связь не состоится.

Телефонные аппараты, как видишь, идентичные, поэтому разберем работу лишь одного из них, например первого.

Его основой служит двухкаскадный усилитель 3Ч на кремниевых транзисторах структуры n-р-n. Оба транзистора включены по схеме ОЭ. Усилитель питается от батареи GB1 напряжением 4,5 В (батарея 3336Л или составленная из трех элементов 332 или 343). Разомкнутое положение контактов выключателя питания S1 соответствует дежурному режиму работы аппарата. Ко входу усилителя подключен микрофон В1. Колебания звуковой частоты, создаваемые им при разговоре, подаются непосредственно на базу транзистора V1 первого каскада. Усиленные им колебания снимаются с нагрузочного резистора R2 и далее через конденсатор С2 поступают на базу транзистора V2 для дополнительного усиления. Но нагрузкой этого, выходного транзистора усилителя служит не «свой» телефон В2, а телефон В2' второго аппарата — он-то и преобразует в звук низкочастотный сигнал, усиленный транзисторами первого аппарата.

Разберемся в особенностях выходной цепи усилителя телефонного аппарата. Следи за моим рассказом внимательно.

При включении питания выключателем S1 положительное напряжение батареи GBI подается на коллектор транзистора V2 через линейный провод, соединяющий разъемы X1 и Х2', телефон В2', открытый в это время диод V3' и далее через второй линейный провод, соединяющий разъемы Х1' и Х2. Диод V3' остается открытым все время, пока контакты выключателя S1 замкнуты. Конденсатор С3' шунтирующий диод V3', уменьшает падение переменной составляющей на его внутреннем сопротивлении, благодаря чему телефон B2' сигнал не искажает. А диод V3 первого аппарата в это время закрыт положительным напряжением питающей батареи и через него, а значит, и через телефон В2 коллекторный ток транзистора V2 не идет. Конденсатор С1 шунтирует вход усилителя по наиболее высоким частотам звукового диапазона и тем самым предотвращает самовозбуждение на этих частотах.

Точно так работает и второй телефонный аппарат. Но нагрузкой транзистора V2' выходного каскада его усилителя 3Ч служит цепь, состоящая из телефона В2, диода V3 и конденсатора С3 первого аппарата.

Но чтобы приятеля пригласить для телефонного разговора, ты должен подать ему соответствующий сигнал. Для этого надо не только включить питание усилителя, но и нажать еще кнопку S2 «Вызов». При этом между коллектором транзистора V2 и базой транзистора V1 включится конденсатор С4, который создаст между выходом и входом усилителя положительную обратную связь, благодаря которой усилитель превратится в генератор колебаний звуковой частоты. При этом телефон В2' второго аппарата издаст достаточно громкий звук средней тональности, приглашающий приятеля к телефону. Услышав этот сигнал, приятель должен включить питание своего аппарата и нажать кнопку S2'. Теперь в телефоне твоего аппарата появится ответный сигнал, после чего можно начать взаимный разговор.

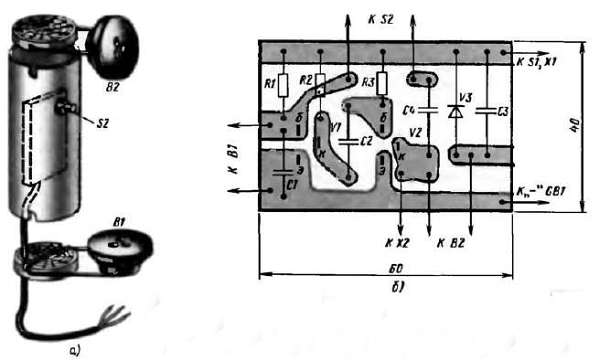
Возможная конструкция микротелефонной трубки (т. е. устройства, включающего в себя микрофон и телефонный капсюль) и плата усилителя аппарата показаны на рис. 178.

Рис. 178. Конструкция самодельной микротелефонной трубки (а) и плата усилителя телефонного аппарата (б)

В качестве микрофонов и телефонов используй капсюли высокоомных телефонов ТОН-1, ТОН-2. Транзисторы, кроме КТ315, могут быть серий МП35-МП38, МП111-МП113 со статическим коэффициентом передачи тока не менее 50 или маломощные высокочастотные серий КТ301, ГТ311. Диоды — любые из серий Д9 или Д2. Резисторы — MЛT на мощность рассеяния 0,25 или 0,5 Вт. Конденсаторы могут быть любых типов — БМ, МБМ, КПС. Монтаж может быть печатным или навесным.

Корпус трубки склей из нескольких слоев плотной бумаги или тонкого картона на деревянной болванке диаметром 40 мм. Полосу бумаги или картона шириной 140–145 мм наматывай плотно на болванку, смазывая каждый слой клеем БФ-2. После того, как каркас хорошо просохнет, станет жестким, зачисти его мелкой шкуркой, а затем пропитай каким-либо лаком или расплавленный парафином, чтобы сделать его влагоупорным. От той же болванки отпили два кружка толщиной по 20–25 мм и с помощью отрезков толстой проволоки укрепи на них микрофонный В1 и телефонный В2 капсюли. Кружки должны плотно входить в трубку и надежно удерживаться в ней. Плату усилителя (предварительно соединив ее с капсюлями кнопкой, укрепленной на корпусе, и трехжильным кабелем, идущим к выходным разъемам X1, Х2) и батареи питания GB1, оберни полоской поролона или пористой резиной и вставь в трубку. Батарею можно разместить в небольшой пластмассовой коробке и укрепить на ее стенках выключатель питания, а также гнездовую и штырьковую части разъемов для подключения линии связи.

Вполне понятно, что усилитель, прежде чем плату разместить в трубке, надо проверить и наладить. Для этого выводы диода V3 временно замкни проволочной перемычкой, включи питание и слегка постучи пальцем по микрофонному капсюлю — в телефоне должны прослушиваться звуки, напоминающие щелчки по барабану. Затем подбором сопротивления резистора R3 установи на коллекторе транзистора V2 напряжение около 2 В, а подбором сопротивления резистора R2 — напряжение на коллекторе транзистора V1, равное примерно 3 В. Измеряя напряжения, щуп отрицательного вывода вольтметра постоянного тока соединяй с общим проводником цепи питания. Если затем нажать кнопку «Вызов», в телефоне услышишь звук средней тональности (частотой около 1000 Гц). свидетельствующий о возбуждении усилителя. Желательный тон звука можно установить подбором емкости конденсатора С4. С увеличением емкости этого конденсатора тон звука будет понижаться, а с уменьшением емкости, наоборот, повышаться.

Так проверяют и, если надо, устанавливают рекомендуемые режимы работы транзисторов усилителей обоих телефонных аппаратов. После этого можно удалить проволочные перемычки. замыкающие диоды и вставить платы усилителей в трубки и, соединив телефонные аппараты между собой (точно по схеме на рис. 177), проверить их при совместной работе.

Такой телефон, как ты, надеюсь, догадался, можно использовать в пионерском лагере для связи, скажем, между пионерской комнатой и столовой, в военно-спортивной игре «Зарница» для связи между наблюдательными пунктами. В полевых условиях иногда (когда земля влажная) функцию одного из проводов линии связи может выполнять земля. Но предварительно надо проверить надежна ли будет связь.

Теперь, продолжая беседу, посвященную усилителям, поговорим о стабилизации режима работы транзисторов.

СТАБИЛИЗАЦИЯ РЕЖИМА РАБОТЫ ТРАНЗИСТОРА

Усилитель первого или второго вариантов (по схемам на рис. 174), смонтированный и налаженный в помещении, будет работать лучше, чем на улице, где он окажется под горячими лучами летнего солнца или зимой на морозе. Почему так получается? Потому, что, к сожалению, с повышением температуры режим работы транзистора нарушается. А первопричина тому — неуправляемый обратный ток коллектора IКБО и изменение статического коэффициента передачи тока h21Э при изменении температуры.

В принципе ток IКБО — небольшой. У низкочастотных германиевых транзисторов малой мощности, например, этот ток, измеренный при обратном напряжении на коллекторном р-n переходе 5 В и температуре 20 °C, не превышает 20–30 мкА, а у кремниевых транзисторов меньше 1 мкА. Но он значительно изменяется при воздействии температуры. С повышением температуры на 10 °C ток IКБО германиевого транзистора увеличивается примерно вдвое, а кремниевого транзистора — в 2,5 раза.

Если, например, при температуре 20 °C ток IКБО германиевого транзистора составляет 10 мкА, то при повышении температуры до 60 °C он возрастает примерно до 160 мкА. Но ток IКБО характеризует свойства только коллекторного р-n перехода. В реальных же рабочих условиях напряжение источника питания оказывается приложенным к двум р-n переходам коллекторному и эмиттерному. При этом обратный ток коллектора течет и через эмиттерный переход и как бы усиливает сам себя. В результате значение неуправляемого, изменяющегося под воздействием температуры тока увеличивается в несколько раз. А чем больше его доля в коллекторном токе, тем нестабильнее режим работы транзистора в различных температурных условиях. Увеличение коэффициента передачи тока h21Э с температурой усиливает этот эффект.

Что же при этом происходит в каскаде, например, на транзисторе V1 усилителя первого или второго вариантов?

С повышением температуры общий ток коллекторной цепи увеличивается, вызывая все большее падение напряжения на нагрузочном резисторе R3 (см. рис. 174). Напряжение же между коллектором и эмиттером при этом уменьшается, что приводит к появлению искажений сигнала. При дальнейшем повышении температуры напряжение на коллекторе может стать столь малым, что транзистор вообще перестанет усиливать входной сигнал.

Уменьшение влияния температуры на ток коллектора возможно либо путем использования в аппаратуре, предназначенной для работы со значительными колебаниями температуры, транзисторов с очень малым током IКБО, например кремниевых, либо применением специальных мер, термостабилизирующих режим транзисторов.

Один из способов термостабилизации режима работы германиевого транзистора структуры р-n-р показан на схеме рис. 179, а. Здесь, как видишь, базовый резистор Rб подключен не к минусовому проводнику источника питания, а к коллектору транзистора. Что это дает? С повышением температуры возрастающий коллекторный ток увеличивает падение напряжения на нагрузке Rн и уменьшает напряжение на коллекторе. А так как база соединена (через резистор Rб) с коллектором, на ней тоже уменьшается отрицательное напряжение смещения, что в свою очередь уменьшает ток коллектора. Получается обратная связь между выходной и входной цепями каскада — увеличивающийся коллекторный ток уменьшает напряжение на базе, что автоматически уменьшает коллекторный ток. Происходит стабилизация заданного режима работы транзистора.

Но во время работы транзистора между его коллектором и базой через тот же резистор Rб возникает отрицательная обратная связь по переменному току, что снижает общее усиление каскада. Таким образом, стабильность режима транзистора достигается ценой проигрыша в усилении. Жаль, но приходится идти на эти потери, чтобы при изменении температуры транзистора сохранить нормальную работу усилителя.

Рис. 179. Усилительные каскады с термостабилизацией режима работы транзисторов

Существует, однако, способ стабилизации режима работы транзистора с несколько меньшими потерями в усилении, но достигается это усложнением каскада. Схема такого усилителя показана на рис. 179, б. Режим покоя транзистора по постоянному току и напряжению остается тот же: ток коллекторной цепи равен 0,8–1 мА, отрицательное напряжение смещения на базе относительно эмиттера равно 0,1 В (1,5–1,4 = 0,1 В). Но режим устанавливается с помощью двух дополнительных резисторов: Rб2 и Rэ. Резисторы Rб1, и Rб2 образуют делитель, с помощью которого на базе поддерживается устойчивое напряжение. Эмиттерный резистор Rэ является элементом термостабилизации.

Термостабилизация режима транзистора происходит следующим образом. По мере возрастания коллекторного тока под действием тепла падение напряжения на резисторе Rэ увеличивается. При этом разность напряжений между базой и эмиттером уменьшается, что автоматически снижает коллекторный ток. Получается такая же обратная связь, только теперь между эмиттером и базой, благодаря которой режим транзистора стабилизируется.

Прикрой бумагой или пальцем конденсатор Сэ, подключенный параллельно резистору Rэ и, следовательно, шунтирующий его. Что теперь напоминает тебе эта схема? Каскад с транзистором, включенным по схеме ОК (эмиттерный повторитель). Значит, при работе транзистора, когда на резисторе Rэ происходит падение напряжения не только постоянной, но и переменной составляющих, между эмиттером и базой возникает 100 %-ная отрицательная обратная связь по переменному напряжению, при которой усиление каскада меньше единицы. Но так может случиться лишь тогда, когда не будет конденсатора Сэ. Этот конденсатор создает параллельный путь, по которому, минуя резистор Rэ, идет переменная составляющая коллекторного тока, пульсирующего с частотой усиливаемого сигнала, и отрицательная обратная связь не возникает. Емкость этого конденсатора должна быть такой, чтобы не оказывать сколько-нибудь заметного сопротивления самым низшим частотам усиливаемого сигнала. В каскаде усиления звуковой частоты этому требованию может отвечать электролитический конденсатор емкостью 10–20 мкФ.

Усилитель с такой системой стабилизации режима транзистора практически не чувствителен к колебаниям температуры и, кроме того, что не менее важно, к смене транзисторов.

Во всех ли случаях именно так следует стабилизировать режим работы транзистора? Нет, конечно. Ведь все зависит от того, для какой цели предназначается усилитель. Если усилитель будет работать только в домашних условиях, где перепад температур незначительный, жесткая термостабилизация не обязательна. А если ты собираешься строить усилитель или приемник, который бы устойчиво работал и дома, и на улице, то, конечно, надо стабилизировать режим транзисторов, даже если устройство придется усложнять дополнительными деталями.

ДВУХТАКТНЫЙ УСИЛИТЕЛЬ МОЩНОСТИ

Рассказывая в начале этой беседы о назначении каскадов усилителя, я, как бы забегая вперед, сказал, что в выходных каскадах, являющихся усилителями мощности, радиолюбители используют такие же маломощные транзисторы, как и в каскадах усиления напряжения. У тебя тогда, естественно, мог возникнуть, а может быть возникал вопрос: как это достигается? Отвечаю на него сейчас.

Такие каскады называют двухтактными усилителями мощности. Причем они могут быть трансформаторными, т. е. с использованием в них трансформаторов, или бестрансформаторными.

В твоих конструкциях будут применены обе разновидности двухтактного усилителя колебаний звуковой частоты. Разберемся в принципе их работы.

Упрощенная схема двухтактного трансформаторного каскада усиления мощности и графики, иллюстрирующие его работу, приведены на рис. 180. В нем, как видишь, два трансформатора и два транзистора.

Рис. 180. Двухтактный трансформаторный усилитель мощности и графики, иллюстрирующие его работу

Трансформатор Т1 межкаскадный, связывающий предоконечный каскад со входом усилителя мощности, а трансформатор Т2 — выходной. Транзисторы V1 и V2 включены по схеме ОЭ. Их эмиттеры, как и средний вывод вторичной обмотки межкаскадного трансформатора, «заземлены» — соединены с общим проводником источника питания Uип. Отрицательное напряжение питания на коллекторы транзисторов подается через первичную обмотку выходного трансформатора Т2: на коллектор транзистора V1 — через секцию Iа, на коллектор транзистора V2 — через секцию Iб. Каждый транзистор и относящиеся к нему секции вторичной обмотки межкаскадного трансформатора и первичной обмотки выходного трансформатора представляют обычный, уже знакомый тебе однотактный усилитель. В этом нетрудно убедиться, если прикрыть листком бумаги одно из таких плеч каскада. Вместе же они образуют двухтактный усилитель мощности.

Сущность работы двухтактного усилителя заключается в следующем. Колебания звуковой частоты (графика на рис. 180) с предоконечного каскада подаются на базы обоих транзисторов так, что напряжения на них изменяются в любой момент времени в противоположных направлениях, т. е. в противофазе. При этом транзисторы работают поочередно, на два такта за каждый период подводимого к ним напряжения.

Когда, например, на базе транзистора V1 отрицательная полуволна, он открывается и через секцию Iа первичной обмотки выходного трансформатора идет ток только этого транзистора (график б). В это время транзистор V2 закрыт, так как на его базе положительная полуволна напряжения. В следующий полупериод, наоборот, положительная полуволна будет на базе транзистора V1, а отрицательная — на базе транзистора V2. Теперь открывается транзистор V2 и через секцию Iб первичной обмотки выходного трансформатора идет ток его коллектора (график в), а транзистор V1, закрываясь, «отдыхает». И так при каждом периоде звуковых колебаний, подводимых к усилителю. В обмотке трансформатора коллекторные токи обоих транзисторов суммируются (график г), в результате на выходе усилителя получаются более мощные электрические колебания звуковой частоты, чем в обычном однотактном усилителе. Динамическая головка В, подключенная ко вторичной обмотке трансформатора, преобразует их в звук.

Теперь, пользуясь схемой на рис. 181, разберемся в принципе работы бестрансформаторного усилителя мощности.

Рис. 181. Двухтактный бестрансформаторный усилитель мощности

Здесь также два транзистора, но они разной структуры: транзистор V1 — р-n-р, транзистор V2 — n-p-n. По постоянному току транзисторы включены последовательно, образуя как бы делитель напряжения питающего их источника постоянного тока. При этом на коллекторе транзистора V1 относительно средней точки между ними, называемой точкой симметрии, создается отрицательное напряжение, равное половине напряжения источника питания, а на коллекторе транзистора V2 — положительное, и также равное половине напряжения источника питания Uи. п. Динамическая головка В включена в эмиттерные цепи транзисторов: для транзистора V1 — через конденсатор С2, для транзистора V2 — через конденсатор С1. Таким образом, транзисторы по переменному току включены по схеме ОК (эмиттерными повторителями) и работают на одну общую нагрузку — головку В.

На базах обоих транзисторов усилителя действует одинаковое по значению и частоте переменное напряжение, поступающее от предоконечного каскада. А так как транзисторы разной структуры, то и работают они поочередно, на два такта: при отрицательной полуволне напряжения открывается только транзистор V1 и в цепи головка В — конденсатор С2 появляется импульс коллекторного тока (на рис. 180 — график б), а при положительной полуволне открывается только транзистор V2 и в цепи головка — конденсатор С1 появляется импульс коллекторного тока этого транзистора (на рис. 180 — график в). Таким образом, через головку течет суммарный ток транзисторов (график г на рис. 180), представляющий собой усиленные по мощности колебания звуковой частоты, которые она преобразует в звуковые колебания. Практически получается тот же эффект, что и в усилителе с трансформаторами, но, благодаря использованию транзисторов разной структуры, отпадает надобность в устройстве для подачи на базы транзисторов сигнала в противофазе.

Ты, уверен, заметил одно противоречие в моем объяснении работы двухтактных усилителей мощности: на базы транзисторов не подавались напряжения смещения. Ты прав, но особой ошибки здесь нет. Дело в том, что транзисторы двухтактного каскада могут работать без начального напряжения смещения. Но тогда в усиливаемом сигнале появляются искажения типа «ступенька», особенно сильно ощущаемые при слабом входном сигнале. Ступенькой же их называют потому, что на осциллограмме синусоидального сигнала они имеют ступенчатую форму (рис. 182). Наиболее простой способ устранения таких искажений — подача на базы транзисторов напряжения смещения, что и делают на практике.

Рис. 182. Искажения типа «ступенька», которые можно увидеть на экране осциллографа

Теперь, прежде чем начать разговор об усилителях, обеспечивающих громкое звуковоспроизведение, хочу познакомить тебя с некоторыми параметрами, характеризующими усилитель 3Ч.

ПАРАМЕТРЫ УСИЛИТЕЛЯ 3Ч

О качестве и пригодности усилителя для тех или иных целей судят но нескольким параметрам, наиболее важными из которых можно считать три: выходная мощность Рвых, чувствительность и частотная характеристика. Это те основные параметры, которые ты должен знать и разбираться в них.

Выходная мощность — это мощность электрических колебаний звуковой частоты, выраженная в ваттах или в милливаттах, которую усилитель отдает нагрузке — обычно динамической головке прямого излучения. В соответствии с установленными нормами (ГОСТ) различают номинальную Рном и максимальную мощности Рmax. Номинальной называют такую мощность, при которой так называемые нелинейные искажения выходного сигнала, вносимые усилителем, не превышают 3–5 % по отношению к неискаженному сигналу. По мере дальнейшего повышения мощности нелинейные искажения выходного сигнала увеличиваются. Ту мощность, при которой искажения достигают 10 %, называют максимальной. Максимальная выходная мощность может быть в 5-10 раз больше номинальной, но при ней даже на слух заметны искажения.

Рассказывая об усилителях в этой и других беседах, я, как правило, буду указывать их усредненные выходные мощности и называть их просто выходными мощностями.

Чувствительностью усилителя называют напряжение сигнала звуковой частоты, выраженное в вольтах или милливольтах, которое надо подать на его вход, чтобы мощность на нагрузке достигла номинальной. Чем меньше это напряжение, тем, естественно, лучше чувствительность усилителя. Для примера скажу: чувствительность подавляющего большинства любительских и промышленных усилителей, предназначаемых для воспроизведения грамзаписи, равна 100–200 мВ (примерно такое напряжение развивает пьезокерамический звукосниматель), чувствительность усилителей, работающих от микрофонов, составляет 1–2 мВ.

Частотную характеристику (или полосу рабочих частот усилителя) выражают графически горизонтальной, несколько искривленной линией, показывающей зависимость напряжения выходного сигнала Uвых от его частоты при неизменном входном напряжении Uвх. Дело в том, что любой усилитель по ряду причин неодинаково усиливает сигналы разных частот. Как правило, хуже всего усиливаются колебания самых низших и самых высших частот звукового диапазона. Поэтому линии — частотные характеристик и усилителей — неравномерны и обязательно имеют спады (завалы) по краям. Колебания крайних низших и высших частот, усиление которых по сравнению с колебаниями средних частот (800-1000 Гц) падает до 30 %, считают границами полосы частот усилителя. Полоса частот усилителей, предназначенных для воспроизведения грамзаписи, может быть от 20 Гц до 20–30 кГц, усилителей сетевых радиовещательных приемников — от 60 Гц до 10 кГц, а усилителей малогабаритных транзисторных приемников — примерно от 200 Гц до 3–4 кГц.

Для измерения основных параметров усилителей нужны генератор колебаний звуковой частоты, вольтметр переменного напряжения, осциллограф и некоторые другие измерительные приборы. Они есть в радиолабораториях Дворцов и Домов пионеров и школьников, станций и клубов юных техников, в спортивно-технических клубах ДОСААФ, куда ты, если захочешь, можешь обратиться с просьбой измерить параметры сконструированного усилителя.

Перехожу к практике. Расскажу о трех усилителях 3Ч.

УСИЛИТЕЛЬ 3Ч С ПОВЫШЕННОЙ ВЫХОДНОЙ МОЩНОСТЬЮ

Сразу же сделаю оговорку: хотя сейчас и пойдет разговор об усилителе 3Ч для воспроизведения грамзаписи, он с таким же успехом может стать составной частью малогабаритного транзисторного радиоприемника.

Принципиальная схема усилителя показана на рис. 183.

Рис. 183. Схема усилителя

Его выходная мощность — около 150 мВт, чувствительность — не хуже 150 мВ. Мощность, конечно, небольшая, но она все же обеспечит достаточно громкое воспроизведение грамзаписи. Питать усилитель можно от источника напряжением 9-12 В, составленного из двух-трех батарей 3336Л, или от электросети через выпрямитель. Средний ток, потребляемый усилителем от источника питания, не превышает 40 мА.

Разберемся, что в этом усилителе тебе уже знакомо, а что еще нет. Начнем со входа. Сигнал звуковой частоты от пьезокерамического звукоснимателя В1 поступает на переменный резистор R1, а с его движка — на базу транзистора первого каскада через конденсатор С1 и резистор R2. Переменный резистор R1 выполняет функцию регулятора громкости: при перемещении движка вверх (по схеме) на базу транзистора V1 подается все большее напряжение сигнала, громкость увеличивается. Когда же движок находится в крайнем нижнем (по схеме) положении, базовая цепь по переменному току оказывается замкнутой на общий проводник цепи питания усилителя и сигнал от звукоснимателя на транзистор не поступает — звука нет. Резистор R2 — вспомогательный элемент. Он устраняет характерное для пьезокерамического звукоснимателя «шипение». Но в принципе этого корректирующего резистора может и не быть во входной цепи.

Для пьезокерамического звукоснимателя входное сопротивление усилителя должно быть возможно большим. Поэтому транзистор V1 первого каскада включен по схеме ОК. Смещение на его базу подается через резистор R3. Напряжение сигнала с нагрузочного резистора R4 этого каскада через конденсатор С2 поступает на базу транзистора V2, включенного по схеме ОЭ. Эта часть усилителя тебе уже знакома, так как она в основном является повторением простого двухкаскадного усилителя. Разница только в способе включения первого транзистора. А третий, выходной каскад является двухтактным трансформаторным усилителем мощности, с принципом работы которого я познакомил тебя в этой беседе.

Двухтактный режим работы транзисторов выходного каскада задает второй каскад усилителя на транзисторе V2. В коллекторную цепь этого транзистора включена первичная обмотка межкаскадного трансформатора Т1, вторичная обмотка которого, как и первичная обмотка выходного трансформатора Т2, имеет отвод от середины. Через этот отвод и секции вторичной обмотки на базы транзисторов V3 и V4 подается с делителя R6, R7 напряжение смещения. Резистор R8 термостабилизирует режим работы транзисторов выходного каскада. В состоянии покоя транзисторы V3 и V4 практически закрыты. Когда же на выходе предоконечного каскада появляется сигнал, на базы транзисторов выходного каскада подается в противофазе напряжение звуковой частоты, индуцируемое во вторичной обмотке трансформатора Т1. Это и обеспечивает выходному каскаду двухтактный режим работы.

Каскад усилителя, с помощью которого на выходные транзисторы подается напряжение в противофазе, т. е. со сдвигом фаз на 180, называют фазоинверсным каскадом. Значит, в нашем усилителе каскад на транзисторе V2 является фазоинверсным, т. е. фазоповорачивающим.

А каковы функции конденсаторов С3 и С4? Конденсатор С3, подключенный параллельно первичной обмотку выходного трансформатора, срезает высшие частоты звукового диапазона, предотвращая тем самым самовозбуждение усилителя — явление, проявляющее себя свистом или шумом. Подбирая емкость этого конденсатора, можно, кроме того, опытным путем установить наиболее приятный тембр звука. Конденсатор С4 шунтирует источник питания по переменному току — пропускает через себя переменную составляющую усиливаемого сигнала, минуя источник питания.

Его роль особенно сказывается к концу разрядки питающей батареи, когда ее внутреннее сопротивление увеличивается. И если этого конденсатора не будет, то между каскадами через общий источник питания может возникнуть нерегулируемая положительная обратная связь, из-за чего усилитель может самовозбудиться — превращаться в генератор колебаний звуковой частоты. Если усилитель питать от выпрямителя, то конденсатор С4 не нужен.

Приступай к конструированию усилителя. Но сначала его детали смонтируй на макетной панели. А когда подгонишь режимы транзисторов и испытаешь усилитель в работе, тогда можно будет перенести детали на постоянную плату из гетинакса или текстолита. Данные резисторов, конденсаторов и рекомендуемые транзисторы указаны на принципиальной схеме усилителя. Сопротивления резисторов R7 и R8 обозначены в омах (не перепутай с килоомами). Вообще же сопротивления резисторов могут быть на 15–20 % больше или меньше, чем указанные на схеме. Электролитические конденсаторы С2 и С4 — типа К50-3, К50-1 или К50-6.

Статический коэффициент передачи тока h21Э транзисторов V1 и V2 не менее 50–60, транзисторов V3 и V4 — нe менее 30. Желательно, чтобы транзисторы V3 и V4 были с одинаковыми или возможно близкими коэффициентами h21Э и обратными токами коллекторов IКБО. Такую пару транзисторов для выходного каскада подбирай с помощью испытателя транзисторов. В первом каскаде желательно использовать малошумящий транзистор — низкочастотный МП39Б, МП27А, МП28 или высокочастотный ГТ308В.

Динамическая головка В2 мощностью 0,25-0,5 Вт со звуковой катушкой сопротивлением 6–8 Ом, например 0,5ГД-21. Трансформаторы Т1 и Т2 могут быть готовыми или самодельными.

Из готовых подойдут трансформаторы, предназначенные для переносных транзисторных приемников с двухтактным выходным каскадом, например для приемников «Селга», «Сокол». Аналогичные трансформаторы есть в наборах деталей для изготовления транзисторных приемников, где их сокращенно называют: ТС — трансформатор согласующий (в нашем усилителе T1) и ТВ — трансформатор выходной (в нашем усилителе Т2).

Для самодельных трансформаторов нужны магнитопроводы площадью сечения 0,6–0,8 см2, например, из пластин Ш8; толщина наборов 0,8–1 см. Первичная обмотка межкаскадного трансформатора T1 должна содержать 2200 витков провода ПЭВ-1 0,1–0,12, вторичная — 520 витков такого же провода с отводом от середины (260 + 260 витков). Первичная обмотка выходного трансформатора Т2 может иметь 800 витков провода ПЭВ-1 0,1–0,12 с отводом от середины (400 + 400 витков), а вторичная — 100 витков ПЭВ-1 0.25-0,3.

Когда трансформаторы будут готовы, проверь их обмотки омметром нет ли обрывов или соединений между обмотками.

Прежде чем подключить звукосниматель ко входу усилителя, проверь с помощью миллиамперметра токи покоя коллекторных цепей транзисторов. И если они значительно отличаются от токов, указанных на принципиальной схеме, подгоняй их подбором сопротивлений резисторов в базовых цепях. Как это делать, ты уже знаешь. Проверить работу усилителя можно с помощью радиотрансляционной сети или простейшего генератора сигналов, о чем я рассказывал в восьмой беседе. Подключая эти источники сигналов ко входам каждого из каскадов усилителя (через конденсатор емкостью не менее 0,2 мкФ), начиная с выходного, можно сулить о качестве работы транзисторов, их режимах и общем усилении всеми каскадами. Наибольшая громкость будет, когда источник сигнала подключен ко входу первого каскада усилителя.

Монтируя детали усилителя на плате, руководствуйся схемой, показанной на рис. 184.

Рис. 184. Монтажная плата усилителя с повышенной выходной мощностью

Размеры платы определяй по имеющимся деталям. Размечая отверстия для монтажных стоек или пустотелых заклепок, стремись к тому, чтобы соединительные проводники были возможно короткими. Проводники входной цепи должны быть возможно дальше от проводников и деталей выходной цепи. Иначе между ними через магнитные поля возникнет паразитная связь, из-за чего усилитель может возбудиться. Звукосниматель подключай ко входу усилителя экранированным проводом — проводом с гибкой металлической оболочкой. Экран этого провода можно использовать в качестве заземленного соединительного проводника. Трансформаторы, углубленные каркасами с обмотками в отверстиях в плате, приклей к плате клеем БФ-2.

Какие изменения или дополнения можно внести в усилитель?

В первом каскаде вместо биполярного можно использовать полевой транзистор, например КП103И, или другой из серий КП102 или КП103, включив его по схеме ОИ, как показано на рис. 185, а. Небольшое положительное напряжение смещения на затворе относительно стока получается за счет падения напряжения на резисторе Rи в цепи истока. Усиленный сигнал с нагрузки стока (10 кОм) через конденсатор С2 подается на вход второго каскада усилителя. Резистор Rи подбери таким, чтобы ток стока был 0,4–0,6 мА.

Полевой транзистор значительно повышает входное сопротивление усилителя, что улучшает согласование его с большим внутренним сопротивлением пьезокерамического звукоснимателя, и дает небольшое дополнительное усиление сигнала. Монтируя полевой транзистор на плате, оберегай нижнюю часть его корпуса от попадания капелек припоя, канифоли или канифольного флюса, иначе его входное сопротивление резко ухудшится и никакого улучшения усилителя не получится.

Рис. 185. Входные каскады усилителя

Если звукосниматель, которым ты будешь пользоваться, магнитный, то биполярный транзистор первого каскада включай по схеме ОЭ (рис. 185, б), а резистор R2 (220 кОм) исключи. При этом сопротивление переменного резистора R1, выполняющего роль нагрузки звукоснимателя и регулятора громкости, должно составлять 6,8-10 кОм.

Может случиться, что коэффициент h21Э имеющихся у тебя транзисторов небольшой, например 15–20. Такие транзисторы, если, конечно, они исправны, тоже можно использовать в первом и втором каскадах усилителя, включая их по схеме составного транзистора. О таком соединении транзисторов я рассказывал тебе еще в седьмой беседе.

В усилитель можешь ввести регулятор тембра звука. Для этого между базой транзистора V2 и заземленным проводником включи последовательно соединенные конденсатор емкостью 0,2–0,25 мкФ и переменный резистор с номинальным сопротивлением 6,8-10 кОм. С уменьшением сопротивления резистора, когда колебания высших звуковых частот будут все более срезаться, звук в головке будет становиться все более глухим. Подобную цепочку регулирования тембра звука, только с конденсатором емкостью 0,02-0,025 мкФ, можно также включить между базой и коллектором того же транзистора. В этом случае тембр звука будет изменяться в результате изменения глубины отрицательной обратной связи, создающейся между коллекторной и базовой цепями транзистора.

Когда усилитель будет готов и проверен в работе, тебе, я уверен, захочется сделать более мощный усилитель, чтобы значительно повысить громкость звуковоспроизведения. Такое желание вполне закономерно. Вот как его можно осуществить.

ЭЛЕКТРОФОН

Для проигрывания грампластинок наша промышленность выпускает электропроигрывающие устройства, называемые сокращенно ЭПУ. Механизм наиболее массовых ЭПУ состоит из пьезокерамического звукоснимателя, электродвигателя с диском для грампластинки и системы рычагов для пуска и автоматической остановки электродвигателя по окончании грамзаписи. Именно такими электромеханическими устройствами снабжают все радиолы — радиовещательные приемники, усилители 3Ч которых можно использовать для воспроизведения грамзаписи.

В твоем распоряжении может оказаться ЭПУ, вмонтированное в пластмассовый ящик, похожий на чемодан. Для воспроизведения грамзаписи при этом нужен радиовещательный приемник или телевизор, в которых предусмотрены гнезда для подключения звукоснимателя ЭПУ, или усилитель 3Ч с громкоговорителем на выходе.

А нельзя ли усилитель вмонтировать непосредственно в корпусе электропроигрывателя? Разумеется, можно! Получится переносный электрофон. Такое радиотехническое устройство для громкого воспроизведения грамзаписи я и предлагаю тебе для конструирования.

Принципиальная схема возможного варианта усилителя электрофона изображена на рис. 186. Здесь из всех элементов ЭПУ показан только звукосниматель В1, подключенный ко входу усилителя.

Рис. 186. Схема усилителя электрофона

Первая, наиболее характерная особенность этого усилителя заключается в том, что его питание, как и питание электродвигателя ЭПУ, осуществляется от сети переменного тока, а вторая — то, что усилитель бестрансформаторный.

Номинальная выходная мощность усилителя 1 Вт, чувствительность около 100 мВ. Полоса частот равномерно усиливаемых колебаний примерно от 30 до 15 кГп. Электродинамическую головку прямого излучения В2 выносного громкоговорителя подключают к выходу усилителя через двухконтактный штепсельный разъем X1.

Разбор работы усилителя начну с блока питания. В него входят: сетевой трансформатор Т1, двухполупериодный выпрямитель на диодах V10-V13, включенных по мостовой схеме, стабилитрон V9, транзистор V8 и электролитические конденсаторы С12 и С11. Эта часть схемы должна напомнить тебе выпрямитель со стабилизатором выходного напряжения, который я рекомендовал тебе в предыдущей беседе. Только здесь выходное напряжение не регулируется и равно 12 В, т. е. напряжению стабилизации используемого в блоке стабилитрона Д814Д. Это стабилизированное напряжение блока подается к усилителю.

Ток, потребляемый усилителями от блока питания, достигает 250–280 мА, поэтому регулирующий транзистор V8 стабилизатора напряжения должен быть средней или большой мощности.

Неоновая лампа H1, подключенная к первичной обмотке трансформатора через гасящий резистор R21, выполняет роль индикатора включения питания. Конденсаторы С13 и С14 снижают уровень электрических индустриальных помех, проникающих в цепи питания усилителя и создающих трески, примешивающиеся к звуковоспроизведению. Выпрямитель через двухполюсный выключатель S1 подключают к цепи питания электродвигателя ЭПУ.

Усилитель пятикаскадный, на семи транзисторах V1-V7. Из них транзистор V5 структуры n-р-n, остальные р-n-р. Первый каскад усилителя является согласующим между звукоснимателем и входом основного усилителя. Чтобы он возможно слабее шунтировал звукосниматель, его транзистор V1 работает как эмиттерный повторитель. Отрицательное напряжение смещения на базу транзистора подается с делителя R2, R3 через резисторы R4 и R5. Между эмиттерной и базовой цепями транзистора V1 включен электролитический конденсатор С3, способствующий увеличению входного сопротивления каскада примерно до 1 МОм. Это значительно больше входного сопротивления аналогичного каскада предыдущего усилителя.

Резистор R1 и конденсатор С1 образуют корректирующую цепь, несколько ослабляющую наивысшие частоты звукового диапазона. Но ее в принципе может и не быть. С резистора R6 — нагрузки транзистора согласующего каскада, сигнал звукоснимателя через конденсатор С4 подается на переменный резистор R7, являющийся регулятором громкости, а с его движка — через конденсатор С5 на базу транзистора V2. Транзистор этого каскада усилителя включен по схеме ОЭ. Его нагрузкой служит резистор R9. Напряжение смещения на базу подается с коллектора через резистор R8. При таком способе смещения между коллектором и базой транзистора создается отрицательная обратная связь, стабилизирующая работу каскада.

Эмиттерный резистор R10, малое сопротивление которого практически не сказывается на режиме транзистора, является элементом другой цепи отрицательной обратной связи, о которой я скажу позже.

Третий каскад на транзисторе V3, включенном по схеме ОЭ, не только дополнительно усиливает сигнал, поступающий к нему через конденсатор С6 от предыдущего каскада, но и обеспечивает последующим каскадам двухтактный режим работы.

Вспомни мой рассказ о принципе работы двухтактного усилителя. Для работы каскада в таком режиме на базы его транзисторов усиливаемое напряжение звуковой частоты должно подаваться в противофазе, т. е. со сдвигом фаз на 180°. В предыдущем усилителе это получалось с помощью межкаскадного трансформатора фазоинверсного каскада Здесь же это достигается благодаря использованию в предоконечном каскаде транзисторов разной структуры.

Вот как это получается. Коллекторную нагрузку транзистора V3 третьего каскада образуют резисторы R15, R14 и звуковая катушка головки В2 громкоговорителя. Сопротивление резистора R14 в этой цепи значительно больше суммарного сопротивления резистора R15 и звуковой катушки головки, поэтому на нем в основном происходит падение напряжения усиливаемого сигнала. Оно-то и подается непосредственно на базы транзисторов V4 и V5 четвертого каскада. Транзистор V4 (р-n-р) усиливает отрицательные, а транзистор V5 (n-р-n) положительные полуволны сигнала звуковой частоты. В результате на резисторах R17 и R18, выполняющих роль нагрузок транзисторов V4 и V5, создаются одинаковые по амплитуде, но противоположные по фазе импульсы колебаний звуковой частоты, которые усиливаются по мощности транзисторами V6 и V7 выходного двухтактного каскада. Мощные колебания звуковой частоты со средней точки транзисторов этого каскада (точка симметрии) поступают через конденсатор С9 к головке В2 громкоговорителя и преобразуются ею в звуковые колебания.

Емкость конденсатора С9 должна быть возможно большей (во всяком случае — не меньше 100 мкФ), чтобы не оказывать заметного сопротивления колебаниям низших звуковых частот. Резистор R14, являющийся основной коллекторной нагрузкой транзистора V3, правым (по схеме) выводом подключен к отрицательному проводнику источника питания не непосредственно, а через головку В2. При таком его включении между выходом и базой транзистора V4 создается положительная обратная связь, выравнивающая условия работы транзисторов предоконечного каскада.

Какова роль резистора R15? Он нужен для устранения искажений типа «ступенька». Коллекторный ток транзистора V3 создает на этом резисторе падение напряжения, равное 0,2–0,3 В, которое вместе с усиливаемым сигналом подается на базы транзисторов V4 и V5. При этом на базе транзистора V4 относительно его эмиттера получается отрицательное напряжение смещения, а на базе транзистора относительно его эмиттера — положительное. В результате транзисторы несколько приоткрываются и не искажают слабый усиливаемый сигнал.

Обращаю внимание на способ подачи напряжения смещения на базу транзистора V3. Правый (по схеме) вывод резистора R11 делителя напряжения R11, R12 соединен не с общим проводником цепи питания, а с точкой симметрии выходного каскада. Но в этой точке действует переменное напряжение звуковой частоты. Значит, на базу транзистора V3 через резистор R11 вместе с постоянным напряжением смещения подается еще и переменное напряжение звуковой частоты, образуя отрицательную обратную связь по напряжению, стабилизирующую работу трех каскадов усилителя.

Резистор R16 — элемент термостабилизации режима работы транзистора V3, а шунтирующий, его конденсатор С8 ослабляет отрицательную обратную связь между эмиттером и базой этого транзистора, снижающую усиление каскада. Конденсатор С10 и резистор R19 совместно с резистором R10 создают между выходом и вторым каскадом усилителя цепь отрицательной обратной связи по переменному напряжению. Охватывая четыре каскада, она, несколько снижая чувствительность, улучшает качество работы усилителя в целом. Глубину этой отрицательной обратной связи можно регулировать подбором резистора R19.

Резистор R13 и конденсатор С7 образуют развязывающий фильтр — ячейку, предотвращающую самовозбуждение усилителя из-за паразитных связей между его выходом и входом через общий источник питания. Подобный фильтр, и даже не один, будет присутствовать во многих твоих конструкциях, поэтому я поподробнее расскажу о его действии.

Дело в том, что основным потребителем тока усилителя является его выходной каскад. В усилителе, о котором сейчас идет речь, ток покоя транзисторов выходного каскада составляет 10–12 мА, что уже более чем в два раза больше тока, потребляемого транзисторами всех других каскадов. Во время работы усилителя ток выходного каскада изменяется со звуковой частотой и при наиболее сильных сигналах увеличивается до 200–250 мА. С такой же частотой изменяется в небольших пределах и напряжение источника питания, а значит (если фильтра не будет) и напряжение в цепях транзисторов других каскадов. При этом между выходом и входом усилителя через общий источник питания может возникнуть положительная, в данном случае — паразитная обратная связь, и если она достаточно сильная, то усилитель самовозбуждается.

Чтобы предотвратить это неприятное явление, в усилитель введен фильтр R13C7. По своему действию он должен напомнить тебе ячейку сглаживающего фильтра выпрямителя. На резисторе R13 происходит падение напряжения, в том числе и колебаний звуковой частоты, создаваемых в обшей цепи питания выходным каскадом. Конденсатор С7 включен, как и в выпрямителе, параллельно источнику тока. При повышении напряжения на его обкладках он заряжается больше, а при понижении напряжения в цепи питания он разряжается, поддерживая, таким образом, постоянство напряжения в тех участках цепи, к которым он подключен. Таким образом, ячейка R13C7 развязывает, как бы разобщает, каскады усилителя по переменному току, что предотвращает самовозбуждение, поэтому ее и называют развязывающим фильтром.

Каковы преимущества этого усилителя перед аналогичным усилителем с трансформаторами (например, по схеме на рис. 183). Их в основном два. Первое преимущество чисто конструктивного характера — отсутствие сравнительно сложных и громоздких межкаскадного и выходного трансформаторов. Это позволяет конструировать более компактные и легкие усилители, что особенно важно для переносной аппаратуры. Второе преимущество качественное — отсутствие искажении, вносимых в работу усилителя трансформаторами, и равномерность усиления по диапазону звуковых частот. Бестрансформаторный усилитель может равномерно усиливать практически почти весь воспринимаемый нами диапазон звуковых частот (примерно от 20–40 Гц до 15–20 кГц). Аналогичный же усилитель с межкаскадным и выходным трансформаторами равномерно усиливает более узкий диапазон звуковых колебании, примерно от 100 Гц до 5–6 кГц.

Эти преимущества бестрансформаторных усилителей достигаются в основном за счет усложнения их выходных каскадов и некоторого увеличения расхода энергии на их питание.

Внешний вид и внутреннее устройство электрофона показаны на рис. 187.

Рис. 187. Размещение усилителя и его блока питания в корпусе электропроигрывателя

Усилитель 1 и блок питания 2 смонтированы на отдельных платах, которые (с учетом конструктивных особенностей электропроигрывателя) винтами с гайками на невысоких цилиндрических стойках укреплены на дне корпуса. Регулятор громкости R7, объединенный с выключателем питания S1, и индикатор включения питания Н1 находятся на панели ЭПУ возле звукоснимателя.

Гнездовую часть штепсельного разъема (двухгнездовую колодку) для соединения звуковой катушки головки громкоговорителя с выходом усилителя можно укрепить на одной из боковых стенок.

Внешний вид монтажных плат усилителя, блока питания и соединения деталей на них показаны на рис. 188 и 189.

Рис. 188. Внешний вид и плата усилителя

Рис. 189. Внешний вид и плата блока питания усилителя

Их печатные платы выполнены из фольгированного стеклотекстолита толщиной 1,5 мм способом, описанным в девятой беседе (см. с. 145). Монтаж может быть навесным, с использованием пустотелых заклепок или шпилек, запрессованных в отверстиях в гетинаксовых или текстолитовых платах. Статический коэффициент передачи тока h21Э транзисторов может быть 40 50. В первом каскаде усилителя желательно использовать малошумящий транзистор МП39Б, П27A или ГТ310А. Транзистор МП38 (V5) можно заменить транзисторами МГТ35 МП37, а П213 — транзисторами П201 П203, П214. Все постоянные резисторы МЛТ-0,5 (можно МЛТ-0,25, МЛТ-0,125), переменный резистор R7 (с выключателем питания S1) СПЗ-4ВМ. Все электролитические конденсаторы, кроме С2 (для удобства монтажа он К50-3), типа К50-6. Неэлектролитические конденсаторы любые (МБ, КЛС, КСО, К20-7А), но номинальное напряжение конденсаторов С13 и С14 должно быть не менее 400 В. Динамическая головка В2 громкоговорителя мощностью не менее 1 Вт (например, 1ГД-36, 1ГД-40, 2ГД-22, 3ГД-31).

Мощные транзисторы усилителя и стабилизатора напряжения блока пихания снабжены теплоотводами (радиаторами) П-образными пластинками из дюралюминия, плотно прилегающими к корпусам транзисторов (рис. 190).

Рис. 190. Мощный транзистор с теплоотводом

Вокруг крепежных винтов теплоотводов с транзисторами фольгу на плате нужно удалить. Выводы транзисторов, на которые надеты отрезки поливинилхлоридной трубки, соединены с соответствующими им токонесущими площадками плат, изолированными монтажными проводниками.

В качестве сетевого трансформатора блока питания использован выходной трансформатор кадровой развертки ТВК-110-Л-2. Его обмотка I (2430 витков провода ПЭВ-1 0,15) работает как сетевая, обмотка II (150 витков провода ПЭВ-1 0,55) — как понижающая, а обмотка III не используется. Такую функцию в блоке питания может выполнять также трансформатор ТВК-90. Для выпрямителя пригодны любые плоскостные диоды. Стабилитрон Д815Д можно заменить близкими ему по напряжению стабилизации стабилитронами Д811, Д813, Д814Г.

Конструкция громкоговорителя может быть как горизонтальной (рис. 191), так и вертикальной — это дело вкуса.

Рис. 191. Громкоговоритель

Для его ящика используй хорошо проклеенную толстую фанеру или плиту спрессованной древесной стружки (ДСП). В лицевой панели выпили (или выруби стамеской) отверстие по диаметру диффузора головки и спереди задрапируй нетолстой декоративной тканью. Части ящика соединяй вместе на клею при помощи брусков по углам внутри. Очень важно, чтобы все соединения деталей ящика были прочными, иначе звук будет дребезжащим. К звуковой катушке головки подключи двухжильный провод длиной 1,5 м со штепсельной частью разъема на конце для подключения к выходу усилителя.

Внимательно проверь монтаж усилителя и блока питания по принципиальной схеме (нет ли ошибок?), прочисть прорези между токонесущими площадками плат (чтобы удалить случайно попавшие капельки припоя), и только после этого, не укрепляя пока платы в корпусе электропроигрывателя, приступай к налаживанию электрофона.

Сначала испытай блок питания без усилителя, но подключив к его выходу временную нагрузку — резистор сопротивлением 1–1,5 кОм. Включив питание, вольтметром постоянного тока измерь напряжение на выходе блока. Оно должно быть равно напряжению стабилизации используемого стабилитрона V9 (11,5- 13,5 В). Измерь ток, текущий через стабилитрон, и, подбирая резистор R20, установи его равным 10–15 мА. Если теперь к выходу блока подключить резистор сопротивлением 30–40 Ом, то ток через стабилитрон несколько уменьшится, а напряжение на выходе блока должно остаться почти неизменным Так ты не только испытаешь, но и провертись работоспособность блока питания под нагрузкой.

Затем налаживай усилитель. При этом к нему надежно должна быть подключена головка громкоговорителя. Если в монтаже нет ошибок или коротких замыканий в цепях питания, то суммарный ток покоя, потребляемый усилителем от блока питания, не должен превышать 15–20 мА. Измерить его можно, включив миллиамперметр в разрыв минусового соединительного проводника. После этого измерь и, если надо, подгони режимы работы транзисторов.

Указанные на принципиальной схеме напряжения на электродах транзисторов измерены относительно «заземленного» проводника вольтметром с относительным входным сопротивлением 10 кОм/В (см. восьмую беседу). Напряжение в точке симметрии выходного каскада, равное половине напряжения источника питания, устанавливай подбором резистора R11, а ток покоя коллекторной цепи транзисторов V6 и V7, равный 10–12 мА, подбором резистора R15. Учти: во время замены резистора R15 усилитель обязательно должен быть обесточен, иначе транзисторы предоконечного каскада из-за чрезмерно больших токов через их р-n переходы могут выйти из строя. Напряжение на коллекторе транзистора V2 устанавливай подбором резистора R8, на эмиттере транзистора V1 — подбором резистора R2.

Установив рекомендуемые режимы работы транзисторов, проиграй грампластинку — звук, создаваемый головкой, должен быть громким и неискаженным. Громкость звука должна плавно увеличиваться при вращении ручки резистора R7 в направлении движения часовой стрелки. Если, наоборот, громкость нарастает при вращении ручки в обратном направлении, поменяй местами подключение проводников, идущих к крайним выводам этого резистора.

Можно ли электрофон превратить в радиолу? Можно! Надо лишь дополнить его радиочастотным блоком для приема радиовещательных станций. Как это сделать? Об этом я расскажу в следующей беседе.

А сейчас — еще один вариант усилителя 3Ч.

ПЕРЕНОСНЫЙ РАДИОУЗЕЛ

Туристский палаточный лагерь или полевой стан ученической производственной бригады, где, возможно, тебе и твоим товарищам по классу или пионерской дружине придется быть летом, желательно радиофицировать, чтобы можно было не только передавать по лагерю объявления, но и послушать музыку, новости дня, узнать, какая ожидается погода. Смонтировать, наладить и испытать его в работе надо заблаговременно. В этом тебе помогут товарищи, среди которых, несомненно, найдутся и радиолюбители.

Основой такого радиоузла является усилитель 3Ч, принципиальная схема которого показана на рис. 192.

Рис. 192. Схема усилителя переносного радиоузла

Она, как видишь, очень напоминает схему первого усилителя 3Ч с двухтактным трансформаторным усилителем мощности (см. рис. 183). Выходная мощность усилителя около 1,5 Вт, но ее при рациональном расходовании вполне достаточно для радиофикации 10–12 палаток или озвучивания костровой, игровой или иной площадки, где по вечерам собираются ребята. Усилитель позволяет передавать объявления, информировать о планах и событиях лагеря, транслировать концерты грамзаписи, а если к нему добавить приемную приставку, то и программы местной вещательной станции. Источника питания, составленного из шести батарей 3336Л, при ежедневной 4-5-часовой работе радиоузла хватает на 4–5 дней, а батареи из девяти элементов 373 при той же нагрузке — на месяц.

Усилитель четырехкаскадный, пятитранзисторный. Его первый каскад на транзисторе V1 является микрофонным усилителем второй и третий на транзисторах V2 и V3 — предварительным усилителем напряжения, четвертый выходной каскад на транзисторах V4 и V5 — двухтактным усилителем мощности. Транзистор V2 включен по схеме ОК, все остальные транзисторы — по схеме ОЭ.

Связь между первыми тремя каскадами — емкостная, а между третьим и выходным каскадами — трансформаторная. Трансформатор Т1, как ты уже знаешь, обеспечивает подачу напряжений звуковой частоты на базы транзисторов V4 и V5 в противофазе, что необходимо для работы двухтактного усилителя мощности.

Делители R1R2, R7R8, R10R11, R14R15 создают на базах транзисторов требуемые напряжения смещения. Для повышения температурной стабильности работы транзисторов V1 и V3 в их эмиттерные цепи включены резисторы R3 и R12. Резистор R5 и конденсатор С4, а также резистор R13 и конденсатор С9 образуют ячейки развязывающих фильтров, предотвращающие паразитную связь между каскадами через общий источник питания.

Регулирование громкости осуществляется переменным резистором R6, а частотная коррекция усилительного тракта — резистором R10, образующим вместе с конденсатором С8 цепь отрицательной обратной связи между коллектором и базой транзистора V3.

Микрофон В1 подключают к зажимам X1 и Х2, а звукосниматель В2 — к зажимам Х2 и ХЗ входа усилителя. Переход с одного вида передачи на другой осуществляется переключателем S1.

При включении микрофона его сигнал звуковой частоты через конденсатор С1 подается на вход первого каскада, усиливается транзистором V1, а от него, пройдя через конденсатор С3, контакты переключателя S1, регулятор громкости R6 и конденсатор С5 — на вход второго каскада. При включении звукоснимателя сигнал подается (через резистор R6 и конденсатор С5) сразу на вход второго каскада, минуя первый. С выхода усилителя мощности усиленный сигнал звуковой частоты поступает к громкоговорителям.

Вся вторичная обмотка выходного трансформатора Т2 рассчитана на питание трансляционной линии, загруженной маломощными электродинамическими головками с согласующими (понижающими) трансформаторами, а ее секция а-б — на питание одного громкоговорителя В3 с головкой мощностью 2–3 Вт.

Разъем Х8, подключенный параллельно секции а-б обмотки, служит для контрольного телефона. Трансляционную линию подключают к зажимам Х6 и Х7, а громкоговоритель В3 — к зажимам Х4 и Х5. С помощью переключателя S2 включают либо только трансляционною линию, либо только громкоговоритель.

В собранном виде усилитель радиоузла может представлять собой фанерный чемодан с откидной крышкой, являющейся акустической доской с укрепленной на ней головкой мощностью 2–3 Вт, например 2ГД-28, ЗГД-1. С внутренней стороны в крышке могут быть ячейки, образованные фанерными перегородками, для хранения малогабаритных громкоговорителей-радиоточек.

Монтажная плата усилителя, входные зажимы, переключатели S1 и S2, батарея питания GB ее выключатель S3, разъем Х8 контрольного телефона размещены на сборочной панели, являющейся передней стенкой корпуса усилителя (рис. 193).

Рис. 193. Плата усилителя (а) и вид на сборочную панель сзади (б)

Между платой усилителя и батареей питания на панели предусмотрено место для радиоприемной приставки или готового малогабаритного транзисторного приемника. Ориентировочные размеры платы усилителя 230х100 мм, сборочной панели — 315х265 мм.

Транзисторы V1-V3 могут быть МП39-МП42, a V4 и V5 — П214, П215, П201-П203 с любым буквенным индексом (кроме П213). Коэффициент h21Э транзисторов — от 30 до 100.

Переменные и постоянные резисторы могут быть любых типов на любые мощности рассеяния. Электролитические конденсаторы К50-6, К50-3, конденсатор С8-БМ, КД или КСО. Переключатели S1 и S2 входа и выхода усилителя, выключатель питания S3 — тумблеры TB2-1. Зажимы любые.

Межкаскадный и выходной трансформаторы самодельные. Данные межкаскадного трансформатора Т1: магнитопровод из пластин Ш-9, толщина набора 15 мм, первичная I обмотка содержит 1600 витков провода ПЭВ-1 0,15, вторичная II 500 витков такого же провода с отводом от середины (250 + 250 витков). Магнитопровод выходного трансформатора Т2 собран из пластин Ш-12, толщина набора 20 мм. Первичная I обмотка содержит 320 витков провода ПЭВ-1 0,31 с выводом от середины (160 + 160 витков), а вторичная II -160 витков провода ПЭВ-1 0,69 с отводом от 90-го витка (секция а-б), считая от заземленного конца. Трансформаторы укреплены на плате с помощью гетинаксовых накладок и винтов с гайками. Монтажную плату и сборочную панель усилителя желательно выпилить из листового гетинакса или текстолита толщиной 2 2,5 мм.

Для радиофикации палаток лучше всего подойдут громкоговорители с головками 0.1ГД-6, 0.1ГД-9. Роль переходных трансформаторов могут выполнить малогабаритные выходные трансформаторы, предназначенные для работы в двухтактных выходных каскадах транзисторных приемников. Схема и возможная конструкция такого громкоговорителя-радиоточки показаны на рис. 194. Трансформатор подключают к трансляционной линии любой половиной его первичной обмотки. Вторичная (понижающая) обмотка соединена со звуковой катушкой головки громкоговорителя.

Рис. 194. Схема и конструкция громкоговорителя-радиоточки

Но трансформатор радиоточки может быть и самодельным. Чтобы трансформатор был малогабаритным, его магнитопровод надо собрать из пермаллоевых пластин Ш-6, толщина набора 6 мм. Первичная обмотка трансформатора с таким магнитопроводом должна содержать 450 витков провода ПЭВ-1 0,1, вторичная 80 витков провода ПЭВ-1 0,23.

Переключатель S (тумблер) служит для включения и выключения радиоточки. Когда радиоточка выключена, вместо нее к линии подключается ее эквивалент резистор R сопротивлением 200 Ом. Это сделано для того, чтобы общая нагрузка усилителя оставалась всегда примерно одинаковой, независимо от числа включенных и выключенных радиоточек.

Динамические головки вместе с переходными трансформаторами, переключателями и резисторами можно смонтировать в футлярах из фанеры, оргалита или плотного толстого карт она. Поверхности стенок футляров полезно покрыть 2–3 раза олифой или масляным лаком — для защиты от влаги. Выполнять функцию микрофона может одна из радиоточек. Но значительно лучше будет работать телефонный капсюль ДЭМШ-1, подключенный ко входу усилителя всей обмоткой (средний вывод остается свободным). Держатель капсюля надо выточить или вырезать из сухого дерева и приделать к нему ручку (рис. 195, а). Капсюль должен плотно входить в отверстие держателя. Его выходными зажимами могут служить винты с гайками. Рупор, без которого эффективность капсюля снижается, надо склеить из плотного картона, просушить, а затем пропитать масляным лаком или клеем БФ-2. Его кольцо должно плотно входить в отверстие капсюльного держателя.

Рис. 195. Микрофон радиоузла на базе капсюля ДЭМШ-1 (а) и схема включения угольного микрофона (б)

Можно также использовать угольный микрофон, например капсюль МК-10 или МК-59, включив его по схеме, показанной на рис. 195, б. Здесь резистор R является ограничителем тока и одновременно нагрузкой капсюля. Напряжение звуковой частоты через зажим X1 и конденсатор C1 подается на базу транзистора V1 усилителя. Для питания такого микрофона используется батарея усилителя. Сопротивление ограничительного резистора надо подобрать опытным путем, добиваясь неискаженного звуковоспроизведения.

Налаживание усилителя радиоузла ничем не отличается от налаживания подобных ему транзисторных усилителей с двухтактным выходным каскадом. Тембр звука регулируют переменным резистором R1C1. При желании сильнее подчеркнуть низшие звуковые частоты, емкость конденсатора С8 следует увеличить до 4700–6800 пФ.

Для приема и трансляции программ радиовещательных станций можно использовать любой транзисторный приемник, подключая его выход ко входу усилителя радиоузла. Но для этой цели можно смонтировать простую однотранзисторную приставку, например по схеме на рис. 196.

Рис. 196. Радиоприемная приставка

Здесь катушка L1 и подстроечный конденсатор С2 вместе с антенным устройством образуют колебательный контур, настроенный на местную радиостанцию. Катушка включена как автотрансформатор. Ее нижняя (по схеме) секция, содержащая примерно десятую часть витков, является катушкой связи. Создающееся на ней напряжение радиочастотного сигнала через конденсатор С3 поступает на базу транзистора, работающего в режиме детектирования и усиления колебаний звуковой частоты. Через конденсатор С4 и переключатель S1 усилителя, который теперь должен быть трехпозиционным, сигнал звуковой частоты подается на вход второго каскада усилителя радиоузла

В лагерных условиях антенной может служить отрезок изолированного провода длиной 10–15 м, подвешенный на сучке дерева, а заземлением — железный штырь, вбитый в землю.

* * *

Итак, сделан еще один шаг к практическому познанию радиотехники. Шаг очень важный. Потому что, как я уже говорил вначале этой беседы, усилитель 3Ч является составной частью многих современных радиотехнических устройств. В этом ты еще не раз убедишься.

Более 800 000 книг и аудиокниг! 📚

Получи 2 месяца Литрес Подписки в подарок и наслаждайся неограниченным чтением

ПОЛУЧИТЬ ПОДАРОК