Беседа 19 НА МИКРОСХЕМАХ

До сих пор у нас шел разговор об устройстве и работе радиотехнических устройств, активными и пассивными элементами которых были дискретные элементы, т. е. подбираемые тобой транзисторы, диоды, резисторы и другие отдельные радиодетали. Соединяя их в определенном порядке, диктуемом принципиальной электрической схемой, ты конструировал разные по сложности приемники, усилители, приборы-автоматы.

Сейчас дискретные элементы все больше уступают свое место в радиотехнике и электронике, микросхемам — миниатюрным электронным блокам функционального назначения. Один такой блок, объединяющий в миниатюрном корпусе транзисторы, диоды, резисторы, может выполнять функции целого тракта радиовещательного приемника, усилителя 3Ч, генератора, преобразователя частоты, электронного автомата.

Да, юный друг, ты — современник рождения и внедрения в радиоэлектронику микросхем!

Внешний вид некоторых микросхем, с которыми тебе предстоит иметь дело в ходе этой беседы, показана на рис. 294.

Рис. 294. Внешний вид конструкций некоторых микросхем

Это микросхемы серий К118, К122 и К224. Аналогично выглядят микросхемы широкого применения многих других серий. Рядом для сравнения изображена копеечная монета, дающая представление о размерах микросхем этих серий. Масса первой из этих микросхем 1 г, второй 1,5 г, третьей 3 г.

По технологии изготовления различают микросхемы гибридные и полупроводниковые. В гибридных микросхемах токонесущие проводники, резисторы, обкладки конденсаторов представляют собой пленки определенных размеров и электрических свойств, нанесенные на диэлектрическую подложку, на которую устанавливают диоды, транзисторы (обычно кремниевые, структуры n-p-n), но без корпусов. У полупроводниковых микросхем все активные и пассивные элементы выполнены в объеме и на поверхности кристалла полупроводника.

По своему функциональному назначению микросхемы подразделяют на аналоговые (или линейно-импульсные) и логические (или цифровые). Аналоговые, а к ним относятся и микросхемы тех серий, которые я здесь уже называл, используются для усиления, генерирования, преобразования электрических колебаний, например в приемниках, магнитофонах, телевизорах. Логические же микросхемы предназначаются для электронных вычислительных машин (ЭВМ), устройств автоматики, приборов с цифровым отсчетом результатов измерений.

Вот то немногое, что в общих чертах можно сказать о микросхемах. Практика использования микросхем в тех устройствах, разговор о которых пойдет в этой беседе, поможет лучше представить их перспективность.

Начну с аналоговых микросхем.

НА АНАЛОГОВЫХ МИКРОСХЕМАХ СЕРИЙ К118 И К122

К числу наиболее простых аналоговых микросхем, уже освоенных радиолюбителями, относятся микросхемы К118УН1 и К122УН1 из серий КП8 и К122. Буква К в обозначении указывает на то, что это микросхемы широкого применения. Номер гибридной микросхемы начинается с двойки, а полупроводниковой — с единицы. Следовательно, микросхемы серий К118 и К122 полупроводниковые, широкого применения.

В обозначение микросхем входят также цифры, указывающие номера серий (например, 118, 122). Буквы У и Н характаризуют функциональное назначение микросхем — это усилители напряжения или мощности. Последняя цифра указывает порядковый номер разработки. Далее могут следовать буквенные индексы А-Д, характеризующие напряжение источника питания и усилительные свойства микросхем.

Что представляют собой микросхемы серий К118 и К222? По существу, микросхемы К118УН1 и К122УН1 являются «близнецами» и отличаются одна от другой только конструктивно.

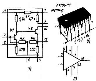
Схема «начинки» микросхемы К118УН1 (с любым буквенным индексом), конструкция с нумерацией выводов и обозначение ее на принципиальных схемах показаны на рис. 295.

Рис. 295. Схема (а), конструкция (б) и условное обозначение (в) микросхемы K118УH1

Как видишь, она представляет собой почти готовый двухкаскадный усилитель на кремниевых транзисторах структуры n-р-n. Связь между транзисторами микросхемы непосредственная. В эмиттерной цепи транзистора V2 имеется резистор сопротивлением 400 Ом. На нем происходит падение напряжения, которое через два соединенных последовательно резистора по 4 кОм подается на базу транзистора V1 и, действуя как напряжение смещения, открывает его. Резистор в коллекторной цепи транзистора V1 (5,7 кОм) — его нагрузка. Создающееся на нем напряжение усиленного сигнала подается непосредственно на базу транзистора V2 для дополнительного усиления. Вывод 3 является входом, а вывод 10 — выходом микросхемы.

Всего микросхема имеет 14 выводов, нумерация которых идет от специальной метки на корпусе в направлении движения часовой стрелки (смотреть снизу). Но некоторые из них, например выводы 1, 4, 6, 8 и 13, вообще не задействованы, а некоторые, в зависимости от применения микросхемы, не используются.

Приведу несколько конкретных примеров практического применений микросхемы К118УН1.

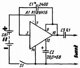
Первый пример — простой усилитель 3Ч (рис. 296), который можно использовать, например, для прослушивания грамзаписи на головные телефоны или в качестве предварительного усиления напряжения колебаний 3Ч.

Рис. 296. Усилитель на микросхеме К118УН1Б

В нем работает микросхема К118УН1Б, дающая несколько большее усиление, чем такая же микросхема, но с буквенным индексом А. Источник питания Uи. п, напряжением не более 6,3 В подключают к микросхеме через ее выводы 7 (плюс) и 14 (минус). Сигнал звуковой частоты, который надо усилить, подается на вход 3 микросхемы через конденсатор С1. Усиленный сигнал, снимаемый с соединенных вместе выводов 9 и 10 (с резистора внутри микросхемы сопротивлением 1,7 кОм, выполняющего роль нагрузки транзистора V2), через конденсатор С5 поступает к телефонам В1 и преобразуется ими в звук. Конденсатор С4 блокирует телефоны по наивысшим частотам звукового диапазона.

Какова роль электролитических конденсаторов С2 и С3, включенных между общим заземленным проводником цепи питания и выводами 11 и 12 микросхемы? Конденсатор С2 совместно с резистором микросхемы (4 кОм) образует развязывающий фильтр, устраняющий паразитную обратную связь между вторым и первым каскадами микросхемы через общий источник питания. Без него колебания тока, возникающие при работе транзистора второго каскада, могут проникнуть в цепь питания транзистора первого каскада, что приведет к самовозбуждению усилителя. Подобные развязывающие фильтру были во многих твоих конструкциях.

Конденсатор С3 шунтирует эмиттерный резистор транзистора второго каскада микросхемы (400 Ом) по переменному току и тем самым ослабляет отрицательную обратную связь, снижающую усиление микросхемы. С подобным включением конденсаторов ты также сталкивался при конструировании приемной и усилительной аппаратуры.

Если для усилителя использовать электролитические конденсаторы К50-6, то его детали, кроме источника питания (четыре элемента 332 или пять аккумуляторов Д-0,06) и выключателя (тумблер ТВ2-1), можно смонтировать на плате размерами не более чем 40х25 мм (рис. 296, б). Детали размещай с одной стороны платы, а соединения между ними делай с другой стороны.

Для выводов микросхемы просверли в плате два ряда отверстий диаметром 0,8–1 мм; расстояние между рядами отверстий 7,5 мм, между центрами отверстий в рядах 2,5 мм.

Телефоны В1 — высокоомные ТОН-2. Если будешь использовать телефонный капсюль ДЭМ-4М или низкоомные головные телефоны, то включай их между плюсовым проводником и выводом 10 микросхемы (не соединяя его с выводом 9). Правильно смонтированный усилитель не нуждается в подгонке режимов транзисторов. Чтобы он начал работать, надо лишь подать на него напряжение питания.

Второй пример генератор колебаний звуковой частоты (рис. 297).

Рис. 297. Схема генератора колебаний звуковой частоты

Чтобы усилитель микросхемы превратить в генератор электрических колебаний частотой 800-1000 Гц, между его выходом (соединенные вместе выводы 9 и 10) и входом (вывод 3) надо включить конденсатор С1 емкостью 2200–3000 пФ. Этот конденсатор создаст между выходом и входом микросхемы положительную обратную связь по переменному току и усилитель возбудится. При этом в головных телефонах, подключенных к выходу генератора, будет слышен звук средней тональности. Желательный тон этого звука можно устанавливать подбором емкости конденсатора С1: чем больше будет его емкость, тем ниже тон звука.

Такой генератор можно использовать как источник сигнала для проверки работоспособности усилителей 3Ч. Можно использовать его и в качестве звукового генератора для изучения телеграфной азбуки. В этом случае надо только вместо выключателя питания S1 включить телеграфный ключ, а к выходу подключить головные телефоны.

Третий пример — малогабаритный рефлексный приемник прямого усиления. Его принципиальная схема, монтажная плата и детали в развернутом виде, а также соединения деталей на плате показаны на рис. 298. Принципиально этот приемник подобен знакомому тебе приемнику 2-V-2 (см. рис. 210), только тот приемник был с фиксированной настройкой, а этот с плавной настройкой на сигналы радиовещательных станций.

Рис. 298. Принципиальная схема (а), детали в развернутом виде (б) и монтажная плата (в) рефлексного приемника на микросхеме К118УН1Б

Коротко о работе такого варианта приемника. Сигнал радиостанции, на которую настроен контур L1C1 магнитной антенны, через катушку связи L2 подается на вывод 3 микросхемы А1. С катушки L3, являющейся радиочастотной нагрузкой микросхемы, усиленный сигнал через катушку L4 поступает на диод V1, а колебания звуковой частоты, снимаемые с нагрузки R1 детектора, через конденсатор С8 и катушку L2 — на тот же входной вывод 3 микросхемы. Роль второй нагрузки выполняет резистор сопротивлением 400 Ом в эмиттерной цепи второго транзистора микросхемы. С него колебания звуковой частоты через вывод 12 и конденсатор С6 подводятся к телефону В1 и преобразуются им в звук.

Каковы функции других деталей приемника? Конденсатор С5 шунтирует источник питания Uи.п по переменному току. Конденсатор С2 совместно с резистором, имеющимся в микросхеме, образуют развязывающий фильтр. Конденсатор С3, включенный между выводом 5 и заземленным проводником, устраняет отрицательную обратную связь по переменному току, снижающую усиление первого каскада микросхемы. Конденсатор С4 блокирует телефон по наивысшим частотам звукового диапазона и устраняет отрицательную обратную связь во втором каскаде усилителя радиочастоты.

Источником питания приемника служит батарея, составленная из пяти аккумуляторов Д-0,1, (можно использовать четыре элемента 322 или 316, соединенные последовательно).

Для магнитной антенны W1 используй ферритовый стержень марки 400НН или 600НН диаметром 8 и длиной 55–60 мм, а для высокочастотного трансформатора L3, L4 ферритовое кольцо диаметром 7–8 мм. Для приема радиостанций средневолнового диапазона контурная катушка L1, намотанная на бумажной гильзе, должна содержать 70–80 витков; катушка связи L2, намотанная поверх контурной катушки, 5–6 витков провода ПЭВ-1 0,12-0,15, а для приема радиостанций длинноволнового диапазона — соответственно 210–220 и 15–20 витков такого же провода. Длинноволновую контурную катушку желательно намотать четырьмя-пятью секциями по равному числу витков в каждой секции.

Катушки высокочастотного трансформатора наматывай проводом ПЭВ-1 0,1–0,12 с помощью проволочного челнока, предварительно сгладив углы ферритового кольца наждачной бумагой. Для средневолнового диапазона катушка L3 должна содержать 75–80 витков, L4 — 60–85 витков, а для длинноволнового диапазона соответственно 110–120 и 75–80 витков такого же провода.

Конденсатор переменной емкости С1 контура магнитной антенны может быть любой конструкции. Желательно, однако, чтобы он был малогабаритным, например типа КПЕ-180. Можно, разумеется, использовать и подстроечный конденсатор КПК-2 с наибольшей емкостью 100 пФ, но тогда диапазон волн, перекрываемый контуром, несколько сузится. От того, каким будет этот элемент настройки контура, зависит конструкция приемника в целом.

Телефон В1 — ушной типа ТМ-2М, ТМ-4М, телефонный капсюль ДЭМШ-4М или низкоомные головные телефоны, например ТА-56М. Конденсаторы С2, С3 и С5 — электролитические типа К50-6, С4 и С7-КЛС или МБМ.

Проверку работоспособности приемника производи в таком порядке. Сначала телефон (желательно высокоомный) подключи к нагрузочному резистору R1 детектора, а вывод отрицательной обкладки конденсатора С8 (отпаяв его от резистора R1) соедини с заземленным проводником цепи питания. Изменяя емкость конденсатора С1 и одновременно поворачивая приемник с магнитной антенной в горизонтальной плоскости, ты должен услышать те станции, которые уверенно принимаются в вашей местности. После восстановления соединения конденсатора С8 с нагрузкой детектора и включения телефона на свое место громкость радиоприема должна стать значительно больше.

Никакой подгонки режимов транзисторов микросхемы приемник не требует. Что же касается небольшого смещения границ диапазона волн, перекрываемого приемником, то это, как ты уже знаешь, можно сделать изменением положения контурной катушки L1 (вместе с катушкой L2) на ферритовом стержне.

В любом из этих устройств, о которых я здесь рассказал, можно также использовать микросхему К118УН1А или, увеличив напряжение источника питания до 12 В, микросхему К118УН1В. В первом случае уровень сигнала на выходе усилителя, генератора или приемника будет несколько слабее, а во втором — несколько сильнее. При этом никаких изменений в монтаже делать не надо.

Можно, разумеется, использовать и аналогичные им микросхемы К122УН1А-В. Но тогда нужно будет изменить участок монтажа, относящийся непосредственно к микросхеме в соответствии с ее конструкцией и расположением выводов. Микросхемы этой серии внешним видом напоминают массовые биполярные транзисторы. У них по 12 выводов, расположенных со стороны дна корпуса (рис. 299, а). Нумерация выводов идет от выступа, имеющегося на ободке металлического корпуса, в направлении движения часовой стрелки. При этом на корпус микросхемы надо смотреть снизу. Чтобы исключить ошибки при монтаже, на рис. 299, б указана нумерация выводов микросхем серии К122, а в скобках — соответствующая им нумерация выводов заменяемых микросхем серии К118.

При проведении такой замены учти: микросхемы К122УН1 с буквенными индексами А и Б рассчитаны на напряжение питания 6,3 В, а микросхемы с буквенными индексами В-Д — на напряжение 12,6 В. Значительное превышение напряжения источника питания может вывести микросхемы из строя.

Рис. 299. Цоколевка (а) и нумерация выводов (б) микросхем К122УН1А-К122УН1В

СУПЕРГЕТЕРОДИН НА МИКРОСХЕМАХ СЕРИИ К224

Характерная особенность этого варианта радиовещательного приемника — использование в нем микросхем серии К224 совместно с маломощными низкочастотными биполярными транзисторами.

Принципиальная схема супергетеродина изображена на рис. 300. Здесь же приведены схемы и нумерация выводов используемых в приемнике микросхем.

Рис. 300. Супергетеродин на микросхемах серии К224

Этот приемник, как и транзисторный супергетеродин, знакомый тебе по пятнадцатой беседе, однодиапазонный с внутренней магнитной антенной. Рассчитан на прием радиостанций средневолнового диапазона. Питается от батареи напряжением 9 В.

В приемнике, как видишь, использованы три микросхемы: К2ЖА242 (А1), К2УС248 (А2) и К2УС245 (АЗ). Первая из них, содержащая два транзисторных каскада, работает в преобразователе частоты с отдельным гетеродином, вторая — в двухкаскадном усилителе ПЧ (транзисторы второго каскада включены по так называемой каскодной схеме), третья — в пятикаскадном предварительном усилителе напряжения звуковой частоты (транзисторы первого и третьего каскадов включены по схеме эмиттерного повторителя, остальные — по схеме ОЭ). В выходном двухтактном бестрансформаторном усилителе мощности работают низкочастотные маломощные германиевые транзисторы структур n-p-n (V2) и p-n-p (V3). Выходная мощность приемника около 150 мВт, промежуточная частота 465 кГц.

Входной контур магнитной антенны W1 образуют катушка L1 и конденсаторы С1 и С2, контур гетеродина — катушка L4 и конденсаторы С3-С6. Контуры настраивают блоком КПЕ С1 и С5. Конденсатор С4 контура гетеродина — сопрягающий: он обеспечивает разность частот гетеродинного и входного контуров, равную промежуточной частоте приемника. Подстроечными конденсаторами С2 и С6 осуществляют сопряжение настроек контуров на высокочастотном конце диапазона, перекрываемого приемником. Конденсатор С3 — блокировочный. Его емкость во много раз больше емкости последовательно соединенных конденсаторов С4 и С5, поэтому он практически не влияет на частоту контура гетеродина, а лишь предотвращает замыкание постоянной составляющей тока транзистора этого каскада на заземленный проводник приемника.

Питание на электроды транзисторов микросхемы А1 подается: на коллектор транзистора смесительного каскада — через катушку L5 высокочастотного трансформатора L5L6 и вывод 4, на базу этого транзистора — с делителя напряжения R1, R2 через вывод 2 микросхемы; на коллектор транзистора гетеродина — через резистор R6, катушку L4, резистор R3 и вывод 9, а на его базу — через резистор R5 и вывод 8. Нижняя (по схеме) секция катушки L4, соединенная через резистор R4 и внутренний конденсатор микросхемы с эмиттером транзистора гетеродина, выполняет роль катушки обратной связи.

Принятый сигнал радиостанции через катушку связи L2, индуктивно связанную с катушкой L1 контура магнитной антенной, поступает на вывод 1 микросхемы. Сюда же, через ту же катушку связи, подается и сигнал гетеродина. В результате смешения сигналов радиостанции и гетеродина в выходной цепи микросхемы (вывод 4 — катушка L5) создаются колебания промежуточной частоты 465 кГц. Контуры L6С7 и L7С9, настроенные на эту частоту, образуют полосовой фильтр промежуточной частоты. Первый контур через катушку L5 связан с преобразователем частоты, второй — через катушку L8 и конденсатор С11 со входом 2 микросхемы А2. С контура L9C15, включенного в выходную цепь этой микросхемы (выводы 7 и 8), усиленный сигнал промежуточной частоты через катушку связи L10 подается на диод V1 для детектирования.

Питание на транзисторы микросхемы А2 подается через развязывающий фильтр R7C13. Конденсаторы С12 и С14 совместно с внутренними резисторами этой микросхемы образуют дополнительные развязывающие фильтры, предотвращающие самовозбуждение усилителя ПЧ.

Нагрузкой детектора служит переменный резистор R10, выполняющий одновременно и роль регулятора громкости. Колебания звуковой частоты, снимаемые с его движка, через конденсатор С19 поступают на вход (вывод 2) микросхемы А3. С вывода 1 сигнал 3Ч, усиленный первым каскадом этой микросхемы, через электролитический конденсатор С21 поступает на вход (вывод 5) второго каскада. Усиленный этим каскадом сигнал с вывода 9 подается в базовую цепь транзисторов V2 и V3 усилителя мощности, нагруженного (через конденсатор С25) на динамическую головку В1.

Резисторы R11 и R12 образуют делитель, с которого на базу первого транзистора микросхемы А3 подается положительное напряжение смещения, а резистор R13 с конденсатором С20 — ячейку развязывающего фильтра. Напряжение питания на вывод 3 микросхемы А3 снимается со средней точки эмиттеров транзисторов V2 и V3 (точка симметрии). Одновременно по этой цепи с выхода усилителя мощности на вход микросхемы подается сигнал отрицательной обратной связи, улучшающий частотную характеристику усилителя 3Ч.

Глубину отрицательной обратной связи регулируют подбором резистора R14. Конденсатор С24 создает цепь отрицательной обратной связи для высших частот усиливаемого сигнала. Подбором емкости этого конденсатора можно регулировать тембр звука. Резистор R15 создает на базах транзисторов V2 и V3 (относительно эмиттеров) небольшое напряжение смещения, устраняющее искажения типа «ступенька» при слабом входном сигнале. Конденсатор С16, шунтирующий источник питания по переменному току, улучшает условия работы приемника при частично разрядившейся батарее. Резистор R8 и конденсатор С10 образуют развязывающий фильтр, предотвращающий паразитную связь между усилителями 3Ч и РЧ приемника через общий источник питания.

Указанные на принципиальной схеме напряжения на некоторых участках цепей приемника измерены относительно заземленного проводника цепи питания вольтметром с относительным входным сопротивлением 10 кОм/В при напряжении батареи, равном 9 В.

Все детали приемника, кроме динамической головки, можно смонтировать на одной общей печатной пласте с внешними размерами 130х80 мм, выполненной из фольгированного стеклотекстолита или гетинакса толщиной 2 мм. Головку В1 типа 0.5ГД-21, определяющую размеры приемника, крепят непосредственно к лицевой стенке корпуса.

Внешний вид такой монтажной платы (со стороны деталей), разметка печатной платы (со стороны печатных проводников) и схема соединений деталей на ней показаны на рис. 301.

Рис. 301. Монтаж деталей, разметка токонесущих проводников печатной платы и схема соединений на ней

Конденсаторы С1, С5 и С2, С6 — блок КПЕ-3 транзисторного приемника «Алмаз». Можно также использовать аналогичные блоки КПЕ, от приемников «Сокол», «Старт-2», «Космонавт». Катушки L5-L10 усилителя ПЧ-трансформаторы фильтров промежуточной частоты транзисторного приемника «Соната». Их намоточные данные: L6, L7 и L9 — по 99 витков провода ЛЭ5х0,06. Катушки намотаны тремя секциями (по 33 витка в каждой) на унифицированных каркасах, помещенных в чашки из феррита марки 600НН диаметром 8,6 мм. Катушки L5, L8, L10 содержат по 30 витков (три секции по 10 витков), намотанных проводом ПЭЛШО 0,1 поверх соответствующих им контурных катушек L6, L7 и L9.

Вообще же можно использовать трансформаторы промежуточной частоты от любого другого промышленного малогабаритного транзисторного супергетеродина. Надо только в контуры включить конденсаторы С7, С9, С15 соответствующих емкостей. В контуры промежуточной частоты приемника «Сокол-2», например, катушки которых содержат меньше витков, чем катушки контуров приемника «Соната», надо включить конденсаторы емкостью по 1000 пФ.

Гетеродинная катушка L4 намотана на таком же каркасе, что и катушки контуров промежуточной частоты, и содержит 100 витков провода ПЭВ-1 0,1. Отвод сделан от 15-го витка, считая от нижнего (по схеме) вывода. Катушка L3 имеет четыре витка такого же провода.

Катушки L1 и L2 намотаны на отдельных каркасах, размещенных на стержне из феррита марки 400НН диаметром 8 и длиной 120 мм. Катушка L1 содержит 75 витков, L2 — 8 витков провода ПЭВ-1 0,12. Ферритовый стержень укреплен на плате нитками, под концы стержня подложены амортизирующие резинки. Все электролитические конденсаторы типа К50-6, неэлектролитические конденсаторы постоянной емкости — КТ, КЛС; резисторы МЛТ-0,25 или МЛТ-0,5; переменный резистор R10, объединенный с выключателем питания S1, СПЗ-3б.

Статический коэффициент передачи тока транзисторов V2 и V3 должен быть не менее 40. Транзисторы желательно подобрать с возможно близкими параметрами h21Э и IКБО.

Микросхемы серии К224 имеют по девять гибких выводов шириной 0,5 и длиной 7 мм, расположенных на расстоянии 2,5 мм. Выводы надо осторожно изогнуть, пропустить через отверстия, просверленные в плате в шахматном порядке, и снизу припаять к токонесущим проводникам платы. Расстояние между рядами отверстий может быть 4–5 мм, между центрами отверстий в рядах 5 мм. Неиспользуемые выводы (например, выводы 4 и 5 микросхем А1 и А2) можно отогнуть в сторону и отверстий для них не сверлить.

Источником питания может быть батарея «Крона» или аккумуляторная батарея 7Д-0,1. Можно, конечно, питать приемник и от двух соединенных последовательно батарей 3336Л, но в этом случае придется значительно увеличить габаритные размеры корпуса приемника.

В твоем распоряжении может не оказаться именно тех деталей, под которые рассчитана печатая плата приемника. Поэтому подобранные и проверенные детали размести в рекомендуемом порядке на листе бумаги и с учетом их конструкций и габаритных размеров произведи соответствующую корректировку печатных проводников платы. Если нет фольгированного материала, соединения деталей на плате, изготовленной из листового гетинакса или текстолита такой же толщины, делай отрезками монтажного провода.

При любом виде монтажа особое внимание уделяй правильности соединения выводов микросхем и транзисторов с другими деталями и полярности включения электролитических конденсаторов. Испытать и предварительно наладить приемник желательно на макетной панели, что избавит тебя от лишних перепаек, смен деталей, причем делать это можно раздельно, по трактам.

Убедившись в том, что в монтаже ошибок нет, к контактам выключателя питания присоедини миллиамперметр и таким образом измерь общий ток, потребляемый приемником от батареи. Он не должен быть больше 15–20 мА. Ток коллекторной цепи транзисторов V2 и V3, соответствующий 5–6 мА, устанавливай подбором резистора R15, а напряжение 4–4,5 В в точке симметрии выходного каскада — подбором сопротивления резистора R11. При замене резистора R15 источник питания обязательно должен быть выключен, иначе может произойти тепловой пробой транзисторов выходного каскада.

Проверить работу усилителя 3Ч приемника можно с помощью генератора звуковой частоты или путем воспроизведения грамзаписи. Выход генератора звуковой частоты или звукосниматель присоединяй к крайним выводам резистора R10, предварительно отключив от него резистор R9 и конденсатор С18.

При подаче сигнала генератора или при проигрывании грампластинки звук в динамической головке должен быть достаточно громким, неискаженным и плавно изменяться при вращении регулировочного диска переменного резистора R10. Если при слабом входном сигнале появляются заметные на слух искажения, устраняй их увеличением сопротивления резистора R15.

Микросхема А2 подгонки режимов работы ее транзисторов не требует. Надо только проверить, подается ли напряжение (около 6,5 В) на ее вывод 6. Напряжение на выводе 2 микросхемы А1, равное 3–3,2 В, устанавливай подбором сопротивления резистора R1. Затем резистор R5 в базовой цепи транзистора гетеродина замени переменным резистором на 100–150 кОм и постепенно уменьшай его сопротивление до появления в головке (или головных телефонах, подключенных к резистору R10) звука, напоминающего щелчок. Этот звук — признак порога возбуждения гетеродина. Сопротивление резистора R5 должно быть на 15–20 кОм меньше сопротивления введенной части временно включенного вместо него переменного резистора. Дополнительно генерацию гетеродина можно проверить с помощью миллиамперметра, включив его между резистором R6 и плюсовым проводником источника питания. При замыкании выводов катушки L4 контура гетеродина, когда генерация срывается, миллиамперметр должен показывать возрастающий ток.

После этого приемник настрой на какую-либо радиостанцию и подстройкой контуров промежуточной частоты, начиная с контура L9C15, добейся наибольшей громкости приема этой станции.

Сопряжение гетеродинного и входного контуров делай, как об этом я рассказывал применительно к транзисторному варианту супергетеродина. Роторы блока конденсаторов C1, С5 установи в положение, близкое к их максимальной емкости, и только подстроечным сердечником гетеродинной катушки L4 настраивай приемник на одну из радиостанций низкочастотного участка диапазона. Затем, не изменяя положения роторов блока КПЕ, перемещением только катушки L1 по ферритовому стержню добейся наибольшей громкости приема той же станции. После этого роторы блока КПЕ установи в положение, близкое к минимальной емкости, подстроечным конденсатором С6 гетеродинного контура настрой приемник на одну из станций высокочастотного участка диапазона, а затем подстроечным конденсатором С2 контура магнитной антенны добивайся наибольшей громкости приема этой же станции.

Остается укрепить динамическую головку и монтажную плату с батареей питания в корпусе, конструкцию которого ты, надеюсь, сумеешь разработать сам.

УСИЛИТЕЛЬ 3Ч НА ОДНОЙ МИКРОСХЕМЕ

Микросхема К177УН7 серии К174, на базе которой можно смонтировать законченный усилитель 3Ч для монофонического электрофона или тракт звуковой частоты радиовещательного приемника, предназначена для телевизионных приемников. В ее монокристалле кремния, заключенном в пластмассовый корпус размерами 21,5х6,8х4 мм, работает 16 транзисторов разных структур, 5 диодов и 16 резисторов, которые вместе с внешними деталями, подключаемыми к микросхеме при монтаже, образуют несколько каскадов предварительного усиления сигнала и двухтактный усилитель мощности. Транзисторы каскада усиления мощности имеют тепловой контакт с металлической пластиной, выступающей из корпуса.

Она выполняет функцию небольшого радиатора, отводящего тепло от транзисторов. При необходимости более эффективного охлаждения транзисторов выходного каскада к выступающим частям пластины привертывают дополнительную пластину, изогнутую в виде перевернутой буквы «П» с вырезом по корпусу. Дополнительный радиатор не должен касаться выводов микросхемы.

Внешний вид этой микросхемы и принципиальная схема усилителя 3Ч, который на ее базе можно построить, показаны на рис. 302, а. Сигнал от звукоснимателя ЭПУ или с выхода детекторного каскада радиовещательного приемника подается через разъем X1 на переменный резистор R1, выполняющий функцию регулятора громкости, а с его движка - на вход (вывод 8) микросхемы А1. С выхода микросхемы (вывод 12) сигнал звуковой частоты, усиленный всеми ее каскадами, поступает через конденсатор С8 к динамической головке В1 и преобразуется ею в звук.

При напряжении источника питания 12 В выходная мощность усилителя составляет 2–2,5 Вт. В отсутствие входного сигнала потребляемый ток не превышает 20 мА, а при наиболее сильных сигналах он увеличивается до 200–250 мА. Источником питания может служить батарея, составленная из восьми элементов 343 или 373, или выпрямитель со стабилизатором выходного напряжения.

Напряжение питания на микросхему подается через выводы 1 и 10. Через резистор R2 на базу р-n-р транзистора первого каскада микросхемы подается открывающее его отрицательное напряжение смещения. Конденсатор С2 совместно с несколькими элементами микросхемы образуют фильтр, через который питаются транзисторы первых каскадов усилителя. Конденсатор С3 и резистор R3 входят в цепь отрицательной обратной связи, улучшающей частотную характеристику усилителя.

Конденсатор С5 и резистор R4 — элементы «вольтодобавки», позволяющей более полно использовать по мощности выходные транзисторы микросхемы. Конденсаторы С4 и С6 и пеночка R5, С7 служат для коррекции усилителя по высшим частотам звукового диапазона. Конденсатор С9 шунтирует батарею питания по переменному току.

Таково, коротко, назначение внешних деталей, обусловливающих работу, микросхемы К174УН7 в режиме усиления колебаний звуковой частоты.

Микросхему вместе с дополнительными деталями можно смонтировать на плате размерами 65х50 мм (рис. 302, б).

Рис. 302. Усилитель 3Ч на микросхеме К174УН7

Монтаж может быть как печатным, так и навесным. При навесном монтаже его опорными точками могут служить пустотелые заклепки или отрезки медного луженого провода, запрессованные в отверстиях, просверленных в плате. Детали, в том числе и саму микросхему, размещай с одной стороны платы, а соединения между их выводами делай с другой стороны (на рис. 302, б вид на плату показан со стороны токонесущих проводников). Выводы 2, 3 и 11 микросхемы не используются, поэтому их можно осторожно отогнуть в сторону и не пропускать через отверстия в плате.

Переменный резистор R1 с выключателем мигания S1, находящийся за пределами платы, может быть любого типа (ТК, СП-3), постоянные резисторы —. MЛT. Все электролитические конденсаторы типа К50-6, остальные конденсаторы — МБМ, БМ-2, КЛС. Динамическая головка В1 мощностью 2–3 Вт, например 2ГД-28, 3ГД-38 со звуковой катушкой сопротивлением 4,5–6,5 Ом.

Если конденсаторы и резисторы предварительно проверены и ошибок в монтаже нет, усилитель никакого налаживания не требует: он начинает работать сразу же после включения питания. Признаком его работоспособности может служить громкий звук (фон переменного тока), появляющийся в головке при касании верхнего (по схеме) контактного, гнезда входного разъема X1 и изменяющегося по силе при вращении ручки переменного резистора R1.

Усилитель можно питать от источника питания напряжением 9 В, например при совместной работе с радиочастотным трактом приемника прямого усиления или супергетеродина. Но тогда его выходная мощность составит 1–1,5 Вт. При напряжении же источника питания 15 В, на которое и рассчитана микросхема К174УН7, выходная мощность усилителя увеличится до 4…4,5 Вт. Но в этом случае микросхема должна иметь дополнительный теплоотводящий радиатор.

НА ЛОГИЧЕСКИХ ЭЛЕМЕНТАХ

Логические микросхемы предназначаются главным образом для аппаратуры обработки логических сигналов и цифровой информации в вычислительной технике, например в ЭВМ, электронной автоматике. Отсюда и название микросхем этого класса: логические или цифровые. К ним относятся различные генераторы, триггеры, счетчики импульсов, делители частоты, шифраторы и дешифраторы, запоминающие устройства и многие другие микросхемы функционального назначения. Но в этой части беседы я познакомлю тебя лишь с наиболее простыми логическими микросхемами, на базе которых можно выполнить различные электронные устройства.

У радиолюбителей, интересующихся цифровой техникой, наибольшей популярностью пользуются микросхемы серии К155, являющиеся основой для построения современных ЭВМ. Составной частью многих из них, и не только микросхем этой серии, служит логический элемент И-НЕ, графическое изображение которого ты видишь на рис. 303, а. Его условным символом является знак «&» внутри прямоугольника (заменяющий союз «И»).

У такого логического элемента может быть два и больше входов, обозначаемых слева, и один выход — справа. Небольшой кружок, которым начинается выходная линия связи, символизирует логическое отрицание «НЕ» на выходе элемента. На языке цифровой техники «НЕ» означает, что логический элемент И-НЕ является инвертором, т. е. электронным устройством, уровень выходного сигнала которого противоположен входному.

Рис. 303. Логический элемент 2И-НЕ (а) и микросхема 155ЛАЗ (б)

Электрическое состояние логического элемента И-НЕ характеризуют электрическими сигналами на его входах и выходе. В соответствии с двоичной системой счисления, принятой в цифровой технике, сигнал небольшого (или нулевого) уровня, напряжение которого не превышает 0,3–0,4 В, называют логическим нулем (0), а сигнал более высокого уровня (по сравнению с логическим 0), уровень которого может быть 2,5–3,5 В — логической единицей (1). Если, например, говорят, что на выходе элемента логическая 1 (на входе, следовательно, логический 0), это значит, что в данном случае на выходе элемента действует сигнал, напряжение которого соответствует уровню логической 1.

Действие такого элемента как инвертора можно сравнить с работой кремниевого n-р-n транзистора в режиме переключения. Если его базу соединить с эмиттером или подавать на нее положительное напряжение смещения, не превышающее 0,3–0,4 В, транзистор будет находиться в открытом состоянии и напряжение на его коллекторе будет близко к напряжению питания. При таком состоянии транзистора входное напряжение низкого уровня можно принять за логический 0, а выходное напряжение более высокого уровня — за логическую 1. Если затем на базу подать такое положительное напряжение смещения, при котором транзистор откроется, то напряжение на его коллекторе упадет почти до нуля. Такое состояние транзистора будет в нашем примере соответствовать выходному напряжению низкого уровня и входному высокого уровня. При подаче на базу пульсирующего напряжения транзистор с частотой и полярностью следования импульсов будет переключаться из открытого состояния в закрытое и, наоборот, из закрытого состояния в открытое, имитируя работу инвертора.

Но у элемента 2И-НЕ (рис. 303, а), с которого я начал знакомить тебя с логическими микросхемами, два входа. Поэтому и принцип его действия несколько отличается от свойств одного транзистора, работающего в режиме переключения. Сущность действия такого элемента заключается в том, что при подаче на один из его входов напряжения низкого уровня, а на второй вход напряжения высокого уровня, на выходе появляется напряжение высокого уровня, которое исчезает при подаче на оба входа сигналов, соответствующих напряжению высокого уровня. В этом и заключается логика элемента 2И-НЕ.

Если все входы такого элемента соединить вместе, т. е. сделать его одновходовым, он будет работать как инвертор. Напряжение на входе логического элемента, при котором он переходит из одного устойчивого состояния в другое, т. е. переключается из открытого состояния в закрытое, называют пороговым.

Для микросхем серии К155 пороговое напряжение составляет примерно 1,15 В.

Для твоих опытных конструкций потребуется, прежде всего, микросхема K155ЛA3, условное обозначение которой показано на рис. 303, б. Конструктивно она выглядит так же, как микросхемы серии К118, но в ее корпусе четыре логических элемента 2И-НЕ. Каждый из них имеет свои входы и выход и работает как самостоятельный элемент. Источник постоянного тока напряжением не более 5 В, питающий все элементы микросхемы, подключают к ее выводам 7 (—5 В) и 14 (+5 В). Но эти выводы не принято указывать на условных изображениях цифровых микросхем, потому что на принципиальных электрических схемах тех или иных устройств элементы, составляющие микросхемы, в подавляющем большинстве случаев чертят раздельно.

Схема первого опытного устройства на цифровой микросхеме, которую я предлагаю тебе для закрепления в памяти принципа работы логического элемента 2И-НЕ, показана на рис. 304. Из четырех элементов микросхемы K455ЛA3 в нем работают только два (любых) а два других не используются.

В целом это устройство представляет собой генератор световых импульсов, который можно использовать, например, для модели маяка.

Рис. 304. Схема генератора световых импульсов с использованием логических элементов 2И-НЕ

Элементы D1.1 и D1.2, включенные инверторами, соединены между собой последовательно, образуя как бы двухкаскадный транзисторный усилитель с непосредственной связью. Конденсатор С1, включенный между выходом элемента D1.2 и входом элемента D1.1, создает между выходом и входом такого усилителя положительную обратную связь, благодаря которой он возбуждается, начинает генерировать электрические колебания.

Догадываешься, что представляет собой эта часть электронного устройства? Совершенно верно: мультивибратор, генерирующий импульсы напряжения, близкие по форме к прямоугольным.

Частота импульсов зависит от емкости конденсатора С1 и сопротивления резистора R1. При емкости конденсатора С1, указанной на схеме, только переменным резистором R1 частоту импульсов можно изменять примерно от 60 до 120 в 1 мин (1–2 Гц). С вывода 6 элемента D1.2, являющегося выходом мультивибратора, скачкообразно изменяющееся напряжение подается на базу транзистора V1 и управляет его работой. В те моменты времени, когда на выводе 6 этого элемента напряжение низкого уровня, транзистор V1 закрыт. Когда же на этом выводе напряжение высокого уровня, транзистор открывается и лампочка Н1 в его коллекторной цепи загорается. Таким образом, транзистор, управляемый перепадами напряжения на выходе элемента D1.2, работает в режиме переключения, а частота световых вспышек лампочки определяется частотой импульсов, генерируемых мультивибратором.

Все детали генератора световых импульсов, кроме источника питания, можно смонтировать на картонной плате размерами примерно 40х60 мм. Микросхему D1, электролитический конденсатор С1 (типа К50-6), транзистор V1, лампочку накаливания Н1 (МН2,5–0,068) и резисторы размещай с одной стороны платы, а соединения между ними делай с другой стороны. Выводы микросхемы пропусти через проколы в плате до упора корпуса, отогни немного в стороны и туг же пронумеруй, чтобы исключить ошибки в соединении ее элементов.

Источником питания может быть сетевой блок питания, батарея 3336Л или батарея, составленная из трех элементов 332. Проводник положительного полюса источника тока (желательно в изоляции красного цвета) подключай к выводу 14, а проводник отрицательного полюса — к выводу 7 микросхемы.

Прежде чем включить питание, движок резистора R1 поставь в положение наибольшего введенного сопротивления (по схеме — в крайнее правое), а между общим заземленным проводником и выходом мультивибратора (вывод 6 элемента D1.2) включи вольтметр постоянного тока. Если ошибок в монтаже нет, то после включения питания стрелка вольтметра должна периодически, с частотой мультивибратора, отклоняться от нулевой отметки шкалы и с такой же частотой вспыхивать лампочка в коллекторной цепи транзистора.

Попробуй уменьшать введенное сопротивление переменного резистора R1 — частота колебаний стрелки вольтметра и вспышек лампочки накаливания должна плавно увеличиваться.

Подключи параллельно конденсатору С1 второй конденсатор такой же или большей емкости. Что изменилось? Частота световых вспышек, регулируемая резистором R1, уменьшилась примерно вдвое. Емкость этого конденсатора можно уменьшить примерно до 100 мкФ. Но тогда при минимальном сопротивлении резистора R1 частота импульсов, генерируемых мультивибратором, будет столь значительной, что стрелка вольтметра и нить накала лампочки из-за инерционности уже не смогут на них реагировать. На такую частоту будут реагировать только головные телефоны, подключенные к выходу мультивибратора.

Такой генератор ты можешь также использовать в качестве «мигалки» — указателя поворотов при езде на велосипеде. В этом случае резистор R1 может быть постоянным, но подобранным такого номинала, чтобы лампочка вспыхивала не более 50–60 раз в 1 мин. Источник питания — батарея 3336Л. Для коммутации цепей питания используй трехпозиционный двухсекционный тумблер со средним нейтральным положением. В среднем положении ручки тумблера генератор и лампочки накаливания, находящиеся слева и справа от сидения велосипеда, обесточены. В левом положении ручки тумблера будут включаться одновременно сам генератор и левая лампочка, а при правом положении ручки тумблера тоже генератор и правая лампочка указателя поворотов. Составить схему такой коммутации цепей питания ты, надеюсь, сможешь и без моей помощи.

Схему еще одного устройства на микросхеме К155ЛАЗ, в котором работают все составляющие ее элементы 2И-НЕ, ты видишь на рис. 305. Это тоже генератор, но он низкочастотный.

Рис. 305. Схема генератора колебаний звуковой частоты

Сам генератор образуют последовательно соединенные элементы D1.1, D1.2 и D1.3. Конденсатор С1 создает между выходом второго элемента и входом первого элемента положительную обратную связь, обеспечивающую автоколебательный процесс, а резистор R1 стабилизирует режим возбуждения генератора.

Работает устройство следующим образом. Сразу после включения питания (выключателем S1) конденсатор С1 начинает заряжаться через резистор R1. Предположим, что в этот момент времени на выходе элемента D1.2 будет напряжение высокого уровня (около 4 В), тогда на выходе элемента D1.3 будет напряжение низкого уровня (примерно 0,4 В). Как только напряжение на левой (по схеме) обкладке конденсатора С1, а значит, и на входе элемента D1.1 станет ниже порогового (1,2–2,3 В), состояние всех элементов изменится на обратное. Теперь конденсатор С1 начинает разряжаться через резистор R1 и элемент D1.3, а затем, когда элементы переключатся в первоначальное состояние, будет вновь заряжаться и т. д. В результате на выводе 6 элемента D1.2, являющегося выходом генератора, будут непрерывно, пока включено питание, формироваться импульсы напряжения прямоугольной формы. Точно такие же импульсы, но сдвинутые по фазе на 180°, будут и на выводе 11 элемента D1.4, выполняющего функцию инвертора.

С выхода элемента D1.4 сигнал генератора подается на переменный резистор R2, а с его движка на вход усилителя 3Ч, работу которого надо проверить. Этот резистор, таким образом, выполняет роль регулятора уровня выходного сигнала генератора.

Частоту генерируемых импульсов плавно регулируют переменным резистором R1. С уменьшением его сопротивления частота генератора повышается, а с увеличением, наоборот, снижается. При емкости конденсатора С1, равной 0,5 мкФ, наибольшая частота генератора составляет 4–5 кГц, а наименьшая примерно 500 Гц.

Смонтировать и проверить работоспособность генератора можно на той же картонной плате, на которой ты монтировал первый генератор, с использованием той же микросхемы. Конденсатор С1 — МБМ или БМ, резисторы R1 и R2 любых типов. Источником питания может быть выпрямитель с выходным напряжением 5 В или батарея 3336Л.

Тщательно проверь все соединения по принципиальной схеме. Если ошибок в монтаже нет, то подключи к выходу генератора головные телефоны и включи питание — в телефонах услышишь звук, тональность которого можно изменять переменным резистором R1, а громкость — переменным резистором R2.

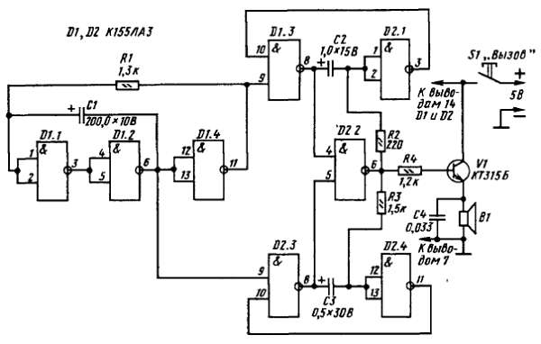
Определенный практический интерес представляет двух тональный генератор который можно использовать, например, в качестве квартирного звонка. Такой звуковой автомат (рис. 306) состоит из трех генераторов, включаемых вызывной кнопкой S1. В первом из них работают элементы D1.1, D1.2 и D1.4, во втором — D1.3, D2.1 и D2.2, в третьем — D2.3, D2.4 и D2.2. Элемент D2.2, таким образом, является общим для второго и третьего генераторов, которые, в свою очередь, управляются первым генератором.

Рис. 306. Схема двухтональной сирены

Принцип работы всех генераторов аналогичен действию предыдущих, но частота пульсаций первого генератора составляет 0,7–0,8 Гц, частота второго около 600 Гц, третьего примерно 1000 Гц. Частота импульсов первого генератора, выполняющего функцию электронного переключателя, определяется в основном емкостью конденсатора С1, а частоты второго и третьего генераторов, являющихся тональными, емкостями соответствующих им конденсаторов С2 и С3 и резисторов R2 и R3. Когда нажата вызывная кнопка S1 и, следовательно, подано напряжение питания на микросхемы, импульсы переключающего генератора включают (со сдвигом фазы на 180°) тональные генераторы. При этом на выводе 6 элемента D2.2 периодически, с частотой переключающего генератора, появляются колебания то второго, то третьего тональных генераторов. Эти колебания усиливаются транзистором V1 и динамической головкой В1 преобразуются в как бы переливающийся и изменяющий свою тональность звук. Резистор R4 ограничивает ток базы транзистора V1.

Детали звонка можно печатным или навесным методом смонтировать на плате размерами 65х30 мм (рис. 307) и вместе с источником питания (четыре аккумулятора Д-0,1 или батарея 3336Л) разместить в пластмассовой коробке.

Рис. 307. Монтажная плата двухтональной сирены

Все электролитические конденсаторы типа К50-6. Конденсатор С3 составлен из двух, соединенных последовательно конденсаторов емкостью по 1 мкФ, но он может быть бумажным емкостью 0,5 или 0,47 мкФ. Резисторы — MЛT. Динамическая головка мощностью 0,1–0,5 Вт со звуковой катушкой сопротивлением 8-10 Ом.

Если детали исправны и нет ошибок в монтаже, звонок начинает работать сразу же после нажатия вызывной кнопки, включающей питание. Установить желательную тональность звучания можно подбором конденсаторов и резисторов тональных генераторов. Чтобы при подборе этих деталей удлинить интервалы времени включения тональных генераторов, параллельно конденсатору С1 переключающего генератора можно подключить конденсатор емкостью в несколько тысяч микрофарад.

Если двухтональный генератор будет использоваться в электронных играх или игрушках с длительной подачей звуковых сигналов, то транзистор КТ315 усилителя мощности следует заменитъ кремниевым n-р-n транзистором средней мощности, например КТ603 или КТ608 с любым буквенным индексом.

Во всех устройствах, о которых я рассказал тебе в этой части беседы, микросхему К155ЛА3 можно заменить микросхемой К133ЛА3 из серии К133 или К158ЛА3 из серии К158. При этом никаких изменений в схеме делать не надо, так как эти микросхемы как и К155ЛА3, содержат по четыре элемента 2И-НЕ с таким же расположением выводов.

МИНИАТЮРНЫЙ ПРИЕМНИК

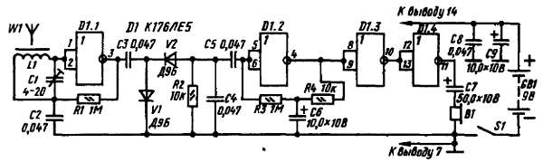
В заключение хочу рассказать еще об одном способе использования логических элементов, правда, несколько необычном для них. Дело в том, что элементы некоторых цифровых микросхем при охвате их глубокими отрицательными обратными связями могут работать как усилители сигналов, например микросхема К176ЛЕ5 из серии К176, на базе которой можно собрать миниатюрный приемник прямого усиления.

Принципиальная схема такого приемника, разработанного радиолюбителями В. Смирновым и В. Стрюновым из г. Андропов Ярославской области, приведена на рис. 308.

Рис. 308. Схема приемника прямого усиления на логической микросхеме

Используемая в нем микросхема К176ЛЕ5 содержит четыре самостоятельных элемента 2ИЛИ-НЕ (обозначают символом 1 внутри прямоугольника), в которых работают полевые транзисторы. Корпус этой микросхемы такой же, как у микросхем серии К155.

Приемник рассчитан на прием программ одной местной или отдаленной мощной радиовещательной станции, работающей в диапазоне СВ или ДВ. Его колебательный контур образуют катушка L1 магнитной антенны W1 и подстроечный конденсатор С1. Сигнал радиостанции, на частоту которой контур настроен, усиливается элементом D1.1.

Резистор R1 создает между выходом и входом элемента отрицательную обратную связь по постоянному напряжению, обеспечивая ему работу в режиме усиления. Конденсатор С2 устраняет отрицательную обратную связь по переменному напряжению, снижающую усиление радиочастотного каскада.

С вывода 3 элемента D1.1 усиленный сигнал поступает через конденсатор С3 на детектор, диоды V1 и V2 которого включены по схеме удвоения напряжения выходного сигнала. С резистора R2, являющегося нагрузкой детектора, сигнал звуковой частоты подается через конденсатор С5 на вход трехкаскадного усилителя 3Ч на элементах D1.2-D1.4 и далее телефоном В1 преобразуется в звук.

В каскад на элементе D1.2 введена отрицательная обратная связь по постоянному напряжению, создаваемая резисторами R4 и R3, благодаря чему на выходе этого элемента устанавливается напряжение, равное половине напряжения источника питания. Это напряжение достаточно стабильно, поэтому подобные цепочки резисторов в последующие каскады усилителя 3Ч приемника не введены. Обратная связь по переменному напряжению устраняется конденсатором С6. Конденсаторы С8 и С9, шунтирующие источник питания по высшим и низшим частотам, предотвращают возбуждение приемника из-за возможных паразитных связей между каскадами через общий источник питания.

Печатная плата приемника, выполненная из фольгированного материала, и соединения деталей на ней показаны на рис. 309.

Рис. 309. Плата приемника

Все резисторы типа МЛТ. Подстроенный конденсатор С1 — КПК-М, электролитические конденсаторы С6, С7 и С9 — К50-6, остальные конденсаторы любые малогабаритные. Источником питания может быть батарея «Крона» или аккумуляторная батарея 7Д-0.1.

Для магнитной антенны потребуется отрезок ферритового стержня марки 400НН или 600НН диаметром 8 мм и такой длины, чтобы он вместе с платой и источником питания уместился в подходящем корпусе приемника. В зависимости от длины стержня, контурная катушка L1, рассчитанная на прием радиостанции, работающей в наиболее длинноволновом участке диапазона ДВ, может содержать до 800–900 витков провода ПЭВ-1 0,07-0,1. Для уменьшения внутренней емкости катушки наматывают ее 5–7 секциями по равному числу витков в каждой, располагая секции по всей длине ферритового стержня.

Для диапазона СВ число витков контурной катушки может быть 200–300. Но учти: на частотах более 1 МГц (длина волны 300 м) чувствительность приемника сильно снижается из-за уменьшения усилительных свойств элемента D1.1, работающего в радиочастотном каскаде.

Нагрузкой приемника может быть миниатюрный ушной телефон ТМ-4, капсюль ДЭМ-4м или один из излучателей низкоомного головного телефона ТА-56 м.

Настройка приемника заключается только в подборе числа витков контурной катушки, соответствующего длине волны выбранной станции. Делай это гак же, как при налаживании транзисторных приемников. Если наибольшая емкость подстроечного конденсатора С1 окажется недостаточной для точной настройки контура на частоту станции, параллельно ему можно подключить слюдяной или керамический конденсатор емкостью до 100 пФ.

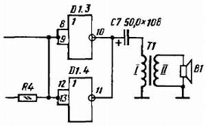
Если радиовещательная станция находится неподалеку от места приема, каскады приемника могут перегружаться из-за большого уровня его сигнала, отчего звук станет искаженным. В этом случае выходной каскад приемника следует смонтировать по схеме, приведенной на рис. 310. Приемник станет громкоговорящим.

Рис. 310. Вариант выходного каскада приемника

Трансформатор Т1 — выходной трансформатор любого малогабаритного транзисторного приемника (используется одна половина его первичной обмотки), а динамическая головка В1 — любая малогабаритная мощностью 0,1–0,5 Вт со звуковой катушкой сопротивлением 6-10 Ом.

Чтобы еще больше повысить громкость работы приемника, его можно дополнить еще и транзисторным усилителем мощности, который будет питаться от той же батареи приемника. Для простейшего однокаскадного усилителя пригоден транзистор серии КТ315 с любым буквенным индексом. В этом случае сигнал с конденсатора С7 будет поступать на базу транзистора, усиливаться им и динамической головкой, включенной через выходной трансформатор в коллекторную цепь, преобразовываться в звук. Если усилитель двухкаскадный с двухтактным выходом, в первом его каскаде можно использовать транзистор КТ315, а во втором — транзисторы КТ315 и КТ361. Со схемами, работой и налаживанием подобных усилителей колебаний звуковой частоты ты уже знаком по двенадцатой беседе.

Приемник с такими дополнениями и источником питания можно разместить в корпусе, предназначенном для малогабаритного транзисторного приемника, его можно приобрести в магазине радиотоваров.

* * *

Аналоговые и цифровые микросхемы, с которыми я познакомил тебя в этой беседе, относятся к микросхемам первой степени интеграции, т. е. к наиболее простым. В более сложных современных микросхемах, а их объемы примерно такие же, общее число содержащихся в них активных и пассивных элементов может достигать нескольких десятым и даже сотен тысяч.

Чтобы иметь некоторое представление о том, сколько и каких логических операций способна выполнять интегральная микросхема, приведу такой пример «механизм» наручных электронных часов средней с ложности, отчитывающий текущее время с точностью до секунды, дни недели и месяцы. работающий как секундомер с точностью до сотой доли секунды, как будильник со звуковой сигнализацией состоит всего лишь из одной специально разработанной большой интегральной микросхемы. А электронные часы повышенной сложности, кроме того, позволяют использовать их еще для проведения электронных игр, в качестве наручных микрокалькуляторов… Вот что такое интегральная микросхема, совершающая техническую революцию во всех областях и направлениях радиоэлектроники.

На базе интегральных микросхем разработан и выпускается массовым тиражом микрокомпьютер «Микроша», предназначенный для обучения школьников навыкам работы с вычислительными устройствами, которые необходимы сегодня специалистам различных отраслей народного хозяйства. Осваивать микросхемы значит идти в ногу с современной техникой!

Более 800 000 книг и аудиокниг! 📚

Получи 2 месяца Литрес Подписки в подарок и наслаждайся неограниченным чтением

ПОЛУЧИТЬ ПОДАРОК