Беседа 23 ПРИГЛАШЕНИЕ В РАДИОСПОРТ

Ты, надеюсь, на своем личном опыте убедился в том, что радиолюбительство является многоплановым техническим творчеством. Это конструирование радиовещательных приемников и усилителей 3Ч, измерительных приборов и автоматически действующих устройств, аппаратуры телеуправления, звукозаписи и многого другого, в основе чего лежит радиоэлектроника. С некоторыми направлениями радиолюбительского творчества ты уже знаком.

Но в радиолюбительстве есть особое направление, называемое радиоспортом. Подчеркиваю: спортом. А спорт, как известно, это систематические тренировки, соревнования, победы и неудачи — в спорте все бывает. Но упорство всегда побеждает.

В этой беседе я хочу рассказать тебе о двух видах радиоспорта: об «охоте на лис», называемом также спортивной радиопеленгацией, и коротковолновом радиоспорте. Считай это приглашением в радиоспорт.

Начну с «охоты на лис».

ЧТО ТАКОЕ «ЛИСА»?

«Лисами» называют маломощные радиопередатчики, которые размещают в лесу, в кустарнике, на полянах. Каждую лису маскируют так, чтобы радиоспортсмен-«охотник» мог увидеть ее с расстояния не более 3–5 м. Вместе с передатчиками маскируют операторов лис и судей соревнований. В зависимости от условий соревнований число лис на местности может быть от двух до пяти, а вся трасса поиска лис достигает нескольких километров.

Каждой лисе присваивается номер: первый, второй и т. д. Операторы лис поочередно, ровно по минуте, ведут передачи: «Я лиса первая, я лиса первая», «Я лиса вторая, я лиса вторая»…

Кончает работать последняя лиса, тут же начинает передачу первая. Все лисы работают на одном из радиолюбительских диапазонов: 80 (3,5–3,65 МГц), 10 (28–29,7 МГц) или 2-метровом (144–146 МГц) диапазонах. Для начинающих лисоловов наиболее доступен 80-метровый диапазон.

Оружием лисолова служит радиоприемник, настраиваемый на рабочие частоты лис. Пользуясь им как пеленгатором, охотник должен найти всех лис и, руководствуясь сигналами приводной лисы, вернуться в район старта, являющийся одновременно и финишем. Выигрывает тот охотник, который выполнит эту задачу с наименьшей затратой времени.

Ты уже знаешь, что громкость приема сигналов радиовещательной станции на транзисторный приемник зависит от положения ферритового стержня его магнитной антенны по отношению к радиостанции. Поворачивая приемник вокруг вертикальной оси, нетрудно найти два положения стержня магнитной антенны, когда громкость приема будет максимальной, и два положения, когда громкость минимальна. Объясняется это тем, что магнитная антенна обладает направленными свойствами (рис. 364).

Рис. 364. Магнитная антенна обладает направленными свойствами

Громкость приема будет максимальной, когда ось стержня, а значит, и ось намотанной на нем катушки входного контура, перпендикулярна направлению прихода радиоволн. Когда же ось магнитной антенны расположена в направлении на радиостанцию, громкость приема будет минимальной.

Рассмотри хорошенько рис. 365. На нем графически изображена диаграмма направленности магнитной антенны W с ферритовым стержнем.

Рис. 365. Диаграмма направленности магнитной антенны.

Направленность такой антенны имеет вид цифры «8». Лепестки «восьмерки» антенны соответствуют максимуму, а участки между ними — минимуму громкости приема. Антенна с такой диаграммой направленности имеет два симметричных минимума и два, тоже симметричных, максимума. Определять направление на лису лучше по минимуму громкости.

Делают это так. Приемник, настроенный на лису, поворачивают вокруг вертикальной оси до получения четко выраженного минимума громкости. При этом прямая, проходящая через ось магнитной антенны, укажет направление на лису. Но чтобы охотник знал, с какой стороны от него на этой прямой находится лиса, антенна приемника должна иметь одностороннюю диаграмму направленности. Такую диаграмму можно получить, если применить в приемнике комбинацию из двух антенн: магнитной и штыревой (рис. 366).

Рис. 366. Соединенные между собой магнитная и штыревая антенны обладают односторонней направленностью

Штыревая антенна W1 имеет круговую диаграмму направленности, и если она определенным образом подключена к магнитной антенне, то результирующая диаграмма направленности обеих антенн будет иметь резко выраженные один максимум и один минимум. Диаграмму направленности, имеющую такой вид, называют кардиоидой. Во время поиска лисы охотник пользуется обеими антеннами. По максимуму кардиоиды, когда действуют обе антенны, он находит стороны, где находится лиса. Точное же направление на лису он определяет по минимуму только магнитной антенны.

Для поиска лисы можно также пользоваться рамочной антенной — катушкой сравнительно больших размеров, имеющей форму кольца или прямоугольной рамки. Это тоже магнитная антенна, так как в ней ЭДС радиочастотного сигнала возбуждается магнитным полем радиоволны. Она имеет точно такую же диаграмму направленности, как и магнитная антенна с ферритовым стержнем.

Максимум диаграммы направленности такой антенны бывает тогда, когда плоскость рамки находится в вертикальном положении и совпадает с направлением на «лису», а минимум — когда плоскость рамки перпендикулярна к направлению на «лису». При подключении к рамочной антенне штыревой их диаграмма направленности принимает вид кардиоиды.

У рамочной антенны минимум диаграммы направленности ощущается значительно острее, чем у магнитной антенны с ферритовым стержнем. Она к тому же более чувствительна. Именно поэтому лисоловы чаще всего применяют в своих приемниках рамочные антенны.

РАДИОКОМПАС

Но приемник-пеленгатор в руках лисолова не является гарантией успеха в соревнованиях. Охотник должен еще хорошо ориентироваться на местности, пользоваться компасом, ходить по азимуту и, конечно, быть выносливым — ведь он должен за короткое время пробежать значительное расстояние, преодолевая на пути различные препятствия. Нужна тренировка. Можно ли начать тренировку без лисы? Можно! Для этого нужен радиокомпас — простой приемник с магнитной антенной, с помощью которого можно брать ориентир на местную радиовещательную станцию. Сигналы этой станции будут выполнять роль лисы. Принципиальная схема возможного варианта такого приемника-пеленгатора показана на рис. 367.

Рис. 367. Принципиальная схема приемника-пеленгатора

Катушка L1 и ферритовый стержень, на котором она находится, образуют магнитную антенну W1, а совместно с конденсаторами С1 и С2 — входной колебательный контур с постоянной настройкой на местную или отдаленную мощную радиовещательную станцию. Грубая настройка колебательного контура на несущую частоту этой станции осуществляется подбором емкости конденсатора C1, а точная — подстроечного конденсатора С2.

Принятый сигнал через катушку связи L2 и разделительный конденсатор С3 поступает на вход двухкаскадного усилителя РЧ, собранного на транзисторах V1 и V2, а после усиления детектируется диодами V3 и V4, включенными по схеме удвоения выходного напряжения.

Колебания звуковой частоты с резистора R5, являющегося нагрузкой детектора, через электролитический конденсатор С7 поступают на вход однокаскадного усилителя 3Ч на транзисторе V5, усиливаются им и телефонами В1, включенными через разъем X1 в коллекторную цепь транзистора, преобразуются в звуковые колебания.

Источником питания приемника служит батарея 3336Л или три элемента 332, соединенные последовательно. Потребляемый ток не превышает 3 мА.

Для тебя, уже имеющего опыт постройки приемников прямого усиления, конструирование и налаживание радиокомпаса не составит каких-либо трудностей. Конструкция приемника может быть такой, как показанная на рис. 368.

Рис. 368. Возможная конструкция приемника-пеленгатора

Держа приемник вертикально в руке, охотник поворачивает его из стороны в сторону, добиваясь наименьшей громкости звука в телефонах, и по положению ферритового стержня магнитной антенны определяет направление на условную лису.

Корпус приемника — фанерная или пластмассовая коробка, позволяющая разместить батарею 3336Л, выключатель питания S1, монтажную плату с деталями усилителей и детектора, среднюю часть ферритового стержня с катушками, двухгнездную колодку X1 для подключения телефонов. Стержень магнитной антенны с надетыми на него амортизирующими резиновыми кольцами удерживается в вырезах боковых стенок корпуса крышкой (на рис. 368 крышка не показана).

В каскадах усиления радиочастоты можно использовать любые маломощные высокочастотные транзисторы (ГТ308, ГТ310, П401-П403, П416, П422 и т. д.) со статическим коэффициентом передачи тока не менее 50, а в усилителе 3Ч (V3) — любой маломощный низкочастотный транзистор (МГТ39-МП42) с коэффициентом h21Э = 60–80. Диоды детекторного каскада точечные типа Д2 или Д9 с любым буквенным индексом.

Головные телефоны высокоомные, например ТОН-1, ТА-4. Подстроечный конденсатор С2 тина КПК-1, электрический конденсатор С7 — К 50-6 (можно К50-3, К50-1). Остальные конденсаторы могут быть любыми.

Плату размерами 65х40 мм (рис. 369) выпили из листового гетинакса, текстолита или стеклотекстолита толщиной 1–1,5 мм.

Рис. 369. Монтажная плата приемника-пеленгатора и схема соединения деталей

Опорными монтажными точками могут служить пустотелые заклепки или отрезки медной облуженной проволоки диаметром 1–1,5 и длиной 8-10 мм, запрессованные в отверстия, просверленные в заготовленной плате. Плату устанавливай в корпусе на невысоких стойках. Подстроечный конденсатор С2 крепи непосредственно к стенке корпуса и к его выводам припаяй конденсатор С1 и выводы катушки L1.

Для магнитной антенны используй стержень из феррита марки 400НН или 600НП диаметром 8–9 и длиной 150 мм (можно длиннее). Катушку L1 контура магнитной антенны намотай на цилиндрическом каркасе, склеенном из бумаги. Ее данные зависят от длины волны той радиостанции, сигналы которой будешь использовать в качестве лисы. Для радиостанции средневолнового диапазона эта катушка должна содержать 65–70 витков провода ПЭВ-1 0,12-0,15, намотанных на каркас в один слои (виток к витку), для радиостанции длинноволнового диапазона около 250 витков такого же провода, намотанных пятью секциями (по 50 витков в каждой секции). Катушка связи L2, намотанная таким же проводом поверх катушки L1 в средней ее части, должна содержать соответственно 3–5 или 10–12 витков.

Если приемник смонтирован точно по принципиальной схеме из заведомо исправных деталей, то все налаживание его сведется к установке режимов работы транзисторов (указаны на схеме) и настройке входного колебательного контура L1C1C2 на волну выбранной радиостанции. Ток покоя транзистора V5 устанавливай подбором резистора R6, транзистора V2 — подбором резистора R3, транзистора V1 — подбором резистора R1.

Приступая к настройке входного контура, ротор подстроечного конденсатора С2 установи в положение средней емкости, конденсатор С1 временно замени конденсатором переменной емкости любой конструкции и, изменяя его емкость и медленно вращая приемник в горизонтальной плоскости, прослушай весь диапазон радиоволн, перекрываемый контуром магнитной антенны. Выбрав наиболее четко и без помех принимаемую радиовещательную станцию, временно включенный конденсатор переменной емкости замени постоянным конденсатором соответствующей емкости и более точно подстрой контур на ту же станцию конденсатором С2.

В крышке корпуса сделай отверстие, через которое отверткой можно вращать ротор подстроечного конденсатора С2 и таким образом проверять точность настройки контура магнитной антенны на выбранную станцию.

Теперь можно приступить к тренировкам. Возьми приемник, отвертку и отправляйся в лес. Включи приемник и настрой его поточнее на частоту местной станции. Вращая приемник вокруг вертикальной оси, ты без труда «нащупаешь» два максимума и два минимума «восьмерки» антенны, причем минимум будет ощущаться острее: стоит немного изменить положение приемника, как громкость приема возрастет. Максимум же будет более расплывчатым. По положению ферритового стержня магнитной антенны ты можешь мысленно провести проходящую через него прямую, на которой находится радиостанция (рис. 370).

Рис. 370. Схема тренировочных трасс

Найди на этой прямой какой-либо ориентир — отдаленное от тебя дерево, куст или иной предмет. Заметь любым способом место, где ты сейчас стоишь и беги к ориентиру. Возле него уточни по приемнику намеченное тобой направление, наметь следующий ориентир и тоже беги к нему. Повернись здесь на 180° и засекая по минимуму сигналов станции другие ориентиры в обратном направлении, постарайся прибежать к исходной точке — к старту.

Чем больше будет расстояние от старта до конечного ориентира, тем сложнее задача.

На рис. 370, б показана схема более сложной трассы поиска «лисы». В этом случае для тренировки потребуется, кроме приемника-пеленгатора, еще и компас. В исходной точке, пользуясь приемником и компасом, определи азимут условной лисы, т. е. угол между направлением на север и направлением на лису. Допустим, что азимут 80°. Наметь в этом направлении ориентир и считая пары шагов, иди к нему. Проверив здесь по приемнику и компасу намеченное направление, засекай следующий ориентир и иди к нему, продолжая считать пары шагов. Допустим, что до него получилось 320 пар шагов. Отсюда иди в другом направлении, например по азимуту 210°. Пройдя в этом направлении несколько сотен пар шагов, повернись на 180° и, опять-таки по приемнику и компасу, иди, считая шаги, обратно к старту. Очевидно, что теперь азимут на поворот (на рис. 370, б — точка 2) будет 60°, а от поворота к старту — 260°. Чем тщательнее будут определены направления и отсчитаны пары шагов, тем точнее будет выход к исходной точке.

Ты можешь сам заранее придумать и начертить схему тренировочной трассы с несколькими поворотами, задаться какими-то расстояниями между намеченными точками и идти по ней туда и обратно. Чем сложнее трасса, тем интереснее задача, тем богаче опыт ориентации на местности. Опыт этот совершенно необходим для «охоты на лис».

Лучше, конечно, такой тренировкой заниматься компанией в несколько человек. Можно даже устроить соревнования — кто точнее берет пеленг и ходит по азимуту! Что же касается участия в настоящих соревнованиях по «охоте на лис», то для этого нужен соответствующий приемник-пеленгатор.

ПРИЕМНИК «ЛИСОЛОВА»

Соревнования «охота на лис» вошли в традицию многих городов, областей и краев нашей страны. Их победителям представляется право участвовать в республиканских, а затем, возможно, во всесоюзных соревнованиях. А мастера этого вида радиоспорта, в том числе и юные, защищают спортивную честь страны на международных встречах.

Чем выше уровень соревнований, тем выше требования, предъявляемые к «оружию» охотника и его спортивной подготовке. На местных, например городских или районных, соревнованиях школьников трасса поиска лис может быть всего 2–2,5 км, а лисы могут работать телефоном в режиме амплитудной модуляции. Участвовать в таких соревнованиях можно с приемником прямого усиления. На соревнованиях же областных, республиканских, а тем более всесоюзных, трасса больше, да и лисы работают телеграфом — сигнализируют о себе знаками телеграфной азбуки. В этом случае оператор лисы № 1 передает знаками телеграфной азбуки буквы МОЕ (МОЕ, МОЕ…МОЕ), оператор лисы № 2 — буквы МОИ (МОИ, МОИ…МОИ), оператор лисы № 3 — буквы МОС (МОС, МОС…МОС), оператор приводной лисы передает только буквы МО (МО, МО…МО). Для участия в соревнованиях такого уровня нужен более чувствительный приемник, способный к тому же реагировать на немодулированные сигналы телеграфной азбуки. Таким приемником-пеленгатором может быть супергетеродин с дополнительным телеграфным гетеродином или приемник прямого преобразования.

Но начинать надо с более простого. Поэтому я расскажу тебе о двух приемниках разной сложности. Оба они рассчитаны для «охоты на лис» в диапазоне 3,5 МГц.

Первый приемник-пеленгатор (рис. 371) представляет собой приемник 0-V-3, но у него на входе две антенны: рамочная W2, являющаяся магнитной, и штыревая W1.

Рис 371. Схема приемника прямого усиления для «охоты на лис»

Переключатель S1 служит для подключения штыревой антенны к рамочной при определении направления на лису. В этом случае диаграмма направленности антенн имеет вид кардиоиды. Во время поиска лисы только на рамочную антенну отключенная от нее штыревая антенна заземляется. Дроссель L3 и резистор R1 нужны для согласования антенны-штыря с рамочной антенной.

Во входной контур L1C2, настраиваемый на частоту лисы конденсатором С2, включен контур L2C1. Это фильтр-пробка, «запирающая» сигналы близкой по частоте мешающей радио вещательной станции. Данные деталей фильтра зависят от длины волны мешающей станции. Если в месте проведения соревнования такой помехи нет, контур L2C1 можно исключить или замкнуть накоротко проволочной перемычкой.

Модулированный по амплитуде сигнал лисы детектируется диодом V1. Напряжение звуковой частоты, создающееся на его нагрузочном резисторе R2, через конденсатор С4 подается на базу транзистора V2 первого каскада усилителя 3Ч. Этот транзистор включен по схеме ОК, что сделано для лучшего согласования его с детектором. Нагрузкой транзистора V2 служит резистор R4. С него сигнал через конденсатор С5 поступает к транзистору V3 второго каскада, а с его нагрузочного резистора R6 — к транзистору V4 выходного каскада усилителя 3Ч.

Резистор R7 и конденсатор С6 образуют ячейку развязывающего фильтра, предотвращающего самовозбуждение приемника через общие цепи питания; R3, R5 и R8 — резисторы цепей смещения; С9 конденсатор, блокирующий источник питания GB1.

Сопротивления постоянных резисторов и емкости конденсаторов могут отличаться от указанных на схеме номиналов в пределах до 25–30 %. Конденсатор С4 не должен иметь емкость более 0,01 мкФ, иначе будет затруднен поиск лисы в непосредственной близости к ней.

Коэффициент h21Э транзисторов не менее 50. Дроссель L3 намотан на унифицированном каркасе с ферритовыми кольцами внешним диаметром 8 мм и содержит 70–80 витков провода ПЭВ 0,1–0,12. Резистор R1 — СПО-0,5. Переключатель S1 и выключатель питания S2 — тумблеры типа ТВ1-2.

Наиболее трудоемкая деталь приемника — это рамочная антенна W2. Она состоит из шести витков одножильного монтажного провода с токонесущей жилой диаметром 0,5–0,8 мм, уложенных в полость незамкнутого металлического кольца диаметром 250–280 мм (рис. 372).

Рис. 372. Устройство рамочной антенны

Для кольца, являющегося экраном этой антенны, можно использовать медную или алюминиевую трубку диаметром 8-12 и длиной 940–950 мм, согнув ее на подходящей болванке, например на ведре. В средней части проделай напильником овальное отверстие, через которое будешь крепить трубку в корпусе приемника и укладывать в нее провод антенны. Штыревой антенной может служить дюралюминиевая, медная или латунная трубка диаметром 5–7 и длиной 600–800 мм. В крайнем случае ее можно сделать из велосипедных спиц.

Конструкция и внешний вид приемника показаны на рис. 373.

Рис. 373. Внешний вид и конструкция приемника

Корпус, имеющий вид коробки с крышкой, сделай из листового дюралюминия, следя за тем, чтобы в нем не было щелей. Трубчатое кольцо рамочной антенны пропусти через отверстия в стенках корпуса, надежно прикрепи его к дну корпуса и только после этого укладывай в него провод. Щель в кольце надежно закрой резиновом полоской или изоляционной лентой. Штыревую антенну скрепи с рамочной с помощью изолирующей гетинаксовой пластинки с жестяными хомутиками. Монтажную плату с деталями крепи в корпусе на стойках.

Корпус рассчитан на использование для питания приемника двух батарей 3336Л, соединенных последовательно. Приемник можно питать и от батареи «Крона» или 7Д-0,1, но ее чаще придется менять.

Второй приемник-пеленгатор (см. рис. 376) рассчитан на прием сигналов лис, работающих телеграфом. Он является приемником прямого преобразования, т. е. приемником, в котором радиочастотный сигнал лисы преобразуется непосредственно в сигнал звуковой частоты.

Прежде чем начать рассказ о таком приемнике лисолова, надо видимо, ответить на вопрос: в чем суть принципа работы приемника прямого преобразования? В приемнике такого типа, как и в супергетеродине, есть смеситель и гетеродин, т. е. преобразователь частоты принятого сигнала. Но в нем в результате преобразования получаются не колебания относительной высокой промежуточной частоты, а непосредственно колебания звуковой частоты. Эти колебания поступают на вход усилителя 3Ч, нагрузкой которого служат головные телефоны.

В смесителе описываемого здесь приемника работают два встречно-параллельно включенных кремниевых диода (на схеме рис. 376 — диоды V2 и V3). На них подаются одновременно напряжения двух сигналов: входного и от гетеродина. Причем сигнал гетеродина по напряжению в тысячи раз превышает входной сигнал, поэтому диоды смесителя управляются практически только сигналом гетеродина.

Вольт-амперная характеристика кремниевого диода, графически изображающая зависимость тока через диод от приложенного к нему напряжения, имеет вид, показанный на рис. 374.

Рис. 374. Принцип действия кремниевого диода

Из нее нетрудно сделать вывод, что кремниевый диод открывается и начинает проводить ток лишь при напряжении, большем некоторого порогового, равного примерно 0,5 В. Если к диоду приложено напряжение гетеродина 0,6–0,7 В, то он проводит ток в очень короткие промежутки времени — только на пиках напряжения гетеродина. Так работает и второй диод смесителя, но только при отрицательных полупериодах напряжения гетеродина.

В итоге за один период напряжения гетеродина диоды смесителя открываются и проводят ток дважды — на пиках положительного и отрицательного полупериодов. Соответственно источник входного сигнала дважды за период подключается к нагрузке преобразовательного каскада (на рис. 376 — низкочастотный фильтр R5C12). При такой частоте коммутации цепи сигнала в нагрузке выделяются биения со звуковой частотой, равной fсиг — 2fгет. Графически процесс возникновения колебаний звуковой частоты в приемнике прямого преобразования показан на рис. 375.

Рис. 375. Графики, иллюстрирующие процесс возникновения колебаний звуковой частоты в приемнике прямого преобразования

Закрашенные участки на рис. 375, а соответствуют интервалам времени, когда один из диодов смесителя открыт и ток сигнала поступает в нагрузку. График на рис. 375, б изображает напряжение входного сигнала, причем частота его колебаний несколько превышает удвоенную частоту гетеродина. График на рис. 375, в иллюстрирует ток, поступающий в нагрузку. Этот ток пропорционален мгновенному напряжению сигнала, когда один из диодов открыт.

Графики показывают, что в начале процесса, когда напряжения входного сигнала и гетеродина синфазны, в нагрузку поступают положительные импульсы тока. Когда же колебания становятся противофазными — отрицательные.

Фильтр 3Ч на выходе преобразовательного каскада сглаживает импульсы тока и пропускает к усилителю 3Ч приемника лишь медленно меняющуюся составляющую тока, показанную на рис. 375, в штриховой линией. Эта составляющая представляет собой колебания звуковой частоты, равной fсиг — 2fгет, которые после усиления преобразуются телефонами в звук.

Чувствительность приемника прямого преобразования, о котором я здесь рассказываю (см. рис. 376), измеренная по напряженности поля электромагнитной волны, составляет 13 мкВ/м (у промышленного приемника «Лес» чувствительность около 30 мкВ/м). Питается приемник от одной батареи 3336Л и потребляет ток 6–7 мА. Отдельного выключателя в приемнике нет — питание подается одновременно с подключением головных телефонов, на которые ведется прием.

Рис. 376. Принципиальная схема приемника прямого преобразования для «охоты на лис»

На входе приемника две антенны: рамочная W1 и штыревая W2. При их одновременном использовании общая диаграмма направленности принимает форму кардиоиды — с резко выраженным максимумом в одну сторону и минимумом в противоположную, что и необходимо для определения точного направления на лису. Катушка L1 рамочной антенны и конденсатор С1 образуют входной колебательный контур, настроенный на частоту 3,6 МГц — среднюю частоту диапазона, в котором работают все лисы. Штыревую антенну подключают к контуру кнопочным выключателем S1.

Выделенный контуром телеграфный сигнал лисы поступает через разделительный конденсатор С2 на затвор полевого транзистора V1 однокаскадного усилителя РЧ. Большое входное сопротивление полевого транзистора практически не шунтирует входной контур и, следовательно, не ухудшает его добротность. Роль нагрузки усилителя выполняет контур L2C4, включенный в стоковую цепь транзистора и настроенный, как и входной контур, на среднюю частоту диапазона. С нее усиленный сигнал поступает через конденсатор С5 в цепь смесителя.

Чтобы во время ближнего поиска сигнал лисы не перегружал усилительный тракт, чувствительность приемника уменьшают (загрубляют). Чаще всего это делают с помощью переменного резистора, выполняющего роль регулятора усиления (громкости). В описываемом же приемнике чувствительность уменьшают скачкообразно с помощью кнопочного выключателя S2 «Ближн. поиск». Пока его контакты замкнуты и на затвор транзистора V1 полается напряжение смещения, соответствующее падению напряжения только на резисторе R3, чувствительность приемника максимальная. При нажатии кнопки ее контакты размыкаются и в цепь истока включается еще резистор R4, сопротивление которого во много раз больше сопротивления резистора R3. В результате падения напряжения на них практически закрывает транзистор и усиление каскада снижается примерно в десять раз, что вполне приемлемо для ближнего поиска лис.

В гетеродине работает полевой транзистор V4. Его колебательный контур состоит из катушки L3 и конденсаторов С6-С8. Нижняя (по схеме) секция контурной катушки, включенная в истоковую цепь транзистора, выполняет роль катушки положительной обратной связи, благодаря которой каскад возбуждается и генерирует колебания радиочастоты. Частота колебании гетеродина должна быть вдвое меньше частоты входного сигнала; она изменяется конденсатором переменной емкости С8 от 1,75 до 1,825 МГц. При этом приемник будет перекрывать всю полосу частот диапазона 3,5 МГц.

Колебания гетеродина с истока транзистора подаются на встречно-параллельно включенные диоды V2, V3 смесителя преобразовательного каскада. Возникающие в результате прямого преобразования сигнала колебания звуковой частоты подаются через фильтр R5C12 на вход усилителя 3Ч для усиления до необходимого уровня. Усилитель 3Ч приемника четырех каскадный, на кремниевых транзисторах. Связь между транзисторами первых двух каскадов непосредственная — база транзистора V6 второго каскада соединена с коллектором транзистора V5 первого каскада.

Напряжение смещения на базу транзистора V5 снимается с эмиттерного резистора R12 транзистора V6. Конденсатор С14, шунтирующий резистор R12 по переменному току, устраняет отрицательную обратную связь, снижающую усиление этих каскадов.

С нагрузочного резистора R11 усиленный сигнал полается через конденсатор С16 на базу транзистора V7 третьего каскада, а с его нагрузки, состоящей из резисторов R13 и R14, на базы транзисторов V8 и V9 четвертого, выходного каскада. Транзисторы выходного каскада разных структур, они включены эмиттерными повторителями и работают в режиме двухтактного усиления мощности. Транзистор V8 (структуры n-р-n) усиливает положительные, а транзистор V9 (p-n-p) отрицательные полуволны колебаний звуковой частоты. Головные телефоны В1, подключенные к выходу усилителя через разъем Х3 и конденсатор С18, преобразуют колебания звуковой частоты в звук.

Резистор R15 создает между выходом усилителя и базой транзистора V7 предоконечного каскада отрицательную обратную связь по постоянному и переменному току, что улучшает частотную характеристику усилителя. Резистор R14, входящий в нагрузку транзистора V7, устраняет искажения типа «ступенька», наиболее ощутимые при слабых сигналах. Конденсаторы C15 и C17 замыкают на общий (заземленный) проводник наивысшие частоты звукового диапазона и тем самым предотвращают самовозбуждение усилителя 3Ч. Резисторы R7, R8, R16 и конденсаторы С10, С11 и С19 образуют три развязывающих фильтра, устраняющих паразитные связи между блоками приемника через общий источник питания. Электролитический конденсатор С20 шунтирует батарею питания по переменному току. Его роль особо сказывается при частичной разрядке батареи питания, когда ее внутреннее сопротивление переменному току увеличивается.

Внешний вид приемника показан на рис. 377, а его конструкция — на рис. 378.

Рис. 377. Внешний вид приемника

Рис. 378. Конструкция приемника

Он смонтирован в корпусе с внутренними размерами 210х65х32 мм, изготовленном из листового алюминия толщиной 2 мм. Съемную крышку Г-образной формы привинчивают винтами М3 к дюралюминиевым уголкам, приклепанным к коротким стенкам корпуса. Если приемник взять в правую руку, то указательным и средним пальцами можно будет нажимать кнопки S1 и S2, а большим пальцем (или левой рукой) вращать ручку настройки контура гетеродина.

Конструктивно антенны этого приемника (рис. 379) аналогичны антеннам приемника первого варианта.

Рис. 379. Детали антенн приемника

Катушка L1 рамочной антенны состоит из шести витков монтажного провода с токонесущей жилой толщиной 0,5–0,8 мм, уложенного в полость незамкнутого металлического кольца 1 диаметром около 280 мм. Через овальное отверстие в средней части кольцо винтом 5 закреплено в корпусе 6. Через это же отверстие в полость трубки уложен провод катушки. Кромки отверстий в боковых стенках корпуса вокруг кольца рамочной антенны необходимо уплотнить кернером, постукивая по нему молотком.

Штыревая антенна 2 представляет собой отрезок латунной или дюралюминиевой трубки диаметром 5–7 и длиной 550–600 мм. Однополюсной вилкой 8, впрессованной в трубку, штырь вставляют в предназначенное для него гнездо 7 (X1), изолированное от корпуса. В верхней части штырь полоской органического стекла, изогнутой наподобие буквы П, скрепляют с торцами кольца рамочной антенны скобой 3 из органического стекла. Чтобы предотвратить попадание внутрь трубки влаги, открытая рабочая часть катушки рамочной антенны закрыта прокладкой отрезком поливинилхлоридной или резиновой трубки 4.

Большая часть деталей приемника смонтирована печатным методом на плате размерами 115х85 мм из фольгированного стеклотекстолита (рис. 380). Токонесущие площадки и проводники на плате, имеющие различную конфигурацию, образуют продольные и поперечные прорези шириной 1–1,5 мм, сделанные острием ножа.

Рис. 380. Монтажная плата приемника и схема соединения деталей на ней

Катушки L2 и L3 намотаны проводом ПЭВ-1 0,12 на пластмассовых унифицированных четырехсекционных каркасах с подстроечниками из феррита 600НН диаметром 2,8 и длиной 12 мм. Такие каркасы используют для катушек гетеродинных контуров радиовещательных приемников. Катушка L2 содержит 45 витков с отводом от 15-го витка, 13–40 витков с отводом от 5-го витка, считая от «заземленного» вывода (нижний по схеме).

Кнопки S1 и S2 — типа КМ-1. Все резисторы могут быть МЛТ-0,25, MЛТ-0,125. Конденсатор переменной емкости С8 КП-180, он укреплен непосредственно на монтажной плате. Ось конденсатора удлинена, чтобы ручка со шкалой настройки, укрепленная на ней, была снаружи крышки корпуса. Подстроечный конденсатор С1 КПК-МН с максимальной емкостью 20–30 пФ, электролитические конденсаторы С14, С19 и С20 — К50-6. Остальные конденсаторы могут быть типов К10, КД, КМО, КЛС, БМ.

Выход усилителя 3Ч приемника низкоомный, поэтому подключаемые к нему головные телефоны могут быть как низкоомными (например, ТА-56 м), так и высокоомными (ТОН-1, ТА-4).

Закончив монтаж, сверь его с принципиальной схемой приемника, проверь надежность всех контактов, соединений, крепление антенн, батареи питания. Все должно быть механически прочным, иначе приемник может подвести лисолова на соревнованиях. Прочисти все прорези монтажной платы резаком или острием ножа, а участок с деталями цепи затвора полевого транзистора V1, кроме того, протри тряпочкой, смоченной спиртом или ацетоном.

Включив питание, сразу же измерь ток, потребляемый приемником от батареи (миллиамперметр можно включить между гнездами 1 и 2 разъема Х3 вместо вилки головных телефонов) он не должен превышать 12 мА. Значительно больший ток может быть только из-за ошибки в монтаже, неисправности выходных транзисторов или электролитических конденсаторов.

Режимы работы транзисторов усилителя 3Ч устанавливай подбором сопротивлений резисторов R9, R14 и R15. На это время конденсатор С13 на входе усилителя можно отключить от фильтра R5C12. Ориентировочные напряжения на электродах транзисторов, указанные на принципиальной схеме, измерены вольтметром постоянного тока с относительным входным сопротивлением 10 кОм/В.

Сначала подбором резистора R15 установи на эмиттерах транзисторов V8 и V9 напряжение, равное половине напряжения батареи питания, а затем подбором R14 — ток в коллекторной цепи транзистора V8, равный 0,5–0,6 мА. На время замены резистора R14 питание выключай, иначе выходные транзисторы могут выйти из строя. После этого подбором резистора R9 установи режимы транзисторов V5 и V6. Признаком работы усилителя служит фон переменного тока, появляющийся в телефонах при касании базы транзистора V5. Далее проверь, работает ли гетеродин. Параллельно конденсатору С10 подключи вольтметр постоянного тока, а затем замкни конденсатор С6 кратковременно пинцетом или отрезком провода. Если гетеродин работает, то напряжение на конденсаторе С10 должно изменяться.

Теперь, пользуясь генератором колебаний радиочастоты, надо установить границы полосы частот, перекрываемой конденсатором С8 гетеродинного контура, и настроить контур L2C4 усилителя РЧ и контур L1C1 рамочной антенны на частоту 3,6 МГц. Делай это в такой последовательности. Восстанови соединение конденсатора С13 с фильтром R5C12. Ротор конденсатора С8 «Настройка» поставь в положение средней емкости, а немодулированный сигнал генератора, настроенного на частоту 3,6 МГц, подай на левый (по схеме) вывод конденсатора С2. Напряжение сигнала генератора не должно быть больше 1 мВ. Вращая подстроечный сердечник катушки L3 контура гетеродина, добейся появления в телефонах звука средней тональности. Чем меньше уровень входного сигнала, тем четче будет прослушиваться в телефонах этот момент.

Может случиться, что добиться требуемой настройки только подстроечным сердечником не удастся. Причиной может быть недостаточная или слишком большая индуктивность гетеродинной катушки. В таком случае перестройкой частоты генератора можно добиться появления звука в телефонах, по его шкале узнать удвоенную частоту гетеродина и таким образом определить, в какую сторону нужно изменять емкость конденсатора С6 для достижения заданной настройки гетеродина.

Границы полосы частот гетеродина определяй по сигналам генератора. Сигнал частотой 3,5 МГц (низкочастотная граница диапазона) должен прослушиваться при наибольшей емкости конденсатора С8, а сигнал частотой 3,65 МГц (высокочастотная граница) — при его наименьшей емкости. Чтобы полосу частот расширить (если это необходимо), емкость конденсатора С7 увеличивай, а чтобы, наоборот, сделать ее более узкой, емкость этого конденсатора уменьшай.

Затем переходи к настройке нагрузочного контура усилителя РЧ и контура рамочной антенны. Сигнал от генератора частотой 3,6 МГц и амплитудой 100–200 мкВ подай на вход приемника, обернув провод от генератора вокруг кольца рамочной антенны два-три раза (связь теперь будет индуктивной). Контур L2C4 настраивай подстроечным сердечником катушки L2, а контур рамочной антенны — подстроечным конденсатором С1. По мере настройки контуров на частоту 3,6 МГц чувствительность приемника и, следовательно, громкость звука в телефонах возрастает. Чтобы возможно точнее уловить момент резонанса, амплитуду сигнала уменьшай постепенно. Настройку этих контуров на среднюю частоту диапазона можно считать законченной, если любое изменение подстроечного сердечника катушки L2 или емкости конденсатора С1 контура рамочной антенны сопровождается снижением громкости звучания телефонов.

Если наибольшая емкость конденсатора С1 окажется недостаточной для точной настройки рамочной антенны на частоту 3,6 МГц, тогда параллельно ему подключи керамический или слюдяной конденсатор емкостью 30–47 пФ и настройку повтори.

Завершающий этап — настройка антенны для получения диаграммы направленности в форме кардиоиды. Делать это надо по немодулированным сигналам передатчика — лисы с вертикальной антенной на открытом месте и на расстоянии от передатчика 100–150 м. Вблизи не должно быть зданий, железобетонных сооружений и линий электропередачи, поглощающих или рассеивающих энергию радиоволн. На это время согласующий резистор R1 замени переменным или подстроечным резистором с номинальным сопротивлением 5–7,5 кОм. Включи питание, настрой приемник на сигнал передатчика и, поворачивая его вокруг вертикальной оси, убедись, что диаграмма направленности одной рамочной антенны имеет форму восьмерки — достаточно четко выражены острые углы симметричных минимумов.

После этого приемник плоскостью рамочной антенны возможно точнее направь на лису, включи (кнопкой S1) штыревую антенну, а затем поверни приемник на 180°, чтобы сравнить громкость приема лисы с двух направлений. Направь приемник на лису минимумов кардиоиды и переменным резистором добейся минимальной громкости приема. Остается измерить получившееся сопротивление переменного резистора и заменить его постоянным такого же сопротивления. После этого, пользуясь тем же высокочастотным генератором, проградуируй шкалу настройки приемника.

Чувствительность приемника по напряженности поля можно измерить по схеме, показанной на рис. 381.

Рис. 381. Схема измерения чувствительности приемника по напряженности поля

Для этого кроме генератора РЧ потребуется еще милливольтметр переменного тока и квадратная рамка со стороной 380 мм, согнутая из медной проволоки диаметром 3–5 мм. Основой рамки может быть крестовина из сухих древесных планок. Через согласующий резистор R, который должен быть безындукционным (непроволочным), рамку подключи к выходу генератора РЧ.

Сначала надо измерить напряжение шума на выходе приемника. Для этого параллельно головным телефонам подключи милливольтметр переменного тока, включи питание и конденсатором настройки С8 найди в рабочем диапазоне (3,5–3,65 МГц) участок, в котором не прослушиваются работающие радиостанции и внешние помехи. Милливольтметр покажет напряжение шума. Нормальным можно считать напряжение шума, равное 0,125—0,15 В для высокоомных телефонов или 0,025-0,05 В для низкоомных.

Затем, не изменяя настройки, размести приемник относительно рамки так, чтобы плоскости рамки и рамочной антенны были параллельны, а расстояние между их геометрическими центрами равнялось 1 м. Настрой генератор на частоту приемника по максимальному напряжению на головных телефонах и установи аттенюатором генератора такое напряжение сигнала, при котором на телефонах приемника будет напряжение в 10 раз больше напряжения шума. Это напряжение генератора и будет характеризовать чувствительность приемника по напряженности поля. К примеру, если выходное напряжение генератора оказалось равным 20 мкВ, чувствительность приемника составит 20 мкВ/м.

Более подробно методика и практика измерения чувствительности приемника «лисолова» по напряженности поля изложены в книге А. Гречихина «Соревнования» охота на лис» (М.: ДОСААФ, 1973, 176 с.).

Какие изменения можно внести в приемник и его детали?

Прежде всего — о диодах смесительного каскада, от которых во многом зависит качество приемника. Главное требование, предъявляемое к ним — возможно малая их емкость. Этому требованию отвечают, например, кремниевые высокочастотные диоды КД509А, КД514Д, КДС523А-КДС523Г. Они и заменят диоды серии КД503. Подойдут также диоды серий Д104-Д106, Д223, но чувствительность приемника с ними несколько ухудшится.

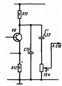
В крайнем случае в смесителе можно использовать германиевые диоды серий Д2, Д9, Д18, Д20, Д311, Д312, ГД507 с любым буквенным индексом. Но тогда смеситель следует дополнить С-цепочками, как показано на рис. 382, повышающими эффективность работы диодов.

Рис. 382. Схема замены диодов смесителя

Конденсаторы С' и С2" должны быть слюдяные или керамические.

Вместо транзисторов КТ315Б можно использовать другие транзисторы этой же серии, а также серий КТ301, КТ312, КТ201 со статическим коэффициентом передачи тока не менее 100. Если не окажется транзистора серии КТ361 (по схеме V9), выходной двухтактный каскад можно собрать на двух германиевых маломощных низкочастотных транзисторах соответствующей структуры (рис. 383): V8 — из серий МП35-МП38, V9 — из серий МП39-МП42. При этом резистор R14, создающий на базах этих транзисторов напряжение смещения, следует заменить диодом V10 из серий Д2, Д9 или Д18. Незначительные искажения типа «ступенька», которые, возможно, при этом появятся, практически не скажутся на качестве звучания телефонов.

Напряжение на эмиттерах транзисторов выходного каскада, равное половине напряжения источника питания, устанавливай подбором сопротивления резистора R15.

Рис. 383. Схема выходного каскада приемника на германиевых транзисторах

Полевые транзисторы КП303А, работающие в усилителе РЧ (V1) и гетеродине (V4), можно заменить любыми другими этой серии. Замена их биполярными транзисторами нецелесообразна из-за возможного ухудшения селективности и стабильности работы приемника.

Регулировка громкости может быть не ступенчатой, а плавной. Эту задачу нетрудно решить включением переменного резистора (R' на рис. 384) во входную цепь транзистора V7 предоконечного каскада. Резистор может быть типа СПО-0,15 или СПО-0,5 номинальным сопротивлением 15–20 кОм.

Рис. 384. Схема плавной регулировки громкости

Для питания приемника можно использовать «Крону» или аккумуляторную батарею 7Д-0,1. При этом придется подобрать режим работы транзисторов фазоинверсного и выходного каскадов. Напряжение на эмиттерах выходного каскада устанавливай подбором резистора R15, а ток покоя (2–3 мА) — подбором R14. Если кремниевые транзисторы выходного каскада заменить германиевыми, а резистор R14 — диодом, устанавливать ток покоя не придется.

При использовании нового источника питания выходной разъем Х3 лучше разместить на нижней торцовой стенке корпуса — удобнее будет пользоваться приемником.

НА СОРЕВНОВАНИЯХ

Успех в соревнованиях по «охоте на лис» зависит не только от пеленгационных качеств приемника, но и от того, как охотник освоил это свое «оружие» и пользуется им. Поэтому дать готовый рецепт, как искать и обнаруживать лис, нельзя. Можно лишь, опираясь на опыт, дать некоторые советы.

Прежде всего перед соревнованиями ты должен тщательно проверить свой приемник, подстроить антенну, если в этом появится необходимость. Питающая батарея должна быть свежей, иначе приемник может тебя подвести.

На старте тебе вручат карту или план местности с пометкой старта и контрольный билет, на котором судьи при лисах будут отмечать время их нахождения тобой. Контрольный билет — это основной документ охотника. Потеряешь его — тебе не засчитают прохождение трассы, даже если ты быстрее других пробежал ее. Приемник ты включишь только после того, как пробежишь стартовый коридор — идущую от старта в лес или кустарник дорожку, обозначенную флажками. Раньше нельзя — так установлено в «Положении о соревнованиях». Число лис на трассе и порядок поиска их тебе известны[2]. Значит, остановившись в конце стартового коридора, ты должен внимательно послушать всех лис и определить их азимуты (рис. 385).

Рис. 385. Схема возможного размещения и поиска «лис» на трассе

Эти данные полезно нанести на карту. Особенно тщательно надо определить направление на ту лису, которую ты будешь искать первой.

Определять направление на лису начинай с нахождения прямой, на которой она находится. Это делают обычно по минимуму диаграммы направленности рамочной антенны, т. е. минимальной громкости приема. Затем, повернувшись лицом в сторону одного из возможных направлений, включи штыревую антенну и тут же направь максимум кардиоиды попеременно вперед и назад. Сравнивая уровни громкости сигналов лисы, ты тем самым определишь направление, в котором надо бежать — туда, куда смотрит максимум кардиоиды. И все это надо успеть за минуту, пока работает лиса.

Заметив время окончания работы лисы, отключи штыревую антенну и беги в сторону лисы. Как только она снова начнет работать, проверь направление на нее по минимуму рамочной антенны.

Штыревую антенну включай всякий раз, когда надо уточнить направление на лису, например когда пробежал ее и направление на нее изменилось.

По мере приближения к лисе направление на нее как бы «размазывается», становится менее ощутимым на слух. В это время надо снизить чувствительность приемника или убавить громкость и быть особенно внимательным и наблюдательным — ведь лиса может быть совсем рядом! Иногда полезно бывает пробежать лису, чтобы затем, уточнив обратное направление, быстро обнаружить ее. Судья при лисе сделает на твоем контрольном билете соответствующую отметку. Теперь ты снова должен решать все те задачи, о которых я тебе рассказал здесь, но уже в направлении на следующую лису.

В зависимости от общей протяженности трассы и числа лис на ней для участников соревнований устанавливают контрольное время. Это максимальное время, в течение которого участник может искать лис и прибыть на финиш.

Если охотник где-то допустил ошибку и сбился с правильного направления, а контрольное время еще не вышло, он имеет право вернуться на старт и снова начать поиск лис.

Все эти и многие другие тонкости тактики и техники поиска лис ты узнаешь уже в ходе первых соревнований по этому увлекательному виду радиоспорта.

РАДИОСПОРТСМЕНЫ — КОРОТКОВОЛНОВИКИ

В диапазонах КВ и УКВ есть участки волн, где идут оживленные разговоры между радиолюбителями разных городов и сел, стран, континентов. Бывают дни, когда в эфире между ними идет дружеская борьба за право считаться сильнейшим, получить спортивный разряд, диплом, звание мастера этого вида радиоспорта. Соревнуются люди разных возрастов и профессий. Среди них есть и твои сверстники. Побеждает тот, кто лучше знает радиоэлектронику, кто хорошо владеет техникой радиопередачи и радиоприема.

Путь в этот вид радиоспорта открыт и для тебя.

Для двусторонней любительской радиосвязи надо иметь радиостанцию-передатчик и приемник, настраиваемые на одни и те же частоты. Антенна — общая для передатчика и приемника. Во время передачи радиоспортсмен подключает ее к выходу передатчика, а во время приема — к входу приемника. Таким образом, когда спортсмен работает на своей радиостанции, его слушает товарищ по эфиру. Закончив сообщение, он антенну переключает на вход приемника — переходит на прием. Его же корреспондент в это время переключает антенну своей станции с приемника на передатчик. Теперь он передает какие-то сведения, адресуемые первому спортсмену. Так между ними устанавливается двусторонняя любительская радиосвязь телефоном, т. е. разговорной речью.

Связь может быть телеграфом, когда вызов корреспондента и обмен с ним сообщениями происходит знаками телеграфной азбуки. В таких случаях содержание сообщений кодируется телеграфным ключом. В результате в эфир излучаются импульсы немодулированных электромагнитных колебаний, соответствующие звучанию точек и тире.

Любительские радиостанции могут быть как коллективными, например спортивно-технических клубов ДОСААФ, школ, Дворцов и Домов пионеров, станций юных техников, так и индивидуальными. Каждой радиостанции присваивается позывной — своеобразный адрес, состоящий из нескольких букв латинского алфавита и цифр между ними.

Например, UY5AG (телефоном звучит так: Ульяна, игрек, пятерка, Анна, Георгий). Первые две буквы характеризуют принадлежность станции к той или иной стране, цифра район внутри страны, последние две буквы — закодированная «фамилия» данной станции.

Опытный радиоспортсмен по позывному станции мгновенно расшифрует ее адрес. Что же касается других деталей, касающихся ее оператора, об этом он узнает получив от него QSL-карточку — квитанцию, подтверждающую состоявшуюся встречу в эфире.

Но путь в этот увлекательный вид радиоспорта можно начинать с наблюдения за работой других радиоспортсменов. Для этого надо иметь только приемник. Его владельцу тоже присваивается позывной наблюдателя, и он обменивается QSL-карточками (рис. 386) с теми спортсменами, разговор которых он слушал в эфире.

… в OCR этот рисунок отсутствует…

В радиочастотном диапазоне КВ радиоспортсменам выделено несколько сравнительно узких (по частоте) участков — любительских диапазонов: 10-метровый (28–29,7 МГц), 14-метровый (21–21,45 МГц), 20-метровый (14–14,35 МГц), 40-метровый (7–7,1 МГц) и 80-метровый (3,5–3,65 МГц). А в 1979 г. специально для начинающих радиоспортсменов, в возрасте от 14 лет, Государственной комиссией по радиочастотам СССР выделен еще один любительский диапазон радиочастот — 160-метровый (1850–1950 кГц). Его так и называют: диапазон начинающих. Но он популярен и среди опытных коротковолновиков. В этом диапазоне радиочастот можно работать телефоном с амплитудной модуляцией, телеграфом и телефоном с однополосной модуляцией. Первый из этих видов излучения называют сокращенно AM, второй CW (си-даблью), третий — SSB (эс-эс-би). С освоения этого диапазона начали путь в эфир многие сегодняшние опытные радиоспортсмены-коротковолновики. Советую и тебе последовать их примеру.

Начать можно с постройки приемника для наблюдения за работой в эфире других радиоспортсменов, а позже, когда наблюдения, ведение аппаратного журнала и обмен QSL-карточками станут привычным делом, приняться за конструирование передатчика. Это, так сказать, традиционный путь создания любительской радиостанции. В популярной радиотехнической литературе описано немало таких приемников и передатчиков. Об одном из возможных вариантов приемника коротковолновика-наблюдателя и я рассказывал в предыдущем издании этой книги.

Но опыт, сама жизнь и все время изменяющаяся элементная база радиотехники вносят свои поправки в складывающиеся традиции. Сейчас радиоспортсмены все больше предпочитают строить не отдельные приемники и передатчики, а комплексные устройства, в которых одни и те же блоки и узлы используются как в приемном, так и передающем трактах. Их называют трансиверами. Один из таких приемопередатчиков, рассчитанный на работу в 160-метровом любительском диапазоне, я буду рекомендовать тебе.

Разрешение на его постройку тебе выдаст Госинспекция электросвязи, куда надо обратиться через спортивно-технический клуб или комитет ДОСААФ по месту жительства. К заявлению-анкете надо приложить характеристику с места учебы (школы, техникума, ПТУ), справку о постоянном месте прописки с отметкой «Для представления в органы госинспекции электросвязи», схему будущей радиостанции и, кроме того, заявление главы твоей семьи (если тебе не исполнилось 16 лет), что он не возражает против выдачи тебе разрешения на постройку любительской радиостанции и принимает на себя ответственность за соблюдение правил ее эксплуатации и техники безопасности.

Сначала ты получишь разрешение только на постройку радиостанции, срок действия которого — 6 месяцев. За это время ты должен ее сконструировать, наладить и сообщить об этом общественному или штатному сотруднику местной госинспекции электросвязи. Если технических замечаний не будет, то вскоре ты получишь разрешение на эксплуатацию радиостанции, т. е. на работу в эфире.

…Будем считать, что разрешение на постройку радиостанции ты получил. Значит, можно начать его практическую реализацию.

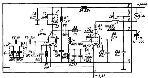
ТРАНСИВЕР НАЧИНАЮЩЕГО КОРОТКОВОЛНОВИКА

Первоначальный вариант этого трансивера, предназначенного для работы на SSB в телефонном участке 80-метрового диапазона, сконструирован в редакционной лаборатории журнала «Радио» мастерами спорта СССР Б. Степановым (UW3AX) и Г. Шульгиным (UA3ACM), испытан на коллективной радиостанции UK3R журнала и описан в этом журнале в 1976 г. По месту и году «рождения» он назван трансивером «Радио-76». За несколько последующих лет он завоевал популярность у широкого круга коротковолновиков. А одно из промышленных предприятий страны приступило к выпуску радио конструктора «Электроника Контур-80» — набора деталей и материалов для самостоятельной сборки приемника трансивера «Радио-76».

Вариант трансивера, о котором я здесь рассказываю, доработан его авторами для работы на SSB в 160-метровом любительском диапазоне. Он может быть собран как из имеющихся в твоем распоряжении радиодеталей, так и из деталей набора «Электроника Контур-80».

Диапазон частот, перекрываемый трансивером, 1840–1960 кГц, т. е. с запасом на краях по 10 кГц. Чувствительность приемного тракта около 1 мкВ, выходная мощность передающего тракта на активной нагрузке сопротивлением 75 Ом — около 2 Вт. Питается трансивер от стабилизированного источника постоянного тока напряжением 12 В; ток покоя в режиме приема не превышает 100 мА, ток покоя в режиме передачи — около 360 мА.

Структурная схема трансивера приведена на рис. 387. Он состоит из трех блоков: основного, являющегося общим для приемного и передающего трактов, блока гетеродинов и усилителя мощности. Прием и передача ведутся на общую антенну W.

Рис. 387. Структурная схема трансивера

В режиме приема сигнал из антенны через антенный переключатель 1 и фильтр сосредоточенной селекции 2 поступает на вход первого так называемого кольцевого смесителя 3, находящегося в основном блоке. Сюда же через коммутатор 12 подается напряжение гетеродина 10, генерирующего колебания частотой 2340–2460 кГц. Создающийся при этом сигнал промежуточной частоты, равной 500 кГц, усиливается каскадом ПЧ 4, проходит через электромеханический фильтр 5, усиливается вторым каскадом 6 тракта ПЧ и поступает на второй кольцевой смеситель 7, выполняющий в этом режиме работы трансивера функцию смесительного детектора. Одновременно на этот смеситель подается через коммутатор 12 напряжение частотой 500 кГц от гетеродина 11, а продетектированный им сигнал усиливается усилителем 3Ч 8 и преобразуется в звук телефонами В2.

В режиме передачи сигнал микрофона В1, усиленный до необходимого напряжения усилителем 9, поступает на первый кольцевой смеситель 3, который теперь выполняет функцию балансного модулятора. На него же через коммутатор 12 подается еще и напряжение гетеродина 11 (500 кГц). Каскад усилителя ПЧ усиливает двухполосный сигнал, а электромеханический фильтр 7 выделяет из него верхнюю боковую полосу и таким образом формирует SSB сигнал.

После усиления вторым каскадом усилителя ПЧ SSB сигнал поступает на второй кольцевой смеситель, куда подается еще (через коммутатор) и напряжение гетеродина 10. С кольцевого смесителя преобразованный сигнал поступает на вход двухкаскадного усилителя мощности 13 и 14, а с его выхода — через переключатель 1 в антенну W.

Познакомившись с принципом работы трансивера по его структурной схеме, тебе нетрудно будет разобраться и с работой его блоков.

Принципиальная схема основного блока трансивера показана на рис. 388.

Рис. 388. Схема основного блока

Подключенные к его плате (через выводные контакты 5 и 6) контуры L1CI, L2C3 со связующим их конденсатором С2 образуют фильтр сосредоточенной селекции. В режиме приема через него на первый кольцевой смеситель, выполненный на диодах V1-V4, подается принятый антенной сигнал, а через выводы 3 и 4 — напряжение гетеродина частотой 2340–2460 кГц. На выходной катушке L8 кольцевого смесителя выделяется сигнал промежуточной частоты (500 кГц), который усиливается транзистором V5 первого каскада усилителя ПЧ. Предварительная фильтрация сигнала промежуточной частоты осуществляется колебательным контуром L10C8-C10, а основная - электромеханическим фильтром Z1, включенным в коллекторную цепь транзистора V5. Далее сигнал в тракте ПЧ усиливается микросхемой А1, представляющей собой каскодный усилитель.

С контура L13C21, являющегося нагрузкой микросхемы А1, сигнал ПЧ поступает (через катушки связи L14 и L15) на второй кольцевой смеситель на диодах V9-V12. На него же через выводы 8 и 9 подается напряжение частотой 500 кГц с блока гетеродинов. Создающийся при этом сигнал звуковой частоты проходит через фильгр, образованный дросселем L22, конденсаторами С25, С26 и резистором R12 и усиливается микросхемой А2 и транзисторами V14-V16. Транзисторы V15 и V16 усилителя 3Ч включены эмиттерными повторителями, поэтому к выходу усилителя (разъем Х3) можно подключать низкоомные головные телефоны или динамическую головку мощностью 0,25-0,5 Вт со звуковой катушкой сопротивлением 8-10 Ом.

Регулирование усиления принятого сигнала осуществляется переменным резистором R20, находящимся вне платы основного блока, путем изменения напряжения в базовой цепи транзистора V5 первого каскада усилителя ПЧ.

В режиме приема сигнал микрофона В1 через разъем Х4, подстроечный резистор R8 и вывод 1 основного блока поступает на вход микросхемы А3 и усиливается ею. Чтобы выходное сопротивление этой микросхемы снизить примерно до 300 Ом, ее вывод 10 соединен не с заземленным проводником, как это сделано в микросхеме А2 усилителя 3Ч (а также было в знакомых тебе конструкциях на микросхеме серии К122), а с выводом 11, который в данном случае является выходным выводом микросхемы.

С выхода микрофонного усилителя сигнал звуковой частоты через конденсатор С41 и фильтр L12C7 поступает на первый кольцевой смеситель (на диодах V1-V4), выполняющий в этом режиме работы функцию балансного модулятора. Сюда же через выводы 4 и 3 с блока гетеродинов подастся напряжение частотой 500 кГц. Балансируют смеситель подстроечным резистором R2.

С балансного модулятора смешанный сигнал поступает в тракт ПЧ. В результате на вход второго кольцевого смесителя подается уже сформированный и усиленный SSB сигнал. Через выводы 8 и 9 на этот смеситель поступает еще напряжение частотой 2340–2460 кГц с блока гетеродинов. Преобразованный сигнал через катушку связи L20 и выводы 10 и 11 основного блока подается на вход усилителя мощности для фильтрации и дальнейшего усиления.

Диоды V6-V8 и резисторы R6, R7 в цепях транзистора V5 каскада ПЧ образуют коммутационный узел, с помощью которого в основном блоке осуществляется переход с приема на передачу, и наоборот. О работе этого узла я расскажу позже.

Следующий блок трансивера - гетеродинный (рис. 389).

Рис. 389. Схема гетеродинного блока

В него входят два гетеродина, один из которых (на транзисторе V17) генерирует колебания частотой от 2340 до 2460 кГц, а второй (на транзисторе V23) колебания фиксированной частоты 500 кГц. Транзисторы V21 и V22, включенные составным эмиттерным повторителем, образуют буферный каскад, ослабляющий влияние нагрузки генератора на его частоту и амплитуду выходного сигнала, а электромагнитные реле К1 и К2 — коммутатор, переключающий генераторы при переводе трансивера с приема на передачу и, наоборот, с передачи на прием. Питание на транзистор V17 подается через параметрический стабилизатор напряжения на стабилитроне V20.

Колебательный контур первого гетеродина образуют катушка L23 и два варикапа V18, V19, включенные встречно-последовательно. Его частоту, определяющую настройку трансивера на рабочую частоту 160-метрового любительского диапазона, плавно изменяют варикапом V18, подавая на него с переменного резистора R35 «Настройка» управляющее напряжение положительной полярности. Частота колебаний второго гетеродина стабилизирована кварцевым резонатором Z2.

Катушка L23 колебательного контура первого гетеродина находится вне платы этого блока и подключается к нему через выводы 7 и 8. Такое конструктивное решение позволяет простой заменой катушки перевести трансивер на работу в другом, например 80-метровом, любительском диапазоне.

Положения контактов К1.1 и К2.1 реле К1 и К2 коммутатора, показанные на схеме блока гетеродинов, соответствуют режиму приема. В эти время обмотки реле обесточены, напряжение первого гетеродина поступает (через буферный каскад, контакты К1.1 реле К1, выводы 1, 2) на первый смеситель, а напряжение второго гетеродина на второй смеситель основного блока (через контакты К2.1 и выводы 3, 4). В режиме передачи на вывод 11 блока гетеродинов подается напряжение 12 В. При этом реле К1 и К2 срабатывают, их контакты переключаются, в результате чего напряжение первого гетеродина начинает поступать на второй смеситель, а напряжение второго гетеродина на первый смеситель основного блока.

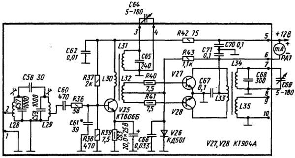
Усилитель мощности (рис. 390) включается только при переводе трансивера на режим передачи.

Рис. 390. Схема усилителя мощности

Сигнал с выхода основного блока поступает на вход усилителя мощности через выводы 1 и 2. Двухконтурный полосовой фильтр L28C57, С58, L29C59 выделяет из него полезный сигнал, соответствующий рабочей частоте трансивера. Транзистор V25 работает в каскаде предварительного усиления напряжения, транзисторы V27 и V28 в двухтактном усилителе мощности. Через катушку связи L35 и выводы 9, 10 выходной сигнал подается в антенну приемопередатчика.

Питание на первый каскад усилителя полается через ячейку развязывающего фильтра R42C62, на выходной каскад — через миллиамперметр РА1. Конденсаторами переменной емкости С64 и С69 колебательных контуров усилителя добиваются равномерного усиления сигнала по мощности в различных участках любительского диапазона.

Схема соединения блоков трансивера и деталей, находящихся вне плат блоков, показана на рис. 391.

Рис. 391. Схема соединения блоков и деталей трансивера

Антенну, общую для приемного и передающего трактов, подключают к гнезду X1. Принятый сигнал через контакты К3.1 антенного реле К3 и двухконтурный полосовой фильтр L1C1C2, L2C3 поступает на вход основного блока. Настройка на рабочую частоту осуществляется переменным резистором R35, а усиление принятого сигнала — переменным резистором R20. Головные телефоны или динамическую головку подключают к разъему Х3. К гнезду Х2 подключают отдельную приемную антенну, минуя антенный переключатель.

Замыканием контактов выключателя S1 «Прием-передача» трансивер переводят в режим передачи. При этом напряжение источника питания подается на усилитель мощности, вывод 14 основного блока и вывод 11 блока гетеродинов. Одновременно срабатывает антенное реле К3 и контактами К3.1 отключает входной полосовой фильтр приемника от общей антенны.

Остается разобрать принцип работы коммутационного узла в первом каскаде усилителя ПЧ основного блока при переводе трансивера с приема на передачу.

В режиме «Прием» нижний (по схеме на рис. 388) вывод резистора R6 этого каскада через обмотки реле К1 и К2 коммутатора, находящегося в блоке гетеродинов, соединен с общим заземленным проводником цепи питания, диод V8 открыт напряжением, падающим на эмиттерном резисторе R5. В это время конденсатор С13, подключенный через открытый диод V8 к резистору R5, ослабляет отрицательную обратную связь по переменному току, снижающую усиление каскада. При подаче на вывод 14 основного блока постоянного напряжения +12 В (переключателем S1) диод V8 закрывается и тем самым отключает конденсатор С13 от резистора R5; начинает действовать отрицательная обратная связь, снижающая усиление каскада. Это предотвращает перегрузку тракта ПЧ относительно сильным сигналом, поступающим в него с первого кольцевого смесителя в режиме передачи.

Диоды V6, V7 и резистор R7 обеспечивают подачу на базу транзистора V5 в режиме передачи постоянного смещения, не зависящего от напряжения на выводе 15 и изменяющегося при регулировании усиления переменным резистором R20.

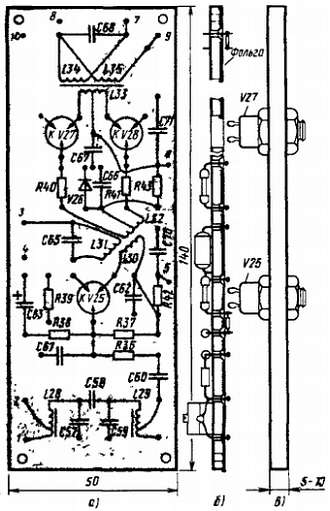
Детали, конструкция. Большая часть деталей трансивера смонтирована поблочно на трех платах из фольгированного стеклотекстолита толщиной 1,5–2 мм. Платы основного блока, блока гетеродинов и соединения деталей на них показаны на рис. 392 и 393.

Рис. 392. Плата основного блока

Рис. 393. Плата гетеродинного блока

Контактными выводами плат служат отрезки посеребренного (или луженого) медного провода толщиной 1,2–1,5 мм, запрессованные в отверстиях в платах.

Печатные платы этих блоков трансивера разработаны под детали: постоянные резисторы — MЛT-0,25, подстроечный резистор R2-CП4-1; неэлектролитические конденсаторы — КМ-4 и КМ-5, электролитические — К50-6; высокочастотные дроссели L11 и L12, L21 и L22 — Д-0,2 или самодельные такой же конструкции, L26 и L27 — Д-0,1; электромагнитные реле — РЭС-15 (паспорт РС4.591.004); катушки L9 и L10, L13 и L14 в усилителе ПЧ, а также L24 и L25 гетеродина фиксированной частоты 500 кГц — трансформаторы ФПЧ-2 от радиоприемника «Селга-404»; электромеханический фильтр Z1 — ЭМФ-9Д-500-3B; кварцевый резонатор Z2 — нa частоту 500 кГц в корпусе Б1.

Не изменяя печатных проводников плат, можно применять некоторые другие аналогичные детали. Подстроечный резистор СП4-1 (R2), например, можно заменить на СПО-0,5 конденсаторы КМ-4 и КМ-5 в развязывающих цепях (например, С11, С14) — на KЛC и КЛГ, в остальных высокочастотных цепях — на КТ или КСО. В качестве катушек индуктивности в усилителе ПЧ (L9 и L10, L13 и L14) и в гетеродине на частоту 500 кГц (L24 и L25) можно применить трансформаторы ПЧ с соотношением чисел витков от 20:1 до 10:1 от любых транзисторных супергетеродинов, соответственно прокорректировав под них печатные проводники плат.

Транзисторы КТ315 (V5, V14, V17, V21-V23) или подобные им кремниевые высокочастотные n-р-n транзисторы КТ301, КТ306, КТ312 могут быть с любым буквенным индексом. Следует лишь учесть, что коэффициент h21Э транзисторов V5, V17 и V21 должен быть не менее 80 (при токе коллектору 1 мА), а транзистора V22 не менее 30 (при токе коллектора 20 мА). Через транзистор V22 протекает ток 15–20 мА, поэтому его желательно снабдить простейшим теплоотводящим радиатором. Транзисторы ГТ404Б (V15) и ГТ402Б (V16) можно заменить маломощными транзисторами МП41 и МП38. Но в этом случае к выходу усилителя 3Ч основного блока (к разъему Х3) можно будет подключать лишь головные телефоны.

Можно ли сверхвысокочастотные транзисторы КТ606 и КТ904 усилителя мощности заменить какими-то другими?

К сожалению, нет. Попытка авторов трансивера использовать в этом блоке менее дефицитные транзисторы успеха не имели. Но это не значит, что положение безвыходное — усилитель мощности может быть собран на электронных лампах, о чем я расскажу позже.

Микросхемы К122УН2А (А1) и К122УН1Г (А2, АЗ) можно заменить аналогичными им микросхемами серии К118-К118УН2В и К118УН1Г, но тогда с учетом их цоколевки надо будет переработать относящиеся к ним участки токонесущих проводников печатных плат.

Диоды КД503А (V1-V4 и V9-V12) кольцевых смесителей можно заменить диодами КД509, КД507. Можно также использовать диоды Д18, Д311, но с ними чувствительность приемного тракта трансивера несколько ухудшается (примерно до 2 мкВ). В других вспомогательных цепях диоды КД503А можно заменить любыми кремниевыми или германиевыми высокочастотными с возможно малыми обратными токами, например диодами Д9К.

Катушки L1, L2 контуров полосового фильтра и катушку L23 контура гетеродина плавного диапазона наматывают в броневых сердечниках СБ-12а проводом ПЭВ-2 0,33. Катушки L1 и L2 должны содержать по 20 витков с отводом от 5-го витка, считая от заземленного конца, a L23 — 25 витков такого же провода.

Катушки L3-L5, L6-L8, L15-L17 и LI8-L20 трансформаторов смесителей основного блока намотаны на кольцах типоразмера К7х4х2 из феррита марки 600НН. Можно также использовать ферритовые кольца с магнитной проницаемостью 400-1000 и внешним диаметром 7-12 мм. Каждая из катушек трансформаторов содержит 34 витка провода ПЭВ-2 0,15. Наматывать катушки каждого трансформатора надо одновременно тремя проводами, предварительно скрутив их жгутиком, а во время монтажа внимательно следить за порядком их соединения (на рис. 388 начала катушек отмечены точками).

Дроссели L11, L12, L21, L26 и L27 можно намотать на резисторах МЛТ-0,5 сопротивлением не менее 1 МОм, уложив на их корпуса по 180–200 витков провода ПЭВ-1 0,1–0,12.

Для платы усилителя мощности использован фольгированный стеклотекстолит, но монтаж деталей выполнен навесным методом (рис. 394, а). Сделано так для того, чтобы сохранить возможно большую площадь заземленной фольги, поскольку она ослабляет паразитные связи между узлами и деталями и тем самым предотвращает самовозбуждение усилителя мощности. При таком способе монтажа выводы деталей, которые должны соединяться с общим заземленным проводником цепей питания, пропускают через отверстия в плате и припаивают к фольге (рис. 394, б).

Рис. 394. Плата усилителя мощности (а), монтаж деталей на ней (б) и монтаж транзисторов усилителя на теплоотводящей пластине-радиаторе (в)

Все другие отверстия в плате зенкуют со стороны фольги сверлом большего диаметра, пропускают через них выводы деталей и соединяют между собой отрезками изолированного монтажного провода.

Транзисторы V25, V27 и V28 усилителя мощности установлены на теплоотводящем радиаторе, роль которого выполняет дюралюминиевая пластина толщиной не менее 5 мм. В корпусе трансивера радиатор размещают под монтажной платой наподобие этажерки и через сквозные отверстия в плате диаметром 10–12 мм выводы транзисторов соединяют с соответствующими точками монтажа.

Резисторы и конденсаторы, используемые в усилителе мощности, такие же, как в основном и гетеродинном блоках. Катушки L28 и L29 входного полосового фильтра точно такие же, как катушки L1 и L2 подобного фильтра приемного тракта. Катушки L30-L32 межкаскадного трансформатора намотаны на кольце типоразмера К12х6х4 из феррита М20ВЧ2 проводом ПЭВ-2 0,35. Катушка L30 содержит 2 витка, L31 — 17 витков, L32 — 2 витка с отводом от середины. Магнитопроводом катушек L33-L35 выходного трансформатора служит кольцо К20х10х5 из феррита M50BЧ2 Катушка L33 содержит 2 витка с отводом от середины, L34 — 16 витков, L35 — 2 витка провода ПЭВ-2 0,35.

Конденсаторы переменной емкости С64 и С69 типа КПЕ-180. Вообще же можно использовать односекционные КПЕ с твердым или воздушным диэлектриком от любых малогабаритных транзисторов приемников. Диод КД504 (V24) можно заменить любым кремниевым.

Измерительный прибор РА1 — на ток 0,5–1 А. Подойдет любой миллиамперметр с шунтом соответствующего сопротивления.

Возможный вариант компоновки блоков и деталей трансивера приведен на рис. 395.

Рис. 395. Компоновка деталей и блоков трансивера в корпусе

Его корпус образуют две дюралюминиевые пластины, согнутые наподобие буквы П, одна из которых является основанием с передней и задней панелям, а вторая крышкой. Четырьмя винтами М4 крышку привертывают к металлическим уголкам, приклепанным к основанию.

На основании с помощью стоек высотой 5-10 мм закреплено плоское металлическое шасси 3 с находящимися на нем платами блоков трансивера. Платы основного 2 и гетеродинного 1 блоков прикреплены к шасси непосредственно, а чтобы не было замыкания монтажа, под ними в шасси сделаны прямоугольные отверстия. Плата усилителя мощности 5 прикреплена к радиатору 4 на четырех стойках высотой 8-10 мм. На передней панели размещены все органы управления и измерительный прибор (РА1) для контроля тока оконечного каскада усилителя мощности, на задней все входные и выходные гнезда и разъемы трансивера. Входной двухконтурный полосовой фильтр приемного факта, детали которого смонтированы на гетинаксовой пластинке, и электромагнитное реле К3 (РЭС-15, паспорт РС4.591.004) находятся на шасси между платами и задней панелью корпуса.

Налаживание. Трансивер радиоаппарат повышенной сложности. Поэтому, естественно, конструирование, налаживание и работа с ним в эфире потребуют от тебя дополнительных знаний, которые придется черпать из соответствующей литературы, навыков обращения с новыми для тебя радиоэлементами, измерительными приборами. К настройке трансивера к тому же предъявляются более высокие требования, чем, скажем, к бытовым усилителям 3Ч и радиовещательным приемникам. Потому что каждый новый любительский приемопередатчик — это новый позывной в эфире. И если твой трансивер окажется недостаточно хорошо настроенным, то не только тебя, но и ты не сможешь услышать в эфире голоса других радиоспортсменов.

Во время налаживания и настройки трансивера питать его можно от имеющегося у тебя сетевого блока. А для работы в эфире придется сконструировать более мощный стабилизированный источник питания, о чем я скажу позже.

Налаживание начинай с установки режимов работы транзисторов V5 и V14-V16 основного блока (см. рис. 388). Для этого переключатель S1 «Прием-передача» установи в положение «Прием», движок переменного резистора R20 «Усиление» — в положение наибольшего усиления и, подбирая резистор R4, добейся, чтобы напряжение на эмиттере транзистора V5 была около 2 В. Напряжение на эмиттерах транзисторов V15 и V16, равное половине напряжения источника питания, устанавливай подбором резистора R14 в базовой цепи транзистора V14.

Далее займись гетеродинным блоком. Сначала проверь его работоспособность и настрой генератор фиксированной частоты 500 кГц. Для этого между выводами 3 и 4 платы включи высокочастотный вольтметр с пределом измерения до 1 В и вращением подстроечного сердечника контурной катушки L25 добейся амплитуды напряжения на выходе генератора около 0,5 В.

Налаживание генератора плавного диапазона начинай с проверки режимов работы транзисторов по постоянному току. Предварительно контурную катушку L23 (или выводы 7 и 8 платы) временно замкни накоротко проволочной перемычкой, чтобы сорвать генерацию. В таком режиме напряжение на эмиттере транзистора V17 должно быть около 1 В, а на эмиттере транзистора V22 — 4–5 В. При исправных деталях и отсутствии ошибок в монтаже эти напряжения не должны отличаться более чем на 20–25 %. Подогнать такие режимы можно подбором резисторов R22 и R27.

Затем удали проволочную перемычку, замыкающую контурную катушку, к выходу генератора (выводы 2 и 1 платы) через конденсатор емкостью 0,1–0,47 мкФ подключи резистор МЛТ-0,25 или MЛT-0,5 сопротивлением 470–510 Ом, а параллельно этому резистору — высокочастотный вольтметр. Если генератор работает, вольтметр должен фиксировать какое-то напряжение. Отсутствие напряжения — признак того, что генератор не возбуждается. В таком случае надо конденсатор С46 заменить другим, с несколько меньшей емкостью. Подбери такой конденсатор, при котором сигнал генератора будет устойчивым во всем диапазоне частот.

Добившись устойчивой генерации, переменным резистором R35 «Настройка» подай на варикапы управляющее напряжение 3,2 В и подстроечным сердечником катушки L23 установи частоту генерации чуть меньше 2350 кГц (примерно на 5-10 кГц). Затем, установив движок резистора R35 в другое крайнее положение, подай на варикапы напряжение, близкое к нулю. Теперь рабочая частота плавного генератора должна быть несколько выше 2450 кГц. Если при вращении ручки резистора R35 от одного крайнего в другое крайнее положения перекрытие диапазона частот будет меньше 110–120 кГц, то конденсатор С45 замени конденсатором меньшей емкости или уменьшай сопротивление резистора R34, чтобы максимальное управляющее напряжение, подаваемое на варикапы, увеличить до 3,5–4 В.

Далее надо подобрать конденсатор С48. Его емкость должна быть такой, чтобы напряжение на выходе генератора было 0,7–0,9 В и не изменялось по диапазону более чем на 0,1 В. Затем проверь диапазон частот, перекрываемый генератором, и если он изменился, то подстрой сердечником контурную катушку L23. Граничные частоты генератора плавного диапазона, соответствующие 2340 и 2460 кГц, устанавливай по частотомеру, по шкале связного приемника, настраивая его на сигналы генератора, или с помощью резонансного волномера, подобного тому, которым ты, возможно, пользовался при настройке передатчика аппаратуры радиоуправления моделями (см. рис. 357).

После этого приступай к настройке радиочастотного тракта — основного блока трансивера. Делай это так. К разъему Х3 подключи нагрузку усилителя 3Ч — динамическую головку со звуковой катушкой сопротивлением 6-10 Ом или ее эквивалент — резистор такого же сопротивления на мощность рассеяния 0,5–1 Вт. Параллельно нагрузке подключи вольтметр переменного тока. Коснись пальцем или отверткой вывода 4 микросхемы А2. Появление фона в головке и отклонение стрелки вольтметра будут признаком работоспособности усилителя 3Ч.

Теперь, установив ручку переменного резистора R20 «Усиление» в положение максимального усиления, на вход трансивера через эквивалент антенны (рис. 396) подай от ГСС сигнал частотой 1990 кГц и амплитудой 100 мкВ.

Рис. 396. Включение эквивалента антенны

Вращая подстроечные сердечники катушек L13, L9 фильтров тракта П4, катушек L2, L1 контуров входного полосового фильтра и постепенно уменьшая уровень сигнала ГСС, добивайся наибольшего отклонения стрелки вольтметра, что будет соответствовать наилучшей чувствительности приемного тракта трансивера. Шкалу трансивера градуируй по сигналам ГСС после настройки радиочастотного тракта в режиме «Прием».

Настройку трансивера в режиме «Передача» также начинай с основного блока (см. рис. 388). Питание на усилитель мощности пока не подавай. К разъему Х4 «Микрофон» подключи электродинамический микрофон (любого типа), а к выходу микросхемы А3 подключи милливольтметр или вольтметр переменного тока, который мог бы фиксировать десятые доли вольта. Произнося перед микрофоном протяжное «а-а-а», подстроечным резистором R18 установи на выходе микросхемы АЗ напряжение, равное 0,1–0,15 В. После этого к выводу 10 платы основного блока можно подключить отрезок провода, прослушать на вспомогательный приемник сформированный SSB сигнал трансивера и скорректировать его подстроечным резистором R2.

Далее переходи к настройке усилителя мощности. К антенному гнезду X1 (между выводами 9 и 10 платы) подключи эквивалент антенны — резистор МЛТ-2 или МЛТ-5 сопротивлением 75 Ом и восстанови цепь питания усилителя. Переключателем S1 «Прием-передача» переведи трансивер на режим «Передача», а на вход полосового фильтра (вывод 2 платы) подай от ГСС сигнал частотой 1900 кГц и амплитудой 100 мВ. Следя за показаниями измерительного прибора РА1, находящегося в цепи питания транзисторов выходного каскада, и вращая подстроечные сердечники катушек L29 и L28 контуров полосового фильтра, добейся максимального отклонения стрелки прибора. Дополнительно контуры предоконечного и выходного каскадов подстраивай по наибольшему току конденсаторами переменной емкости С64 и С69. Если теперь гетеродин плавного диапазона перестраивать в пределах +30 кГц, этот ток должен плавно уменьшаться. Если, однако, такого изменения тока нет, это укажет на самовозбуждение усилителя мощности. Устранить самовозбуждение можно, подключив параллельно КПЕ С64 и С69 резисторы сопротивлением 10–15 кОм.

Теперь плату усилителя мощности можно подключить к основной плате и проверить качество работы трансивера в целом на связной приемник.

Блок питания транзисторного трансивера можно смонтировать по схеме, приведенной на рис. 397.

Рис. 397. Схема блока питания трансивера

В нем многое тебе уже знакомо по сетевому блоку, о котором я рассказывал в одиннадцатой беседе. Двухполупериодный выпрямитель, блока образуют диоды КД202А V1-V4, включенные по мостовой схеме, и конденсатор С1, сглаживающий пульсации выпрямленного напряжения, а стабилизатор — транзисторы V5-V7 и стабилитрон V8. Транзисторы V5 и V6, включенные составным эмиттерным повторителем, выполняют функцию регулирующего транзистора повышенной мощности. Им управляет транзистор V7, работающий в режиме усиления постоянного тока.

Резисторы R4 и R5 образуют делитель выходного напряжения, некоторая часть которого, снимаемого с резистора R5 и называемого напряжением обратной связи, подается на базу транзистора V7. Напряжение на эмиттере этого транзистора постоянно и равно напряжению стабилизации стабилитрона V8. Следовательно, эмиттерный р-n переход транзистора V7 находится под действием разности двух напряжений — обратной связи и стабилизации стабилитрона.

Транзистор как бы следит за изменением напряжения обратной связи, а значит, и выходным напряжением стабилизатора. Открываясь больше или, наоборот, несколько закрываясь под действием напряжения обратной связи, он изменяющимся отрицательным напряжением на коллекторе управляет состоянием регулирующих транзисторов V5, V6 таким образом, что напряжение на выходе стабилизатора остается, практически постоянным.

Ток через стабилитрон, равный 10–15 мА, устанавливай подбором резистора R3, а напряжение на выходе стабилизатора, равное 12 В, подбором резистора R4.

С помощью разъема X1 выход блока питания соединяй с трансивером (на рис. 391 и 395 — через гнездовую колодку Х5).

Стабилизатор блока питания не имеет системы защиты от перегрузок. Поэтому, чтобы предупредить тепловой пробой регулирующего транзистора, следи за тем, чтобы между соединительными проводниками или в цепях питания трансивера не было коротких замыканий.

Конструкция блока питания произвольная. Для сетевого трансформатора Т1 подойдет магнитопровод сечением 5–6 см2, например ШЛ20х25. Его первичная обмотка должна содержать 1400 витков провода ПЭВ-1 0,2–0,3, вторичная — 85 витков провода ПЭВ-1 0,8–0,9. Диоды КД202А можно заменить любыми другими из этой же серии или диодами Д242, Д243, Д245 с любым буквенным индексом. В стабилизаторе напряжения транзистор V5 может быть ГТ402Д или ГТ402Е, транзистор V6 — П210 или П217 с коэффициентом h2iЭ не менее 40, транзистор V7 — МП26 или МП42. Стабилитрон V8 — на напряжение стабилизации 7–9 В. Электролитические конденсаторы С1 и С2 типа К50-6. Транзистор V6 необходимо установить на ребристый стандартный радиатор или теплоотводящую дюралюминиевую пластину толщиной 3–5 мм площадью 250–300 см2. Для лучшего обтекания радиатора потоками воздуха его следует установить на плате вертикально.

Ламповый усилитель мощности. Принципиальная схема такого варианта усилителя мощности трансивера приведена на рис. 398.

Рис. 398. Схема усилителя мощности на электронных лампах

В первом его каскаде работает высокочастотный пентод 6Ж1П (V1), во втором — мощный выходной пентод 6П15П (V2). Источником питания анодных и экранирующих сеток ламп служит выпрямитель с выходным напряжением постоянного тока 290 В, а нитей накала — переменное напряжение 6,3 В понижающей обмотки сетевого трансформатора блока питания. Положительное напряжение выпрямителя подается на анод и экранирующую сетку лампы первого каскада через вывод 3 платы и развязывающий фильтр R4C6, на анод и экранирующую сетку лампы второго каскада — через миллиамперметр РА1 и вывод 6, а переменное напряжение на нити накала ламп — через вывод 9. Вывод 8 платы является общим для цепей питания ламп усилителя. Выводы 4 и 5, как и выводы 9 и 10 транзисторного усилителя, предназначены для подключения антенны.

На вывод 2 усилителя подают радиочастотный сигнал, снимаемый с вывода 10 основного блока трансивера. Пройдя через полосовой фильтр, контуры L1C1 и L2C3 которого настроены на частоту 1900 кГц (среднюю частоту любительского 160-метрового диапазона), и конденсатор С4 сигнал поступает на управляющую сетку лампы V1. С контура L3C7, включенного в анодную цепь этой лампы и настроенного на такую же частоту, усиленный сигнал через конденсатор С9 и резистор R5 поступает на управляющую сетку лампы V2 для усиления по мощности. Катушка L5 в анодной цепи этой лампы и конденсатор переменной емкости С14 (находящийся, как и конденсатор С69 транзисторного усилителя, на лицевой панели корпуса) образуют колебательный контур, настраивающий выходной каскад на рабочую частоту трансивера. Конденсатор С13, включенный в этот контур последовательно, практически не влияет на его настройку и служит лишь для защиты цепи питания анодной цепи на случай замыкания между пластинами конденсатора С14. Через катушку L6, индуктивно связанную с контурной катушкой L5, сигнал трансивера поступает в антенну и излучается ею.

Резистор R2, зашунтированный по переменному напряжению конденсатором С5 — элемент автоматического смещения лампы V1: падение напряжения на нем в отрицательной полярности подается через резистор R1 на управляющую сетку. Диод V3, выполняющий функцию однополупериодного выпрямителя переменного напряжения 6,3 В, обеспечивает лампе V2 необходимое напряжение смещения. Выпрямленное и сглаженное конденсатором С11 отрицательное напряжение через дроссель L4 и резистор R5 поступает на управляющую сетку лампы. Дроссель L4 и конденсатор С10 предотвращают «просачивание» радиочастотного сигнала в цепь выпрямителя смещения.

Теперь о деталях усилителя. Данные катушек L1, L2 и конденсаторов C1-C3 входного полосового фильтра такие же, как у подобного фильтра транзисторного усилителя. Катушка L3, помещенная в броневой сердечник типа СБ-12а, должна содержать 25 витков провода ЛЭШО 7х0,07 или ПЭШО 0,12-0,2. Для катушек L5 и L6 понадобится керамический каркас диаметром 16–18 и длиной 60–80 мм. Катушку L5, содержащую 60 витков провода ПЭВ-1 0,6, наматывай на каркас виток к витку, а катушку связи L6, состоящую из 8-10 витков такого же провода, поверх катушки L5 в средней ее части. Конденсатор переменной емкости С14 должен быть с воздушным диэлектриком. Можно, например, использовать одну секцию стандартного блока КПЕ лампового радиоприемника.

Измерительный прибор PA1 на ток 80-100 мА. Пригоден любой микроамперметр с шунтом, рассчитанным на такой ток. Питать усилитель можно от двухполупериодного выпрямителя, обеспечивающего постоянное напряжение 280–300 В при токе 100–120 мА, и переменное напряжение 6,3 В при токе не менее 1 А. Для такого блока питания подойдет сетевой трансформатор мощностью 50–60 Вт, например от выпрямителя лампового радиовещательного приемника или радиолы 2-го класса.

Налаживают ламповый усилитель мощности так же, как его транзисторный вариант: при подключенном к выводам 4 и 5 эквивалента антенны и подаче на входной вывод 2 сигнала ГСС частотой 1900 кГц и амплитудой 30–50 мВ. На сигнал этой частоты контуры полосового фильтра настраивают подстроечными сердечниками катушек L1 и L2, а анодного контура лампы V1 — сердечником катушки L3. Если контур L3C7 не удается настроить только подстроечным сердечником катушки, в него можно включить дополнительный керамический подстроечный конденсатор С16 с наибольшей емкостью 100–150 пФ, показанный на рис. 398 штриховыми линиями. Оптимальной связи усилителя с антенной добиваются подбором числа витков катушки L6.

Управление трансивером с ламповым усилителем мощности практически остается таким же, как с транзисторным усилителем. При этом верхнюю (см. рис. 391) группу контактов переключателя S1 используют для подачи напряжения + 290 В на ламповый усилитель мощности, а нижнюю для подачи напряжения +12 В на остальные блоки трансивера.

Антенна. Одной из лучших антенн любительской станции 160-метрового диапазона радиоспортсмены-коротковолновики считают симметричный полуволновый диполь два отрезка провода с изоляторами на концах (рис. 399, а), общая длина которых равна половине длины радиоволны диапазона, т. е. около 80 м (точнее: L = 0,475λ). Для сооружения такой антенны потребуются медный провод или антенный канатик диаметром 2–2,5 мм, орешковые изоляторы, три опоры, а для соединения антенны с трансивером коаксиальный кабель с волновым сопротивлением 75 Ом (таким кабелем делают вводы телевизионных антенн).

Длина каждого плеча диполя может составлять 39–40 м, но быть обязательно одинаковой для каждого плеча. К внешним концам диполя привяжи по цепочке из двух изоляторов, с помощью которых антенну будешь крепить на опорах. Внутренние концы плеч диполя и коаксиальный кабель монтируй на изоляторе, как показано на рис. 339, б.

Изолятор состоит из Т-образной пластины 1, выпиленной из листового текстолита толщиной не менее 3 мм, и текстолитового бруска 2 размерами примерно 25х15х100 мм. работающего на растяжение. Через сквозные отверстия в пластине и бруске надежно закрепи на изоляторе внутренние концы плеч диполя. К одному из них припаяй центральную жилу коаксиального кабеля 3, а к другому оплетку кабеля. Сам же кабель, в свою очередь, жестко укрепи на изоляторе.

Рис. 399. Антенна трансивера

* * *

Работая в эфире, проявляй высокую сознательность и дисциплину, тактичность и спортивную вежливость. Только соблюдение этики и правил радиоспорта сделают эту работу действительно интересной и полезной.

Более 800 000 книг и аудиокниг! 📚

Получи 2 месяца Литрес Подписки в подарок и наслаждайся неограниченным чтением

ПОЛУЧИТЬ ПОДАРОК