Беседа 18 ТВОЯ ИЗМЕРИТЕЛЬНАЯ ЛАБОРАТОРИЯ

О технической культуре современного радиолюбителя судят не только по тем приемникам или усилителям, которые он конструирует, но и по измерительной лаборатории, приборами которой он пользуется в процессе подбора деталей, при монтаже и налаживании аппаратуры.

Да, это так! Потому что без измерительных приборов невозможно добиться хорошей и длительной бесперебойной работы радиотехнического устройства. В этом, надеюсь, ты уже убедился на собственном опыте и неоднократно будешь убеждаться в будущем.

Основа такой лаборатории была тобой уже заложена (см. восьмую беседу). Но ее приборы были в основном лишь пробниками. Только миллиампервольтомметр позволял производить необходимые измерения, без чего вообще нельзя заставить работать даже сравнительно несложный приемник, усилитель, электронный автомат. У тебя не было приборов для измерения емкости конденсаторов, малых и больших сопротивлений резисторов, генератора колебаний звуковой частоты для налаживания и оценки качества работы усилителей при воспроизведении грамзаписи, вольтметра постоянного тока, которым можно было бы измерять напряжения на базах транзисторов.

Вот о пополнении твоей измерительной лаборатории подобными приборами и пойдет разговор в этой беседе.

МОСТОВОЙ ИЗМЕРИТЕЛЬ

Этот прибор позволит с достаточной для тебя точностью измерять сопротивления резисторов (R), емкости конденсаторов (С) и индуктивности катушек (L), наиболее часто применяемых в колебательных контурах, высокочастотных дросселей. Его основой служит измерительный мост, в одну из диагоналей которого включают источник тока, а в другую - индикатор тока, по которому оценивают электрические параметры этих радиодеталей.

Схему такого моста для измерения сопротивлений ты видишь на рис. 281, а. Измерительный мост состоит из четырех резисторов, образующих его четыре плеча: Rx - резистор, сопротивление которого измеряем; Rэ - эталонный, т. е. образцовый резистор, сопротивление которого известно; R1 и R2 — резисторы, сопротивления которых подбирают при измерении. Индикатором может быть микроамперметр с нулевой отметкой в середине шкалы. Когда отношение сопротивлений резисторов Rx и Rэ равно отношению сопротивлений резисторов R1 и R2, через индикатор ток не идет, и его стрелка находится против нулевой отметки шкалы. При этом говорят, что измерительный мост сбалансирован, т. е. электрически уравновешен. Но стоит изменить сопротивление одного из плеч моста, заменив, например, резистор Rx резистором другого номинала, как произойдет перераспределение токов в плечах моста и он окажется разбалансированным — стрелка индикатора отклонится в одну или иную сторону от нулевой отметки на шкале в зависимости от нового соотношения сопротивлений плеч моста. Чтобы мост снова сбалансировать, надо соответственно изменить сопротивления одного из трех других плеч.

Рис. 281. Мосты для измерения сопротивлений (а, б) и емкостей (в)

Поскольку сопротивления образцового Rэ и подбираемых резисторов R1 и R2 известны, сопротивление проверяемого резистора Rx нетрудно подсчитать по такой формуле: Rх = RэR1/R2.

Допустим, что Rx = 10 кОм, R1 = 2 кОм, a R2 = 1 кОм. В этом случае сопротивление измеряемого резистора Rx будет: Rx = 10·2/1 = 20 кОм.

Резисторы R1 и R2 можно заменить одним переменным резистором, как это показано на рис. 281, б. Здесь соотношение сопротивлений плеч моста, а значит, и его балансировка достигаются перемещением движка переменного резистора. А если против ручки этого резистора будет заранее размеченная шкала, отпадет необходимость в расчете сопротивления измеряемого резистора Rx. Переменный резистор в этом случае называют реохордом, а измерительный мост — реохордным мостом.

Рассмотрим рис. 281, в, на котором изображена схема такого же моста, но предназначенного для измерения емкостей конденсаторов. Здесь Сэ — образцовый конденсатор; Сх — измеряемый конденсатор, а переменный резистор (R1 + R2) — реохорд, которым балансируют мост. Источником питания моста служит генератор переменного тока G, обозначенный на схеме знаком синусоиды в кружке. На этот ток должен реагировать и индикатор моста. Емкости конденсаторов измеряют так же, как и сопротивления резисторов — путем балансировки моста и определения емкости по шкале реохорда.

Такой мост можно использовать и для измерения индуктивностей катушек колебательных контуров или дросселей высокой частоты, если в нем образцовый конденсатор заменить образцовой катушкой Lэ, а вместо конденсатора Сх включить в мост измеряемую катушку индуктивности Lx.

Как видишь, принцип измерения сопротивлений, емкостей и индуктивностей деталей одинаков. Разница лишь в источнике питания и индикаторе моста.

А нельзя ли, спросишь ты, при любых измерениях питать мост переменным током. Можно! Например, переменным током звуковой частоты. В этом случае роль индикатора могут выполнять головные телефоны: баланс моста фиксируют по наименьшему звуку или пропаданию его. Такой прибор я и предлагаю для твоей лаборатории.

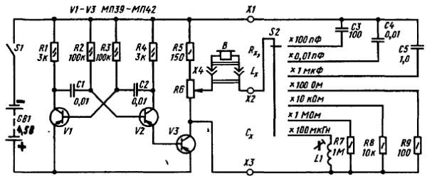
Принципиальная схема измерителя RCL показана на рис. 282.

Рис. 282. Схема измерителя RCL

Транзисторы V1, V2 и относящиеся к ним резисторы R1-R4 и конденсаторы C1, С2 образуют знакомый тебе симметричный мультивибратор-генератор. Транзистор V3 является усилителем мощности, а его нагрузочный резистор R6 — реохордом измерительного моста, питающегося переменным током генератора. Резистор R5 ограничивает ток коллекторной цепи транзистора V3, возрастающий при измерении индуктивностей, и тем самым предотвращает тепловой пробой этого транзистора.

Конденсаторы С3-С5, резисторы R7-R9 и катушка L1 — образцовые элементы моста, от точности номиналов которых зависит точность производимых измерений. Резисторы Rx и катушки Lx, электрические параметры которых надо измерить, подключают к зажимам X1-Х2, а измеряемые конденсаторы Сх - к зажимам Х2 Х3. Головные телефоны В, являющиеся индикатором балансировки измерительного моста, подключают к разъему Х4.

Советую ту часть схемы, которая относится к измерительному мосту прибора, начертить в таком же виде, как на рис. 281, а. Это поможет подробнее разобраться в плечах моста и его работе в целом.

В приборе несколько образцовых конденсаторов и резисторов. Так сделано для того, чтобы расширить пределы измерений, что достигается включением в мост образцовых конденсаторов и резисторов, номиналы которых различаются в число раз, кратное 10. Показанное на схеме положение переключателя S2, когда в мост включен образцовый конденсатор С3 (100 пФ), соответствует поддиапазону измерения емкостей конденсаторов примерно от 10 до 1000 пФ. Во втором положении переключателя (включен конденсатор С4) можно измерить емкости конденсаторов от 1000 пФ до 0,1 мкФ, в третьем (включен конденсатор С5) — от 0,1 до 10 мкФ.

Аналогично обстоит дело и при измерении сопротивлений резисторов: включение в мост образцового резистора R9 (100 Ом) соответствует поддиапазону измерения сопротивлений от 10 Ом до 1 кОм, включение резистора R8 (10 кОм) поддиапазону измерений от 1 до 100 кОм, резистора R7 (1 МОм) — поддиапазону от 100 кОм до 10 МОм.

С помощью только одного образцового конденсатора и одного образцового резистора перекрыть такой широкий диапазон измеряемых емкостей и сопротивлений невозможно.

Диапазон измерения индуктивностей катушек контуров и дросселей высокой частоты один — примерно от 10 до 1000 мкГн. Это тебя вполне устроит, так как индуктивность подавляющего большинства таких радиодеталей не превышает 1000 мкГн.

О чем говорят обозначения «х100 пФ», «х0,01 мкФ», «х1 мкФ» и т. д., сделанные возле контактов переключателя вида измерений S2. Это коэффициенты, на которые надо умножить численные значения делений шкалы реохорда R6 измерительного моста. Шкала прибора (рис. 283) — общая для любых измерений. Ее деления обозначены цифрами от 0,1 до 10. И чтобы узнать, какова емкость или сопротивление детали, надо численное значение деления шкалы реохорда умножить на коэффициент, соответствующий положению переключателя мосла.

Рис. 283. Шкала измерителя RCL

Например, при измерении сопротивления резистора мост твоего прибора оказался сбалансированным при положении переключателя S2 на отметке «х100 Ом», а указатель ручки реохорда против деления 2,2 шкалы. Умножив 2,2 на 100 Ом, ты узнаешь сопротивление измеряемого резистора: 220 Ом.

Номиналы конденсаторов и резисторов, кроме сопротивления реохорда R6, указаны на принципиальной схеме прибора. В качестве реорхорда используй проволочный переменный резистор, сопротивление которого может быть от 300–400 Ом до 8- 10 кОм. В крайнем случае, если не окажется проволочного, можно поставить мастичный переменный резистор, например типа СП, но обязательно группы А, т. е. резистор, у которого сопротивление между движком и любым из крайних выводов изменяется пропорционально углу поворота оси. Переключатель поддиапазонов измерений одноплатный, на семь положений. Телефоны высокоомные; с низкоомными телефонами прибор будет обладать существенно меньшей чувствительностью и не позволит проводить измерения на поддиапазонах «х100 пФ» и «х1 МОм».

Катушка L1 — индуктивностью 100 мкГн. Для нее можешь использовать унифицированный или подобный ему самодельный каркас с ферритовыми кольцами и подстроечным сердечником, намотав на каркас 65–70 витков провода ПЭВ-1 0,15-0,2. Окончательно индуктивность катушки подгоняй с помощью подстроечного сердечника по заводскому прибору.

Конструкция прибора может быть двухпанельной, как показано на рис. 284.

Рис. 284. Конструкция прибора

Верхняя панель, на которой находятся зажимы типа «крокодил» для подключения измеряемых деталей, разъем Х4 телефонов, переключатель видов измерений, реохорд со шкалой моста и выключатель питания, является лицевой панелью футляра прибора. Остальные детали смонтированы на второй, внутренней, несколько меньшей панели, удерживающейся на стойках переключателя. На оси реохорда и переключателя насажены ручки с клювиками указателями. Для питания прибора использованы три элемента 332, которые соединены последовательно контактными пластинами из листовой меди.

Образцовые резисторы R7 R9 и конденсаторы С3-С5, прежде чем их вмонтировать, надо обязательно проверить по точному измерительному прибору. Точность их номиналов должна быть возможно более высокой, во всяком случае не хуже 5 %. Измерь номиналы нескольких резисторов и конденсаторов для каждого поддиапазона и отбери те из них, которые имеют наименьшие отклонения от номиналов.

Генератор прибора никакой наладки не требует. А чтобы убедиться, работает ли он, достаточно подключить к его выходу, например, параллельно реохорду, телефоны — в них услышишь звук средней тональности. Генератор может не работать только из-за ошибок в монтаже или негодности каких-то деталей.

Единственно, что тебе, возможно, придется сделать это подобрать желаемый тон звука путем подбора емкости конденсаторов С1 и С2 мультивибратора. А вот с градуировкой шкалы тебе придется повозиться порядочно ведь от того, насколько точно ты ее разметишь, зависят и результаты будущих измерения.

Шкала реохорда общая для всех видов измерений. Значит, градуировать (размечать) ее можно только для одного поддиапазона измерений. Делать это целесообразнее для поддиапазона сопротивлений 10 Ом — 1 кОм или 1-100 кОм.

И вот почему: во-первых, резисторы таких сопротивлений наиболее ходовые, а во-вторых, к резисторам вообще при конструировании аппаратуры предъявляются более жесткие требования, чем к подавляющему большинству конденсаторов той же аппаратуры.

Хорошо, если для градуировки шкалы ты используешь так называемый магазин сопротивлении — набор эталонных резисторов, изготовленных из высокоомной проволоки. Он, возможно, есть и в физическом кабинете твоей школы. Но можно воспользоваться и набором резисторов соответствующего номинала, но обязательно с допуском отклонений от их номиналов не более 5 %.

Делай это так. Сначала, установив переключатель S2 на выбранный поддиапазон измерений, подключи зажимам Rx резистор такого же номинала, как и образцовый резистор этого поддиапазона. Для поддиапазона 1-100 кОм это резистор сопротивлением 10 кОм (R8), а для поддиапазона 10 Ом — 1 кОм — 100 Ом (R9). Поворачивая ручку реохорда в обе стороны, добейся минимального звука в телефонах и против «носика» ручки сделай отметку на дуге будущей шкалы. Это отметка множителя «х1,0», соответствующая для нашего примера сопротивлению 10 кОм (1,0х10 кОм = 10 кОм). Она должна находиться в середине дуги шкалы и делить ее на две равные части.

После этого подключай к зажимам Rх другие резисторы убывающих или, наоборот, увеличивающихся номиналов и делай на шкале соответствующие отметки. В конечном итоге у тебя получится примерно такая же шкала, как изображенная на рис. 283.

ТРАНЗИСТОРНЫЙ ВОЛЬТМЕТР ПОСТОЯННОГО ТОКА

В описаниях конструкций, публикуемых в радиотехнической литературе, обычно указывают относительное входное сопротивление вольтметра постоянного тока, которым измерены напряжения в цепях конструкции. Делал это и я, рассказывая о рекомендуемых усилителях, приемниках. Случайно ли это? Нет! Потому что напряжения в цепях конструкции, измеренные вольтметром с другим входным сопротивлением, могут быть иными. Объясняется это тем, что вольтметр своим входным (внутренним) сопротивлением шунтирует измеряемую цепь и тем самым изменяет ток и напряжение в ней. Чем меньше его входное сопротивление, тем он сильнее шунтирует измеряемый участок цепи, тем больше погрешность в результатах измерения.

Относительное входное сопротивление вольтметра постоянного тока комбинированного прибора, о котором я рассказал в восьмой беседе, 10 кОм/В. Оно достаточно высокое и во многих случаях вносит незначительные погрешности в измерения. Подчеркиваю, во многих, но не во всех. В тех же случаях, когда измеряемая цепь высокоомная, погрешность измерения становится ощутимой. Таким вольтметром уже нельзя достаточно точно измерить, например, напряжение непосредственно на базе или на коллекторе транзистора, если нагрузочный резистор в его цепи обладает большим сопротивлением. И совсем нельзя измерить напряжение смещения на затворе полевого транзистора, входное сопротивление которого во много раз больше входного сопротивления вольтметра.

А если в комбинированном измерительном приборе будет использован микроамперметр на больший ток Iи, чем 100 мкА? Например, на ток 500 мкА?

В этом случае относительное входное сопротивление вольтметра уменьшится до 2 кОм/В. Измерять им напряжения в цепях твоих конструкций еще можно, но погрешности измерений будут больше. И наоборот, относительное входное сопротивление можно увеличить вдвое, до 20 кОм/В, если для него использовать микроамперметр на ток 50 мкА. Но такой микроамперметр, да еще с большой шкалой, тебе, вероятно, не удастся достать.

Есть, однако, другой путь значительного увеличения входного сопротивления вольтметра — введение в него транзисторов. В связи с этим предлагаю опыт, который поможет тебе разобраться в принципе работы такого прибора.

Принципиальная схема опытного вольтметра изображена на рис. 285.

Рис. 285. Опытный вольтметр

Это как и в измерителе RCL, измерительный мост, в диагональ которого включен микроамперметр РА. Плечи моста образуют, участок эмиттер-коллектор транзистора V, резистор R1 и участки а и б переменного резистора R2. Мост питает элемент G напряжением 1,5 В (332, 316). Измеряемое постоянное напряжение подается на эмиттерный переход транзистора через входные гнезда X1 и Х2 и добавочный резистор Rд, гасящий избыточное измеряемое напряжение. Микроамперметр РА, являющийся индикатором баланса моста, может быть на ток 300–500 мкА и даже больше. Транзистор — с коэффициентом h21Э = 50–60. Сопротивление добавочного резистора Rд зависит от используемого микроамперметра и определяет в основном входное сопротивление вольтметра. Оно должно быть не менее 30–50 кОм.

Движок резистора R2 установи в верхнее (по схеме) положение. Затем замкни накоротко входные гнезда X1 и Х2, включи питание и резистором R2, медленно вращая его ось, установи стрелку микроамперметра на нулевую отметку шкалы. Через 3–5 мин, необходимых для прогрева транзистора, повтори корректировку нуля вольтметра. После этого разомкни входные зажимы, подай на них постоянное напряжение 1 В, например часть напряжения одного элемента 332 (через делитель напряжения), и подбором добавочного резистора Rд добейся отклонения стрелки индикатора до конечной отметки шкалы. Это будет соответствовать 1 В измеряемого напряжения.

Каково входное сопротивление такого вольтметра? Во много раз (примерно в численное значение коэффициента h21Э используемого транзистора) больше входного сопротивления вольтметра комбинированного прибора.

Каков принцип действия такого вольтметра? Его транзистор выполняет функцию усилителя тока и, кроме того, является элементом измерительного моста постоянного тока. Перед измерением мост был сбалансирован — движок резистора установлен в положение, при котором напряжение на микроамперметре и ток через него равны нулю. Но вот на входные гнезда вольтметра, а значит, и на эмиттерный переход транзистора ты, соблюдая полярность, подал измеряемое постоянное напряжение. Коллекторный ток от этого увеличивается, сопротивление участка эмиттер коллектор уменьшается, в результате чего баланс моста нарушается, и через микроамперметр течет ток, пропорциональный напряжению, поданному на вход вольтметра.

Таким прибором, а он, разумеется, может быть многопредельным, уже можно пользоваться как высокоомным вольтметром. Однако его все же надо рассматривать как опытный измеритель напряжения.

Для твоей измерительной лаборатории рекомендую построить транзисторный вольтметр по схеме, показанной на рис. 286, а. Он пятипредельный и рассчитан для измерений в цепях транзисторной аппаратуры, где напряжения в большинстве случаев не превышают 20–30 В. Плечи измерительного моста такого прибора образуют участки эмиттер-коллектор транзисторов V1 и V2, резистор R9 с верхней (по схеме) от движка частью подстроечного резистора R10 и резистор R11 с нижней частью резистора R10. В одну диагональ моста (между эмиттерами транзисторов) включен микроамперметр PA1, в другую (между коллекторами транзисторов и движком подстроечного резистора R10) — источник питания G1. Чтобы шкала вольтметра была равномерной, на базы транзисторов через резисторы R6-R8 подаются отрицательные напряжения смещения, открывающие оба транзистора.

Рис. 286. Транзисторный вольтметр постоянного тока

Измерительный мост балансируют, резистором R10 (при замкнутых между собой базах транзисторов), уравнивая им коллекторные токи транзисторов, и резистором R7, устанавливая им соответствующие токи баз, несколько различающиеся между собой из-за неидентичности параметров транзисторов.

Измеряемое напряжение подается на базы транзисторов через один из добавочных резисторов R1-R5. При этом транзистор V1, база которого оказывается под отрицательным напряжением, еще больше открывается, а транзистор V2, база которого оказывается под положительным напряжением, наоборот, закрывается. В результате сопротивление участка эмиттер-коллектор транзистора V1 уменьшается, транзистора V2 — увеличивается, отчего баланс моста нарушается и через микроамперметр РА1 течет ток, пропорциональный измеряемому напряжению.

Для вольтметра подбери транзисторы с коэффициентом передачи тока h21Э около 50 и по возможности с малыми, а главное, близкими по значению обратными токами IКБО. Чем меньше эти токи и разница между ними, тем стабильнее будет работать прибор.

Конструкция вольтметра может быть такой, как на рис. 286, б. Микроамперметр, включатель питания S1, элемент G1 (332), подстроечный резистор R10 и входные гнезда X1-Х6 установлены на гетинаксовой панели, размеры которой определяются в основном габаритами микроамперметра (в вольтметре по рис. 286, б использован микроамперметр М592). Остальные детали смонтированы на другой гетинаксовой панели, которая закреплена непосредственно на зажимах микроамперметра. Опорными монтажными точками этих деталей могут быть пустотелые заклепки или отрезки облуженного медного провода толщиной 1–1,5 мм, запрессованные в отверстия в панели. Для соединения микроамперметра с деталями прибора под гайки, навинченные на его шпильки-зажимы, подложены монтажные лепестки.

Роль подстроечных резисторов R7 и R10 могут выполнять переменные резисторы таких же или близких номиналов. Сопротивления резисторов R6 и R8 могут быть от 15 до 30 кОм, резисторов R9 и R11 — от 220 до 510 Ом.

Закончив монтаж вольтметра, сверь его с принципиальной схемой — нет ли ошибок? Движки подстроечных резисторов поставь в среднее положение относительно крайних выводов. Включи питание — стрелка микроамперметра тут же отклонится от нуля, быть может, даже в противоположную сторону. Медленно вращая ось резистора R7, установи стрелку на нулевую отметку шкалы. Затем проволочной перемычкой соедини временно между собой базы транзисторов и дополнительно сбалансируй мост резистором R10. И так несколько раз, пока стрелка микроамперметра перестанет реагировать на соединение баз транзисторов.

После этого приступай к подгонке добавочных резисторов пределов измерений. Делай это точно так же, как при налаживании вольтметра комбинированного измерительного прибора.

На схеме вольтметра сопротивления добавочных резисторов R1-R5 указаны применительно к микроамперметру на ток Iи = 200 мкА и транзисторам со статическим коэффициентом передачи тока около 50. Для микроамперметра и транзисторов с другими параметрами сопротивления добавочных резисторов будут иными. В таком случае целесообразно сначала подобрать добавочный резистор R2 предела измерений 1 В, а затем по нему рассчитать сопротивления остальных добавочных резисторов. Так, например, если сопротивление добавочного резистора этого предела оказалось 50 кОм (примерно соответствует микроамперметру на ток Iи = 400 мкА), то для предела 3 В добавочный резистор R3 должен быть сопротивлением около 150 кОм, для предела 0,3 В — около 15 кОм. Окончательно подбирай резисторы опытном путем, контролируя образцовым прибором напряжения, подаваемые на вход вольтметра.

Можно ли выбрать иные пределы измерений? Конечно, и продиктовать их может оцифрованная шкала микроамперметра. Так, например, если микроамперметр на ток Iи = 500 мкА, пределы измерений могут быть 0,5; 1; 5; 10 и 50 В или 0,5; 2,5; 10 и 50 В.

Пользуясь транзисторным вольтметром, помни: начинать измерения надо спустя 5–6 мин после включения питания. За это время стабилизируется тепловой режим работы транзисторов и стрелка прибора устанавливается на нулевую отметку шкалы. Время от времени надо подстроечным резистором R10 корректировать нуль вольтметра.

Как часто придется заменять элемент питания свежим? Ток, потребляемый вольтметром, не превышает 3–5 мА. Это значит, что элемент работает почти вхолостую и может служить не менее года.

ЧАСТОТОМЕР

Радиолюбителю приходится иметь дело и с измерением частоты переменных и пульсирующих токов. Частотомер может быть весьма полезным прибором, например при градуировке шкалы измерительного генератора, при настройке электромузыкальных инструментов, аппаратуры телеуправления моделями. Поэтому такой прибор желательно иметь в твоей измерительной лаборатории.

Радиолюбители обычно пользуются конденсаторными частотомерами. Так эти приборы называют потому, что их действие основано на измерении среднего значения тока зарядки или разрядки образцового конденсатора, перезаряжаемого от источника напряжения переменного или пульсирующего тока.

Чтобы разобраться в этом вопросе, проведи такой опыт. Соедини по схеме на рис. 287 батарею 3336Л (GB), бумажный образцовый конденсатор Собр емкостью 0,5–1 мкФ, микроамперметр РА на ток 100–300 мкА, например микроамперметр комбинированного измерительного прибора или транзисторного вольтметра и кнопочный переключатель S типа КМ1-1. Последовательно с микроамперметром включи ограничительный резистор Roгp, сопротивление которого рассчитай по формуле Roгp = Uб/Iи, где Uб — наибольшее напряжений батареи, используемой для опыта; Iи - ток полного отклонения стрелки микроамперметра.

Рис. 287. Опыт, иллюстрирующий принцип работы конденсаторного частотомера

Кнопочный переключатель S подключи так, чтобы его контакты находились в положении, показанном на схеме. При этом конденсатор мгновенно зарядится до напряжения батареи. Нажми кнопку, чтобы заряженный конденсатор переключить на микроамперметр. Стрелка прибора отклонится вправо, фиксируя ток разрядки конденсатора и тут же вернется на нулевую отметку. Постарайся ритмично и возможно чаще нажимать и отпускать кнопку переключателя. С такой же частотой конденсатор будет заряжаться от батареи и разряжаться через прибор. Чем больше частота этих переключений, тем меньше будет колебаться стрелка прибора, показывая среднее значение тока через него (на графике в нижней части рис. 287 среднее значение тока Iср). При том же образцовом конденсаторе с повышением частоты переключений прибор будет фиксировать все возрастающий ток. Таким образом, по отклонению стрелки можно судить о частоте импульсов тока, подаваемых на прибор.

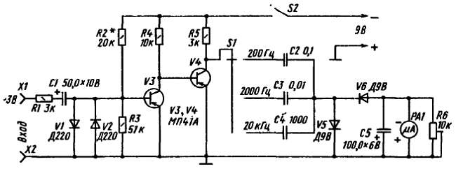
Принципиальная схема частотомера, который я предлагаю для твоей измерительной лаборатории, приведена на рис. 288.

Рис. 288. Принципиальная схема частотомера

В приборе два транзистора с непосредственной связью, которые работают в режиме переключения. Конденсаторы С2-С4 образцовые. С конденсатором С2 прибором можно измерять частоту переменного или пульсирующего тока, подаваемого на входные гнезда X1 и Х2, примерно от 20 до 200 Гц, с конденсатором С3 — от 200 до 2000 Гц и с конденсатором С4 — от 2 до 20 кГц. Таким образом, весь диапазон частот, измеряемый прибором, составляет 20 Гц-20 кГц, т. е. перекрывает весь диапазон звуковых колебаний. Наименьшее измеряемое напряжение 0,2–0,25 В, наибольшее — 3 В.

В исходном состоянии транзистор V3 закрыт, так как на его базу подается недостаточное для его открывания напряжение, а транзистор V4, естественно, открыт отрицательным напряжением, подаваемым на его базу с коллектора транзистора V3. В это время левая (по схеме) обкладка образцового конденсатора С2 соединена через контакты переключателя S1 и малое сопротивление открытого транзистора V4 с общим заземленным проводником цепи питания; ток через микроамперметр РА1 не идет.

При первом же отрицательном полупериоде переменного напряжения, поданного на вход частотомера, транзистор V3 открывается, а транзистор V4, наоборот, закрывается. В это время образцовый конденсатор мгновенно заряжается через микроамперметр РА1 и шунтирующий его резистор R6, диод V6 и резистор R5 до напряжения источника питания. Одновременно заряжается и накопительный конденсатор С5. При положительном полупериоде измеряемого напряжения транзистор V3 закрывается, а транзистор V4 открывается. Теперь образцовый конденсатор разряжается через малое сопротивление открытого транзистора V4 и диод V5. Конденсатор С5 разряжается через микроамперметр, поддерживая ток, текущий через него при зарядке образцового конденсатора.

Следующий отрицательный полупериод снова открывает транзистор V3 и закрывает транзистор V4, а положительный полупериод переключает их в исходное состояние. И так при каждом периоде измеряемого переменного напряжения. При этом транзистор V4, закрываясь и открываясь, по отношению к образцовому конденсатору выполняет функцию электронного переключателя. В результате через микроамперметр течет средний ток зарядки образцового конденсатора, пропорциональный частоте измеряемого переменного напряжения.

Подстроечным резистором R6 устанавливают верхнюю границу частоты поддиапазона.

Какова роль диодов V1 и V2, шунтирующих резистор R3 и эмиттерный переход транзистора V3? Они ограничивают напряжение, подаваемое на эмиттерный переход транзистора V3, и тем самым предотвращают его тепловой пробой. Эти диоды кремниевые. А кремниевые диоды, как тебе известно, открываются при прямом напряжении 0,6–0,7 В. Пока входной сигнал не превышает это напряжение, диоды закрыты и практически никакого влияния на работу транзистора не оказывают. Когда же входное напряжение становится больше 0,6–0,7 В, диоды открываются (V1 — при положительных, a V2 — при отрицательных полупериодах) и поддерживают на базе транзистора напряжение, не превышающее 0,7–0,8 В.

Резистор R1 на входе частотомера предотвращает протекание через диоды V1 и V2 опасных для них больших токов.

Питать частотомер можно от двух батарей 3336Л или, что лучше, стабилизированным напряжением сетевого блока питания.

Транзисторы должны быть со статическим коэффициентом передачи тока h21Э не менее 60–80 и с возможно малым обратным током коллекторного перехода IКБО. Если среди имеющихся низкочастотных не окажется транзисторов с такими параметрами, то используй для частотомера маломощные высокочастотные р-n-р транзисторы, например, серий ГТ308, П401, П416. Диоды V1 и V2 должны быть кремниевыми, например серий Д101, Д102, Д104 (кроме Д220), а диоды V5 и V6 — любые из серии Д9 или Д2. Электролитические конденсаторы С1 и С5 типа К50-3, К50-6 или К52-1. Подстроечный резистор R6 может быть любого типа. Микроамперметр на ток полного отклонения стрелки 50 или 100 мкА. Переключатель S1 — одноплатный галетного типа, S2 — тумблер или П2К.

Шкала измерителя частотомера линейная, общая для всех трех поддиапазонов. Поэтому емкости образцовых конденсаторов С2-С4 должны быть возможно более точными — от этого зависит точность производимых измерений. Отобрать необходимые конденсаторы можно с помощью измерителя RCL.

Предварительно частотомер смонтируй и испытай на макетной панели. Из образцовых конденсаторов включи пока без переключателя S1 только конденсатор С2. Проверь полярность включения всех электролитических конденсаторов, диодов и микроамперметра. Затем движок подстроечного резистора R6 установи в крайнее нижнее (по схеме) положение, а резистор R1 временно замени цепочкой из последовательно соединенных переменного резистора сопротивлением 30–40 кОм и постоянного сопротивлением 4–5 кОм. Включи питание и на вход частотомера подай переменное напряжение электроосветительной сети, пониженное трансформатором до нескольких вольт. Можно, например, как показано на ряс. 289, а, использовать вторичную обмотку сетевого трансформатора блока питания, подключив к ней потенциометром регулировочный переменный резистор Rр и с его помощью регулировать напряжение, подаваемое на вход частотомера.

Рис. 289. Схема проверки и градуировки шкалы частотомера

Подбором сопротивления временной цепочки резисторов нужно добиться устойчивого отклонения стрелки микроамперметра при минимальном напряжении (0,3 В) на входе частотомера.

После этого на вход частотомера подай от того же регулировочного резистора переменное напряжение, выпрямленное двухполупериодным выпрямител ем (рис. 289, б). В этом случае частота пульсаций напряжения на входе частотомера будет 100 Гц, т. е. соответствует удвоенной частоте переменного напряжения сети. Теперь стрелка микроамперметра должна отклониться на больший угол, чем при частоте напряжения 50 Гц. Движок подстроечного резистора R5 установи в такое положение, при котором стрелка микроамперметра окажется немного левее середины шкалы. Отметка, сделанная на шкале, будет соответствовать частоте 100 Гц, а вся шкала — частоте 200 Гц.

Затем еще раз подай на вход частотомера переменное напряжение с регулировочного резистора и отметь на дуге шкалы микроамперметра положение ее стрелки. Оно будет соответствовать частоте 50 Гц. Таким образом, у тебя получатся две исходные отметки, не считая нулевой и конечной, по которым можно проградуировать шкалу поддиапазона 20-200 Гц. Она же будет и шкалой двух других поддиапазонов. Надо только при включении образцового конденсатора С3 (0,01 мкФ) результат измерения умножать на 10, а при включении образцового конденсатора С4 (1000 пФ) — на 100. Чтобы знать, на каком поддиапазоне включен частотомер, возле ручки переключателя S1 сделай пометки «х1», «х10» и «х100».

Конструкция частотомера зависит от габаритов и того положения микроамперметра (горизонтального или вертикального), при котором он должен работать, а в принципе может быть такой, как у транзисторного вольтметра постоянного тока. На лицевой панели будут микроамперметр, входные гнезда, переключатель поддиапазонов и выключатель питания. Остальные детали можно смонтировать на плате небольших размеров и укрепить ее на зажимах микроамперметра.

Уточнить градуировку шкалы, особенно верхнюю границу частоты (200 Гц), можно по сигналам генератора колебаний звуковой частоты.

ИЗМЕРИТЕЛЬНЫЕ ГЕНЕРАТОРЫ СИГНАЛОВ ЗВУКОВОЙ ЧАСТОТЫ

Мультивибратор, который в восьмой беседе я рекомендовал использовать в качестве источника сигналов, генерирует колебания, близкие по форме к прямоугольным, и множество гармоник. Он хорош лишь как пробник и совсем непригоден для налаживания усилителей 3Ч, аппаратуры телеуправления моделями, многих электронных автоматов, для которых выходной сигнал измерительных генераторов должен быть синусоидальным.

Расскажу о двух генераторах: на одну фиксированную частоту 1000 Гц и с плавным изменением частоты выходного сигнала примерно от 200 до 3000 Гц. Первый из них проще, второй сложнее. Но чтобы сигналы генераторов были синусоидальной формы, для настройки их потребуется электронно-лучевой осциллограф.

Схему измерительного генератора на одну фиксированную частоту ты видишь на рис. 290.

Рис. 290. Схема генератора фиксированной частоты

Сам генератор прибора представляет собой обычный однокаскадный усилитель на транзисторе V1, охваченный положительной обратной связью. Напряжение положительной обратной связи с нагрузочного резистора R5 подается на базу транзистора V1 через трехзвенную фазосдвигающую цепочку, состоящую из конденсаторов С1-С3, резисторов R1-R4 и входного сопротивления транзистора. В результате усилитель возбуждается и генерирует электрические колебания, частота которых определяется данными деталей фазосдвигающей цепочки. Такие измерительные генераторы называют генераторами типа RC.

Напряжение смещения, обеспечивающее транзистору режим генерации, подается на его базу с делителя R3, R4. Подбором резистора R3, входящего в этот делитель напряжения, добиваются синусоидальной формы выходного напряжения генератора.

С резистора R5 сигнал генератора поступает на вход второго каскада, транзистор V2 которого включен эмиттерным повторителем, а с движка его нагрузочного резистора R7 — через конденсатор С5 на вход проверяемого или налаживаемого усилителя 3Ч. Переменным резистором R7 напряжение выходного сигнала генератора можно плавно регулировать от нуля до 2,5–3 В.

В принципе второго каскада может не быть. Нагрузочный резистор можно заменить переменным резистором такого же номинала и с его движка снимать сигнал генератора. Но тогда в зависимости от входного сопротивления налаживаемого усилителя, которое будет шунтировать сравнительно высокоомный выход генератора, напряжение и частота сигнала генератора будут несколько изменяться. Эмиттерный повторитель с его низкоомным выходом исключает эти нежелательные изменения.

Конструкция генератора произвольная. Важно лишь, чтобы она была не громоздкой, и удобной в работе. Желательно, чтобы заземленный проводник выхода генератора был с зажимом типа «крокодил». Питать генератор можно от любой батареи с напряжением 9 В или сетевого блока питания. Потребляемый ток не превышает 5 мА.

Если детали предварительно проверены и нет ошибок в монтаже, все налаживание генератора заключается лишь в подборе оптимальных сопротивлений резисторов R3 и R6. Чтобы убедиться в работоспособности генератора, подключи высокоомные головные телефоны параллельно резистору R5. B телефонах услышишь звук средней тональности. После этого телефоны подключи к выходу генератора. Теперь громкость звука в телефонах должна изменяться при вращении ручки переменного резистора R7, а его тональность оставаться неизменной.

Затем сигнал с выхода генератора подай на вход «Y» усилителя вертикального отклонения луча осциллографа. Регуляторы усиления и частоты развертки осциллографа установи в такие положения, чтобы на экране хорошо просматривались два-три колебания генератора. После этого подбором сопротивления резистора R3 добивайся синусоидальной формы колебаний, а подбором сопротивления резистора R6 устраняй односторонние ограничения амплитуды сигнала. На это время резисторы R3 и R6 целесообразно заменить переменными, с их помощью добиться неискаженной формы сигнала, затем заменить их постоянными резисторами соответствующих номиналов и еще раз по изображению на экране трубки осциллографа проверить форму сигнала генератора.

Почему частота генератора выбрана 1000 Гц? Потому что это одна из основных измерительных частот, используемых для проверки качества работы усилителей 3Ч.

Не исключено, что частота колебаний смонтированного генератора будет несколько отличаться от 1000 Гц, что можно проверить по частотомеру. Но это не должно тебя волновать, потому что, во-первых, это вполне допустимо для любительской аппаратуры, а во-вторых, в твоей измерительной лаборатории должен быть еще и генератор с плавным изменением частоты.

Схема измерительного генератора с плавным изменением частоты выходного сигнала показана на рис. 291.

Рис. 291. Схема генератора с плавным изменением частоты

Он представляет собой двухкаскадный усилитель на р-n-р транзисторах, охваченный двумя цепями обратной связи: положительной, благодаря которой усилитель становится генератором электрических колебаний, и отрицательной, улучшающей форму генерируемых колебаний. Транзисторы V1 и V2 первого каскада включены по схеме составного транзистора, что повышает усиление и входное сопротивление каскада, а транзистор V3 второго каскада — по схеме ОЭ. Непосредственная связь между транзисторами улучшает работу генератора на наиболее низких частотах генерируемых колебаний.

Цепь положительной обратной связи состоит из последовательной и параллельной RC-ячеек. В последовательную ячейку входят конденсатор С1 и резисторы R1, R2, а в параллельную — конденсатор С2 и резисторы R3, R4. Эти RC-ячейки образуют два плеча делителя переменного напряжения, снимаемого с нагрузочного резистора R8 транзистора V3 второго (выходного) каскада и поступающего в цепь базы составного транзистора V1V2 первого каскада.

Напряжение отрицательной обратной связи, благодаря которой выходной сигнал генератора приобретает форму синусоиды, снимается с нагрузочного резистора R8 второго каскада и через конденсатор С4, развязывающий резистор R10 и движок подстроечного резистора R7 подается в эмиттерную цепь транзистора первого каскада.

Частоту колебаний генератора плавно регулируют сдвоенным блоком переменных резисторов R2 и R3, входящих в плечи делителя выходного напряжения. Резисторы R5 и R4 образуют делитель напряжения источника питания, с которого на базу составного транзистора V1V2 снимается напряжение смещения, а резистор R7 термостабилизирует режим его работы. Напряжение смещения на базу транзистора V3 снимается непосредственно с коллектора составного транзистора. Электролитический конденсатор С3 большой емкости, шунтирующий резистор R9 в эмиттерной цепи транзистора V3, улучшает условия самовозбуждения генератора на низших частотах.

С нагрузочного резистора R8 выходного каскада напряжение генератора через конденсатор С4 подается на переменный резистор R11, а с его движка — на гнезда X1, Х4 с делителем напряжения (так называемым аттенюатором), составленным из резисторов R13-R15, включенных между собой последовательно. Сопротивлении резисторов этого делителя, указанные на схеме, подобраны с таким расчетом, чтобы напряжение на гнезде Х2 составляло 1/10, а на гнезде Х3 — 1/100 часть всего напряжения, поданного на делитель. Так, например, если от переменного резистора R11 «Амплитуда» на делитель подано напряжение 1 В, между гнездами Х4 и Х2 будет 0,1 В (100 мВ), а между Х4 и Х3 — 0,01 В (10 мВ).

Одновременно напряжение с движка резистора R11 подается и на двухполупериодный выпрямитель на точечных диодах V4-V7. В диагональ выпрямительного моста включен (через гасящий резистор R12) микроамперметр РА1, по которому контролируют напряжение на делителе выходного напряжения.

Транзисторы МП41А можно заменить другими низкочастотными р-n-р транзисторами, но их статический коэффициент передачи тока должен быть не менее 60. Диоды V4-V7 — любые из серий Д9 или Д2. Микроамперметр PA1 на ток полного отклонения стрелки не более 300 мА. Сдвоенный блок конденсаторов переменных резисторов R2, R3 типа СП-III. Сопротивление резисторов блока может быть меньше, например 10 кОм, но тогда частота генерируемых колебаний сдвинется в сторону более высоких частот звукового диапазона.

Электролитические конденсаторы С3, С4 и выключатель питания S1 могут быть любых типов. Номинальное сопротивление резистора R12 зависит от имеющегося микроамперметра. Сопротивления резисторов R1, R4 и емкости конденсаторов C1, С2 должны быть возможно одинаковыми, во всяком случае не должны отличаться более чем на 10 %. Отбирай их на измерителе RCL.

Внешний вид возможной конструкции генератора показан на рис. 292.

Рис. 292. Конструкция генератора

Ориентировочные ее размеры 200х150х100 мм. Лицевую панель желательно сделать из листового гетинакса, текстолита или цветного органического стекла толщиной 2–3 мм. На ней размешены блок переменных резисторов с визирной пластинкой и шкалой, выключатель питания (П2К), микроамперметр, переменный резистор R11 «Амплитуда» и выходные гнезда генератора. Резисторы R13-R15 делителя выходного напряжения монтируй непосредственно на гнездах X1-Х4, диоды V4-V7 и резистор R12 на зажимах микроамперметра. Остальные детали можно смонтировать печатным или навесным монтажом на плате подходящих размеров.

Боковые стенки футляра могут быть как металлическими, гак и фанерными — безразлично. Надо только постараться, чтобы внешний вид генератора был опрятным, а конструкция прочной ведь пользоваться этим измерительным при бором будешь, вероятно, не только ты, но и твои товарищи-радиолюбители.

До окончательной сборки генератора тщательно проверь его монтаж по принципиальной схеме. К выходным гнездам подключи головные телефоны, движок переменного резистора R11 «Амплитуда» поставь в верхнее (по схеме) положение, а движок подстрочного резистора R7 в нижнее положение. Если теперь включить питание, то в телефонах услышишь звук, который при вращении ручки блока переменных резисторов должен плавно изменяться от очень низкого до высокого тона. Если звука нет, добивайся его подбором резистора R5 (заменив его временно переменным резистором на 20–30 кОм). Затем сигнал с выхода генератора подай на вход «Y» осциллографа и, наблюдая изображение на экране его электроннолучевой трубки, очень медленно перемещай движок подстроечного резистора R7 вверх (по схеме). При этом в цепь эмиттера транзистора V2 будет подаваться все большее напряжение отрицательной обратной связи, отчего сигнал генератора будет приобретать синусоидальную форму. При чрезмерно глубокой отрицательной обратной связи генерация будет сорвана. Движок подстроечного резистора установи в такое положение, когда сигнал имеет синусоидальную форму и генерация не срывается при изменении частоты. После этого подбором резистора R5 добейся наибольшей амплитуды колебаний и еще раз подстроечным резистором попытайся улучшить синусоиду сигнала.

Градуировать (размечать) шкалу блока переменных резисторов можно по частотомеру, подавая на его вход напряжение генератора, или с помощью осциллографа и заводского генератора колебаний звуковой частоты, например типа ЗГ-10 или ЗГ-11. Во втором случае на вход «Y» вертикального отклонения луча осциллографа подают напряжение от самодельного генератора, на вход «X» горизонтального отклонения луча — напряжение от заводского ЗГ, а равенство частот генераторов определяют по так называемым фигурам Лиссажу, создающимся на экране осциллографа.

Отградуированная шкала твоего прибора будет исходным показателем частот генерируемых им колебаний.

Остается измерить вольтметром переменного тока комбинированного прибора выходное напряжение генератора и подобрать добавочный резистор R12 в цепи микроамперметра, соответствующий этому напряжению. В зависимости от транзисторов, используемых в генераторе, и тщательности подгонки режима их работы максимальное выходное напряжение генератора может составлять 1,2–1,5 В. Резистор R12 подбери такого номинала, чтобы при максимальном переменном напряжении стрелка микроамперметра отклонялась почти на всю шкалу. Сделай на шкале отметки, соответствующие переменным напряжениям 0,25; 0,5 и 1 В на выходе генератора, пользуясь которыми ты будешь регулировать напряжения сигналов, подаваемые на вход проверяемого или налаживаемого усилителя 3Ч.

В заключение — один технологический совет. Дело в том, что блоки сдвоенных переменных резисторов в магазинах радиотоваров бывают очень редко. А без них нельзя построить генератор с плавной регулировкой частоты колебаний. Но аналогичный блок можно сделать самому.

Наиболее простая конструкция такого блока показана на рис. 293.

Рис. 293. Самодельный блок переменных резисторов

Для его изготовления потребуются два переменных резистора, причем один из них должен быть типа ТК (с выключателем), а второй типа СП-I. Номинальные сопротивления резисторов могут быть в пределах 4,7-15 кОм, но совершенно одинаковыми. Они, кроме того, по функциональным характеристикам должны быть одной группы, т. е. оба группы Б или оба группы А. Невыполнение этих требований, предъявляемых к подбираемым переменным резисторам для блока, ведет к сбоям в работе генератора.

У резистора типа ТК удали металлическую крышку с выключателем (они в блоке не пригодятся). Поводок 1 выключателя изогни осторожно так, чтобы его конец стал как бы продолжением оси резистора. У второго резистора укороти ось и на торце пропили ножовкой или надфилем шлиц, в который бы плотно входил конец поводка выключателя первого резистора.

Оба резистора укрепи на П-образном кронштейне 2 из полоски листового металла толщиной 1–1,5 мм, предварительно просверлив в нем отверстия по диаметру резьбовых втулок резисторов. Готовый блок крепи на панели генератора гайкой первого резистора.

Подумай, как еще можно конструктивно объединить два переменных резистора в блок, который можно применить в генераторе сигналов звуковой частоты. Но, повторяю, для устойчивой генерации прибора во всем диапазоне частот оба резистора, подобранные для блока, должны быть с одинаковыми функциональными характеристиками и номинальными сопротивлениями. В готовом блоке вводимые сопротивления резисторов должны изменяться при одинаковых углах поворота их осей. Не скрою, дело это кропотливое, тонкое, но без этого не обойтись.

Футляр законченного генератора покрась нитроэмалью светлого тона или оклей декоративной поливинилхлоридной пленкой.

* * *

Рассказ о радиоизмерительной технике, которая могла бы пополнить твою лабораторию, можно было бы продолжить. Но, полагаю, и на этом можно остановиться. Приборов. описанных в этой беседа, вполне достаточно для грамотного подхода к конструированию как той аппаратуры, о которой я рассказывал ранее, так и той, которая тебя ожидает впереди.

В будущем надо подумать об электронном осциллографе. Его, видимо, придется приобрести — наша промышленность выпускает несколько типов малогабаритных осциллографов, предназначаемых для радиолюбителей. С помощью его ты сможешь не только производить разнообразные электро- и радиотехнические измерения, по и наблюдать и анализировать процессы, происходящие в цепях различной аппаратуры.

Сейчас в науке, технике, на производстве все большее распространение получают измерительные приборы с цифровой индикацией результатов измерения. Цифровые вольтметры, омметры, частотомеры, мультиметры и другие измерительные приборы, создаваемые на базе логических микросхем различных степеней интеграции, широко внедряются и в творчество радиолюбителей. Для тебя подобные приборы станут следующей, более высокой ступенью конструирования измерительной техники.

Более 800 000 книг и аудиокниг! 📚

Получи 2 месяца Литрес Подписки в подарок и наслаждайся неограниченным чтением

ПОЛУЧИТЬ ПОДАРОК