Прибор для регулирования яркости электрического света

Вам, вероятно, не раз приходилось наблюдать, как в зрительных залах некоторых кинотеатров перед началом сеанса медленно угасает свет.

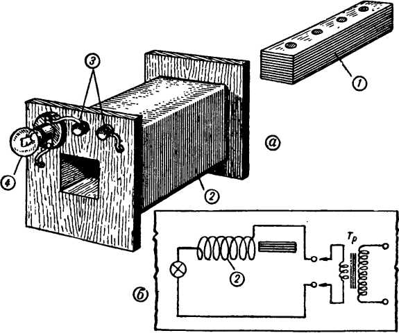
Для этой цели часто применяются жидкостные реостаты, включенные последовательно с электролампочками зрительного зала. Перед началом сеанса реостат медленно выводят из цепи лампочек, уменьшая ток. Для регулирования силы света можно изготовить прибор, состоящий из соленоида и железного сердечника. Его конструкция и схема включения показаны на рисунке 58.

Рис. 58. Устройство прибора для регулирования яркости света (а — общий вид прибора; б — электрическая схема): 1 — сердечник; 2 — катушка; 3 — зажимы; 4 — патрон.

Склейте из фанеры каркас катушки. На одной из дощечек с внешней стороны укрепите два зажима. Намотайте на каркас 550–600 витков обмоточного провода диаметром 0,5–0,7 миллиметра. Присоедините концы от обмотки к зажимам.

Подожмите под зажимы два изолированных проводника для включения соленоида в цепь.

Изготовьте сердечник из полосок кровельного железа или жести. Полоски должны быть одинаковых размеров. Соберите их в пакет толщиной 15 миллиметров и скрепите заклепками в трех-четырех местах.

Возьмите лампочку на 6—12 вольт, мощностью около 20 ватт, изготовьте для нее патрон.

На деревянном основании укрепите патрон, катушку соленоида, розетку — и вы получите прибор для регулирования яркости света.

Яркость свечения лампочки будет изменяться путем введения сердечника внутрь катушки на разную глубину.

Более 800 000 книг и аудиокниг! 📚

Получи 2 месяца Литрес Подписки в подарок и наслаждайся неограниченным чтением

ПОЛУЧИТЬ ПОДАРОК