4.1. Электронный коммутатор

Иванов Б. [12]

Большинство электронных осциллографов являются однолучевыми и позволяют наблюдать на экране форму лишь одного колебания. Но часто возникает желание увидеть одновременно формы двух колебаний, например форму сигнала на входе и выходе какого-либо устройства. Для этого необходим двухлучевой осциллограф. Однако с помощью сравнительно простой приставки однолучевой осциллограф позволяет решить эту задачу. Такой приставкой является электронный коммутатор. Он поочередно подключает на вход усилителя вертикального отклонения каждый из исследуемых сигналов.

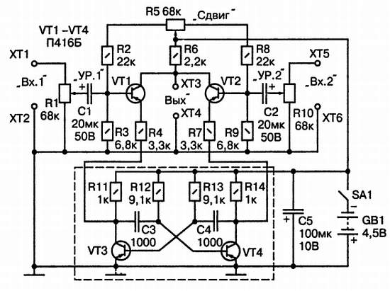
Принципиальная схема электронного коммутатора показана на рис. 17.

Рис. 17. Принципиальная схема электронного коммутатора

Исследуемые сигналы подаются на клеммы «Вх. 1» и «Вх. 2», а сигнал с клемм «Вых.» — на соединитель «Вход У» осциллографа. Переменные резисторы R1 и R10 служат регуляторами уровня входных сигналов, подаваемых на базы коммутирующих транзисторов VT1 и VT2, которые поочередно открываются и запираются импульсами, поступающими в цепи эмиттеров с симметричного мультивибратора. Транзисторы VT1 и VT2 работают на коллекторную нагрузку R6, с которой снимается результирующий сигнал на клеммы «Вых.».

Резисторы R2, R3 и R8, R9 служат для установки режимов коммутирующих транзисторов. Переменный резистор R5 предназначен для сдвига осциллограмм в вертикальном направлении. При симметричной схеме линии разверток обоих сигналов совпадают и их осциллограммы накладываются одна на другую. При вращении резистора R5 симметрия нарушается и одна осциллограмма сдвигается по вертикали вверх, а другая — вниз.

Элементы схемы электронного коммутатора размещаются на печатной плате, показанной на рис. 18. Вместо транзисторов П416Б можно использовать КТ3107Б. При применении КТ3102Б нужно изменить на обратную полярность включения батареи питания и электролитических конденсаторов.

Рис. 18. Чертеж печатной платы электронного коммутатора

Более 800 000 книг и аудиокниг! 📚

Получи 2 месяца Литрес Подписки в подарок и наслаждайся неограниченным чтением

ПОЛУЧИТЬ ПОДАРОК