2.2. Низковольтный радиомикрофон
Цуканов Е. [8]
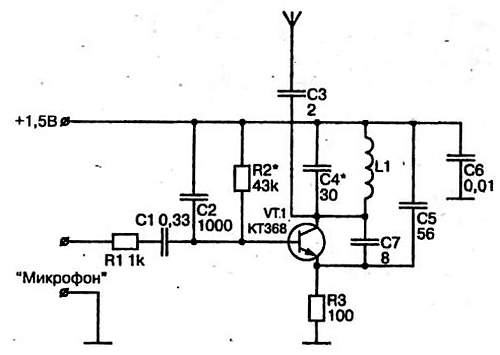
Этот радиомикрофон сохраняет работоспособность при питании напряжением 0,8 В, потребляя ток 0,5 мА, и обеспечивает дальность действия до 50 м. Принципиальная схема радиомикрофона представлена на рис. 11.
Рис. 11. Принципиальная схема низковольтного радиомикрофона
Сигнал с электретного микрофона типа МКЭ-3 через конденсатор С1 подается на базу генераторного транзистора, осуществляя частотную модуляцию. Генератор работает на частоте 94 МГц, устанавливаемой подбором емкости конденсатора С4 и перемещением витков катушки L1, которая наматывается на оправке диаметром 6 мм и содержит 8 витков рядовой намотки проводом ПЭЛ диаметром 0,35 мм.
Более 800 000 книг и аудиокниг! 📚
Получи 2 месяца Литрес Подписки в подарок и наслаждайся неограниченным чтением
ПОЛУЧИТЬ ПОДАРОК
Содержание
История
История
Loading ...
Failed to load data.
{{name}} | {{author}}