7.3. Электронная «кость»

Банников В. [20]

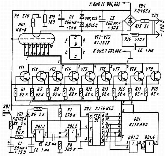
Предлагаемое устройство предназначено для замены игральной кости электронной схемой с цифровой индикацией выпавших очков. Принципиальная схема устройства показана на рис. 26.

Рис. 26. Принципиальная схема игральной «кости»

Задающий импульсный генератор собран на элементах DD1.1, DD1.2. Частота повторения его импульсов определяется напряжением на конденсаторе C1. При нажатии на кнопку SB1 происходит быстрый заряд конденсатора С1 через резистор R2 и запускается генератор, формируя импульсы с частотой повторения около 10 Гц. С вывода 4 DD1.2 импульсы подаются на вход микросхемы DD2 К176ИЕЗ, которая представляет собой счетчик-делитель по модулю 6 с дешифратором для вывода информации на семисегментный индикатор. На выходе дешифратора появляются быстро сменяемые коды, соответствующие числам от 0 до 5, отображаемые цифровым индикатором HG1. Для получения чисел от 1 до 6 установлен дополнительный дешифратор на элементах DD1.3, DD1.4 и транзисторах VT2, VT9. После отпускания кнопки SB1 конденсатор С1 медленно разряжается, частота генератора плавно уменьшается и смена цифр на индикаторе становится все реже и реже, пока колебания не прекратятся. Тогда индикатор отобразит одну из цифр от 1 до 6, которая будет высвечиваться постоянно, пока вновь не будет нажата кнопка SB1.

В качестве HG1 в устройстве использован вакуумный катодолюминесцентный одноразрядный индикатор ИВ-6. Кроме пронумерованных на схеме выводов анодов-сегментов, выводы катода — 7 и 8, вывод сетки — 9. Сигналы с выходов дешифратора подаются на аноды-сегменты через ключи-инверторы на транзисторах VT1-VT9.

Устройство питается от сети с помощью мостового выпрямителя VD4 с гасящим конденсатором С6, рассчитанным на рабочее напряжение не менее 600 В, и параметрическим стабилизатором па стабилитронах VD2, VD3 с выходным напряжением около 24 В. В цепь накала индикатора HG1 включены резисторы R4, R10, образующие делитель напряжения.

Падение напряжения на резисторе R10 используется для питания микросхем и транзисторов устройства. Все элементы устройства находятся под напряжением сети. Поэтому их нужно тщательно изолировать от металлического корпуса.

Более 800 000 книг и аудиокниг! 📚

Получи 2 месяца Литрес Подписки в подарок и наслаждайся неограниченным чтением

ПОЛУЧИТЬ ПОДАРОК