5.3. Автоматический выключатель освещения в подсобных помещениях

Куприянов К. [15]

Принцип работы этого автоматического выключателя отличается от аналогичных тем, что при закрытой двери подсобного помещения и выключенном в нем освещении он не потребляет энергии, так как обесточен.

Принципиальная схема автомата изображена на рис. 18.

Рис. 18. Принципиальная схема автоматического выключателя

Органами коммутации освещения в помещении являются кнопочный переключатель SB1, установленный на дверной коробке, и контакты электромагнитного реле К1. Органом управления служит сенсор — металлическая ручка двери с ее внутренней стороны, соединенная проводником с левым по схеме выводом резистора R1. Положение контактов SB1, показанное на схеме, соответствует открытому состоянию двери. При этом на лампу освещения поступает питание через нормально замкнутую верхнюю пару контактов SB 1.1.

Если закрывать дверь с наружной стороны подсобного помещения, контактами SB1.1 цепь питания лампы обрывается раньше, чем замкнутся контакты. Поэтому осветительная лампа будет погашена, а вся цепь обесточена.

Если же закрывать дверь с внутренней стороны, прикосновение к ручке двери приведет к отпиранию транзистора, его коллекторный ток создаст падение напряжения на резисторе, которым откроется транзистор VT2. В результате сработает реле и контактами К1.1 заблокирует контакты дверного переключателя SB 1.1. Осветительная лампа будет продолжать гореть. Когда дверь закроется, контакты SB 1.1 разомкнутся, a SB1.2 замкнутся, благодаря чему окажется накоротко замкнут транзистор VT1. Через резистор R2 все еще будет протекать ток, отпирающий транзистор VT2, и реле останется сработавшим, контактами К1.1 поддерживая горение осветительной лампы после того, как ручка двери будет отпущена.

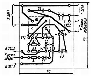
Печатная плата с размещенными на ней элементами схемы показана на рис. 19.

Рис. 19. Печатная плата выключателя с размещением деталей

При налаживании автоматического выключателя следует соблюдать осторожность, поскольку элементы его схемы непосредственно подключены к сети электроснабжения.

Более 800 000 книг и аудиокниг! 📚

Получи 2 месяца Литрес Подписки в подарок и наслаждайся неограниченным чтением

ПОЛУЧИТЬ ПОДАРОК